GM Service Manual Online
For 1990-2009 cars only
Makes
🢒
Cadillac
🢒
2000
🢒
Eldorado
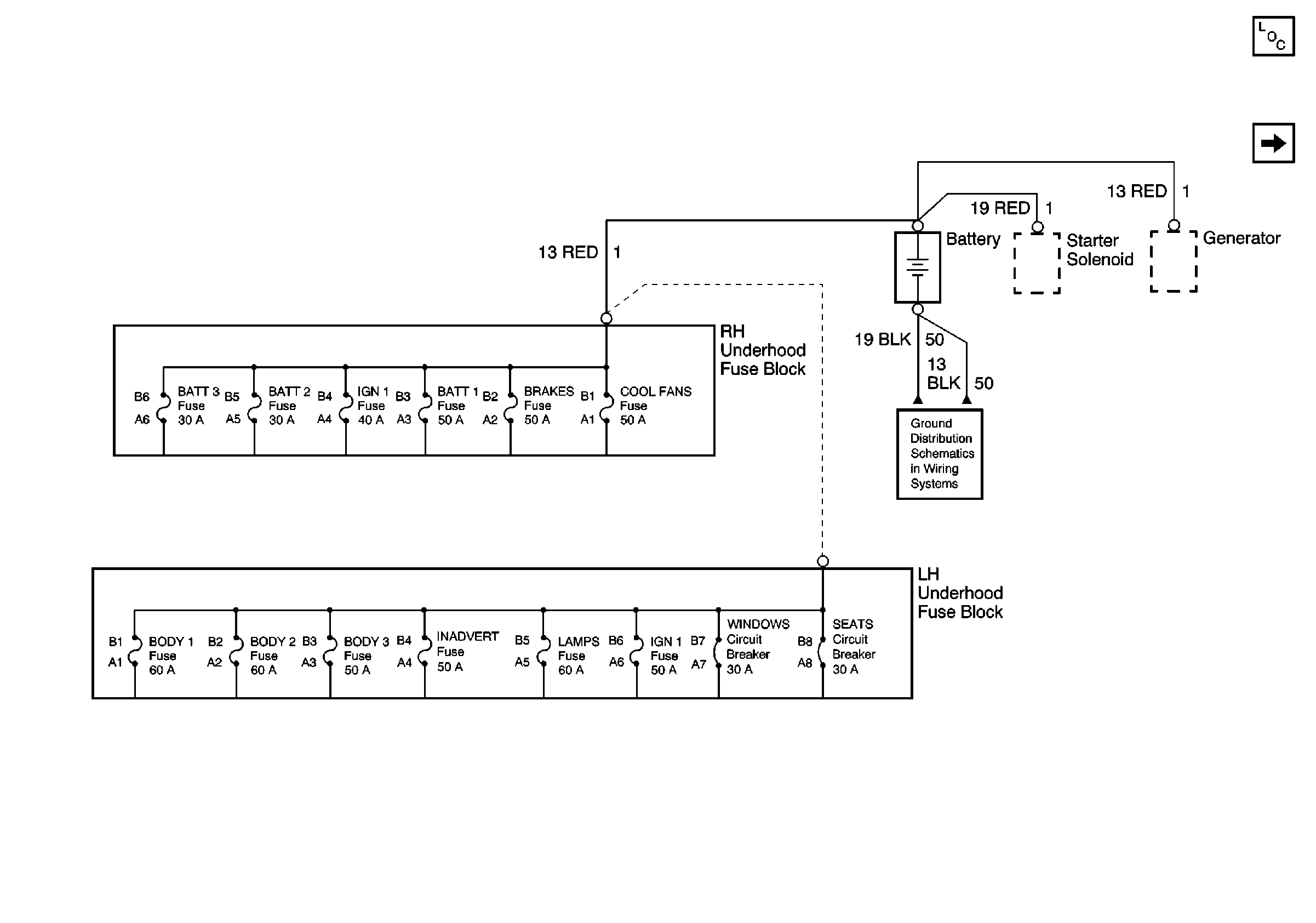
🢒 Battery Feeds
Battery Feeds
Battery Feeds
Power and Grounding Components
BATT 3 Fuse and Ignition Switch (1 of 2)
G100 and G105