GM Service Manual Online
For 1990-2009 cars only
Makes
🢒
Cadillac
🢒
2000
🢒
Eldorado
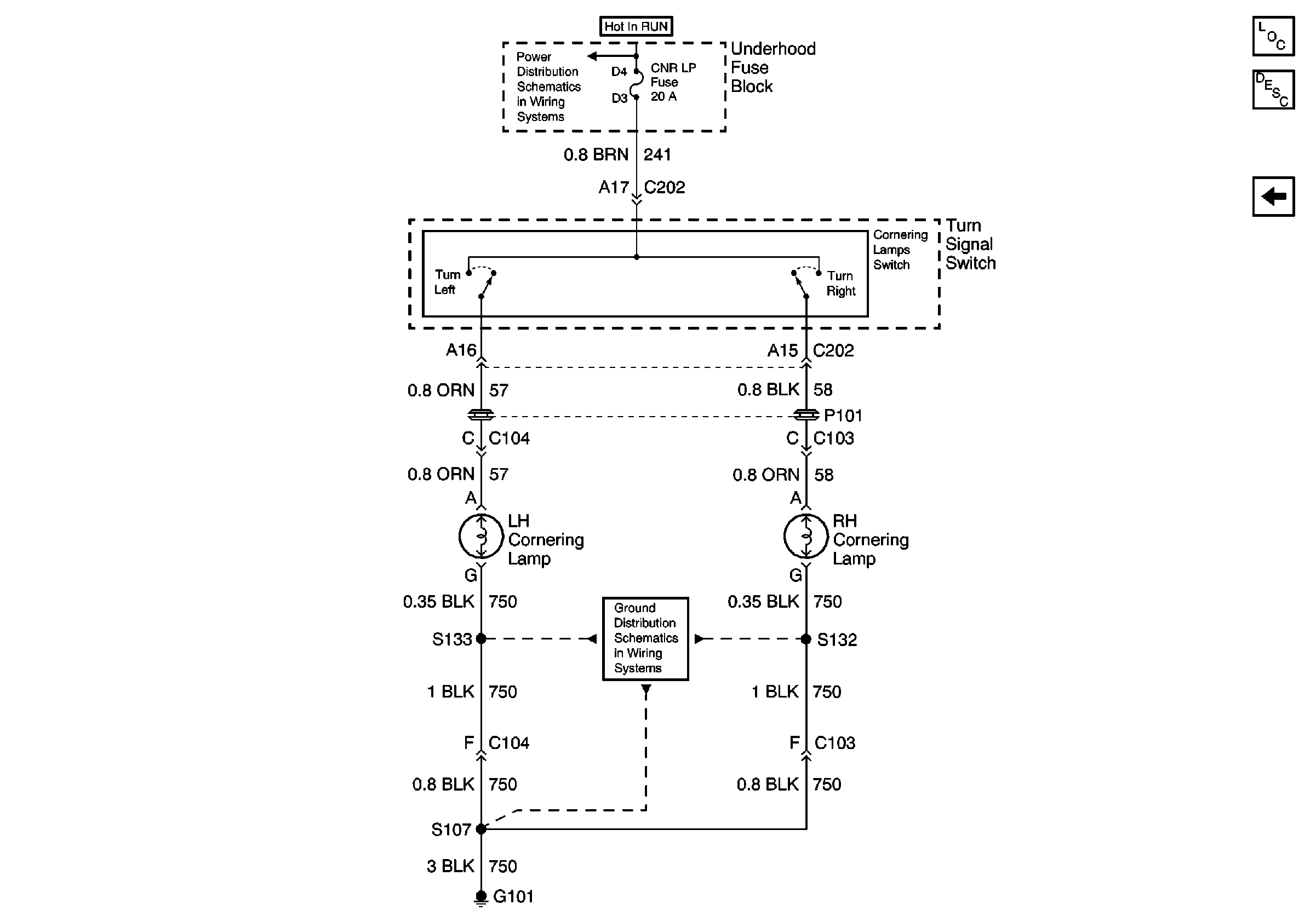
🢒 Cornering Lamps
Cornering Lamps
Cornering Lamps
Lighting Systems Components
Exterior Lights Circuit Description
Turn Lamps
BATT 3 Fuse and Ignition Switch (1 of 2)
G101