GM Service Manual Online
For 1990-2009 cars only
Makes
🢒
Cadillac
🢒
2000
🢒
Eldorado
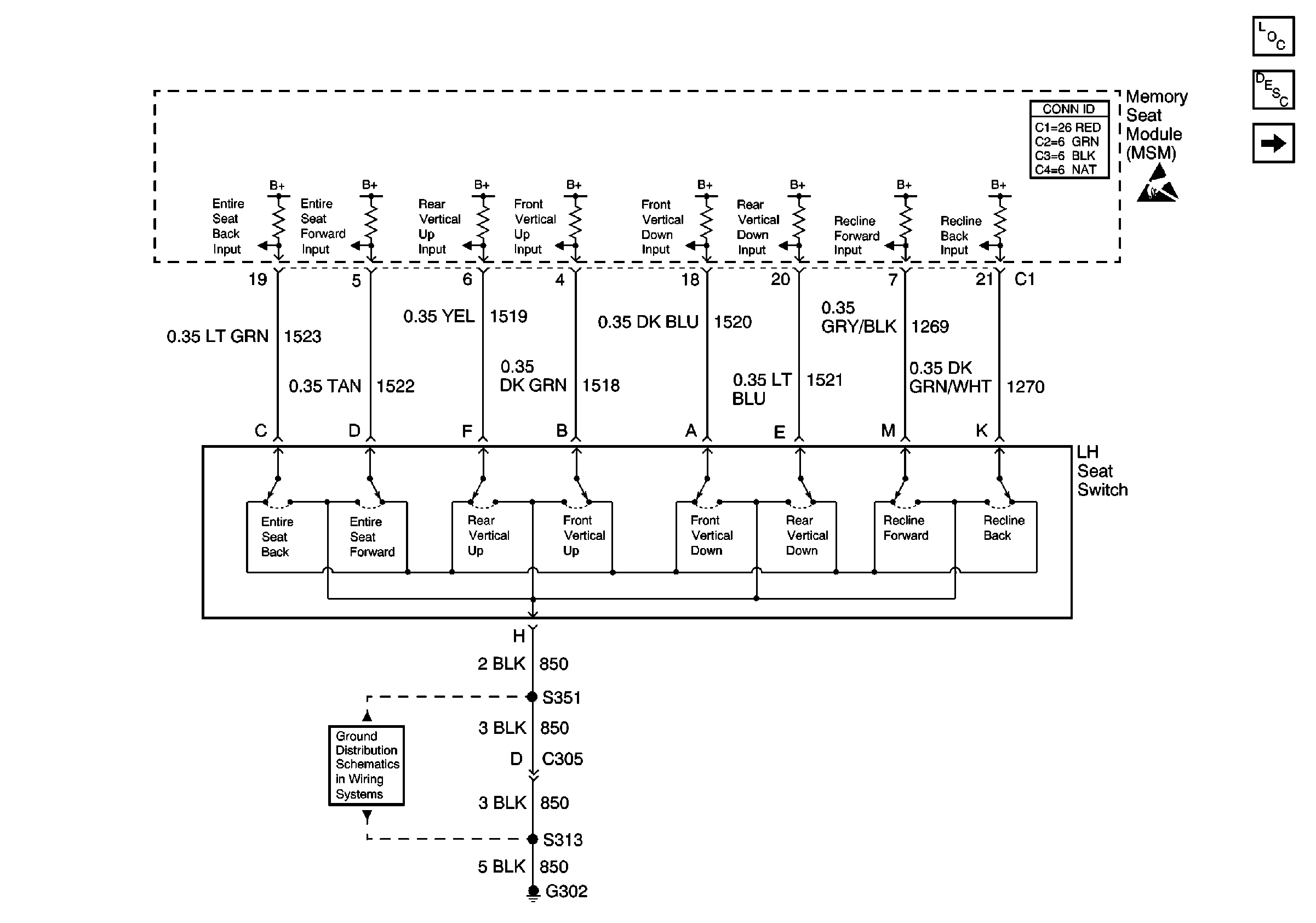
🢒 Left Seat Switch
Left Seat Switch
Left Seat Switch
Power Seat Systems Components
Memory Seat Circuit Description
Seat Front Vertical, Seat Rear Vertical, and Seat Horizontal POSiTion Sensors and Motors
Power Seat Connector End Views
Handling ESD Sensitive Parts Notice
G302 (1 of 2)