GM Service Manual Online
For 1990-2009 cars only
Makes
🢒
Cadillac
🢒
2000
🢒
Eldorado
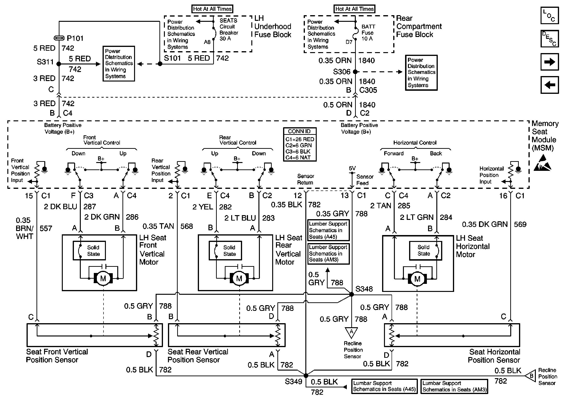
🢒 Seat Front Vertical, Seat Rear Vertical, and Seat Horizontal POSiTion Sensors and Motors
Seat Front Vertical, Seat Rear Vertical, and Seat Horizontal POSiTion Sensors and Motors
Seat Front Vertical, Seat Rear Vertical, and Seat Horizontal Position Sensors and Motors
Power Seat Systems Components
Memory Seat Circuit Description
Memory Seat Module, Seat Recline Position Sensor and Motor
Left Seat Switch
SEATS Circuit Breaker
BATT Fuse
Left Power Lumbar (AL2 with A45)
Memory Seat Module, Seat Recline Position Sensor and Motor
Left Lumbar Massage Motors and Sensors
Memory Seat Module, Seat Recline Position Sensor and Motor
Handling ESD Sensitive Parts Notice
SEATS Circuit Breaker
BATT Fuse
Power Seat Connector End Views
Left Power Lumbar (AL2 with A45)
Left Lumbar Massage Motors and Sensors