GM Service Manual Online
For 1990-2009 cars only
Makes
🢒
Cadillac
🢒
2000
🢒
Eldorado
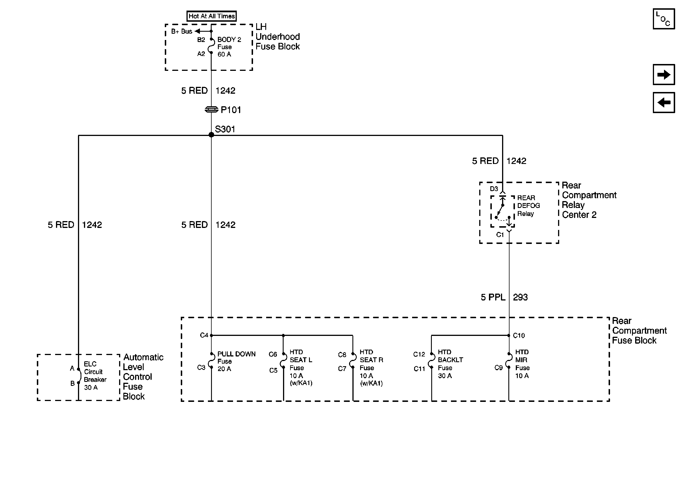
🢒 BODY 2 Fuse
BODY 2 Fuse
BODY 2 Fuse
Power and Grounding Components
BODY 3 and INADVERT Fuses
BODY 1 Fuse
Battery Feeds