GM Service Manual Online
For 1990-2009 cars only

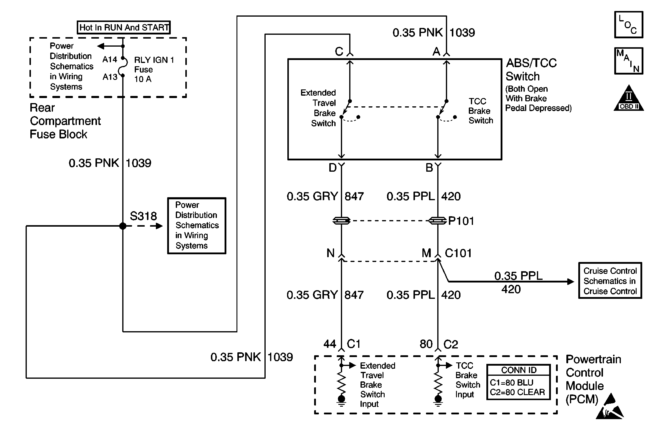
Object Number: 602140  Size: MF
Engine Controls Component Views
ABS/TCC Switch and Transaxle Solenoids
OBD II Symbol Description Notice
Handling ESD Sensitive Parts Notice

Circuit Description

The extended travel brake switch is a normally closed switch. With the brake pedal NOT applied, the PCM should detect a high signal voltage on the extended travel brake switch circuit. With the brakes applied, the PCM compares the extended travel brake switch input to the TCC and/or Stoplamp switch input. If a signal transition occurs on the TCC and/or Stoplamp switches without a transition on the extended travel brake switch, DTC P1575 will set.

Conditions for Running the DTC

    • Engine Speed is greater than 500 RPM.
    • No VSS, TCC brake switch, Stoplamp brake switch, or EBCM Serial Data DTCs are set.
    •  Traction control and antilock brake systems have not failed
    •  Traction control and antilock brake systems are not active.
    • VSS achieves 32 km/h (20 mph) and remains above 5 km/h (3 mph).
    • The difference in speed between the driven wheels and the non-driven wheels is less than 10 km/h (6 mph).

Conditions for Setting the DTC

The PCM detects a transition on the TCC and/or stoplamp switches without a transition on the extended travel brake switch

Action Taken When the DTC Sets

    • The PCM will not illuminate the malfunction indicator lamp (MIL).
    •  PCM disables cruise control.
    • The PCM will store conditions which were present when the DTC set as Failure Records only.

Conditions for Clearing the DTC

    • The PCM will request that the message be turned OFF after one diagnostic test has been run and passed.
    • The History DTC will be cleared after 40 consecutive warm-up cycles have occurred without a malfunction.
    • The DTC can be cleared by using the scan tool Clear DTC Information function.

Diagnostic Aids

If the condition is intermittent, refer to Intermittent Conditions in Symptoms.

Step

Action

Value(s)

Yes

No

1

Did you perform the Powertrain On Board Diagnostic (OBD) System Check?

--

Go to Step 2

Go to Powertrain On Board Diagnostic (OBD) System Check

2

  1. Turn ON the ignition, with the engine OFF.
  2. With the scan tool, observe the Extended Travel Brake display.

Does the scan tool display indicate Released?

--

Go to Step 3

Go to Step 6

3

Depress the brake pedal approximately half-way.

Does the scan tool display indicate Applied?

--

Go to Diagnostic Aids

Go to Step 4

4

Disconnect the extended travel brake switch connector.

Does the scan tool display indicate Applied?

--

Go to Step 14

Go to Step 5

5

Test for a short to voltage on the extended travel brake switch signal circuit.

Did you find and correct the condition?

--

Go to Step 17

Go to Step 16

6

With a scan tool, observe the TCC brake switch display.

Does the scan tool display indicate Released?

--

Go to Step 7

Go to Step 11

7

  1. Disconnect the extended travel brake switch connector.
  2. Test for an open ignition supply voltage circuit to the extended travel brake switch.

Did you find and correct the condition?

--

Go to Step 17

Go to Step 8

8

  1. Jumper the ignition supply voltage circuit to the extended travel brake switch signal circuit at the extended travel brake switch harness connector.
  2. With a scan tool, observe the extended travel brake switch display.

Does the scan tool indicate Released?

--

Go to Step 9

Go to Step 10

9

Inspect for poor connections at the TCC/extended travel brake switch.

Did you find and correct the condition?

--

Go to Step 17

Go to Step 14

10

Test for the following conditions:

    • Open extended travel brake switch signal circuit
    • Poor connections at the PCM

Did you find and correct the condition?

--

Go to Step 17

Go to Step 16

11

Inspect the Rly IGN 1 for an open fuse.

Is the fuse open?

--

Go to Step 12

Go to Step 13

12

  1. Test for a short to ground in the following circuits:
  2. • Ignition feed circuit to the TCC/extended travel brake switch
    • extended travel brake switch Input circuit
    • TCC brake switch Input circuit
  3. If a condition is found, be sure to replace the fuse.

Did you find and correct the condition?

--

Go to Step 17

Go to Diagnostic Aids

13

Test for an open in the ignition feed circuit to the TCC/extended travel brake switch assembly.

Did you find and correct the condition?

--

Go to Step 17

Go to Step 14

14

Test for proper TCC/extended travel brake switch adjustment.

Did the switch require adjustment?

--

Go to Step 17

Go to Step 15

15

Replace the TCC/extended travel brake switch.

Is the action complete?

--

Go to Step 17

--

16

Important: The replacement PCM must be programmed. Refer to Powertrain Control Module Replacement/Programming .

Replace the PCM.

Is action complete?

--

Go to Step 17

--

17

  1. Review and record the scan tool Fail Records Information.
  2. Clear the DTC(s).
  3. Operate the vehicle within the Conditions for Running the DTC.
  4. With the scan tool, monitor the Specific DTC Information for DTC P1575 until the test runs.

Does the scan tool indicate that DTC P1575 passed?

--

System OK

Go to Step 2