GM Service Manual Online
For 1990-2009 cars only

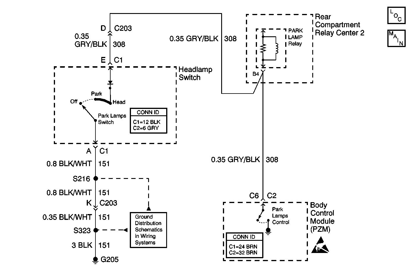
Object Number: 590359  Size: MF
Lighting Systems Components
Headlamp Switch and Headlamp Control
G205
Handling ESD Sensitive Parts Notice

Circuit Description

The PZM may command the park lamps through a discrete output to the park lamp relay. Grounding this output also grounds the park lamps input to the instrument cluster.

A short to ground is tested for under the following conditions:

    • Exterior lamp power is inactive.
    • Parklamp output is active.
    • Headlamp switch is not active.
    • DTC B1970 is not current.

A short to battery is tested for under the following conditions:

    • Exterior lamp power is active.
    • Parklamp output is active.
    • DTC B1970 is not current.

Conditions for Setting the DTC

The commanded state of the park lamps does not match the feedback state.

Action Taken When the DTC Sets

The PZM continues to command the state requested until the instrument cluster revokes the request.

DTC Will Clear When

The feedback state matches the commanded state.

When the measurements are requested in the diagnostic table below, use the J 39200 Digital Multimeter (DMM) with the correct terminal adapter from the J 35616 .

When a proper connection is requested, refer to Testing for Intermittent Conditions and Poor Connections in Wiring Systems.

When a wire, connector or terminal repair is requested, use the J-38125 . Refer to Wiring Repairs in Wiring Systems.

Step

Action

Value(s)

Yes

No

1

Did you perform the Lighting System Diagnostic System Check?

--

Go to Step 2

Go to Diagnostic System Check - Lighting Systems

2

  1. Connect the scan tool .
  2. Turn the ignition switch to the ON position.
  3. Turn the headlamp switch to the OFF position.
  4. Set the scan tool to BCM TEST, LIGHTS, PARK LAMPS.
  5. Use a scan tool in order to switch the park lamps ON then OFF.

Are the park lamps OFF?

--

Go to Step 3

Go to Step 4

3

Turn the headlamp switch ON.

Are the park lamps on?

--

Go to Step 5

Go to Step 6

4

  1. Disconnect connector C203.
  2. Use the scan tool in order to command the park lamps OFF.

Are the park lamps OFF?

--

Go to Step 7

Go to Step 8

5

Cycle the ignition.

Is DTC B2476 now history?

--

Go to Step 12

Go to Step 11

6

Inspect for an open in CKT 308 (GRY/BLK) between connector C203 and the park lamp relay. Refer to Testing for Continuity in Wiring Systems.

Is CKT 308 OK?

--

Go to Step 15

Go to Step 16

7

  1. Disconnect the headlamp switch.
  2. Measure the resistance from the headlamp switch connector C1 terminal E (GRY/BLK) to connector C1 terminal A.

Is the resistance less than or equal to the specified value?

5 ohms

Go to Step 10

Go to Step 9

8

Inspect for a short to ground in CKT 308 (GRY/BLK). Refer to Testing for Short to Ground in Wiring Systems.

Is CKT 308 OK?

--

Go to Step 14

Go to Step 16

9

Repair the short to ground in CKT 308 (GRY/BLK) between C203 and Headlamp Switch. Refer to Wiring Repairs in Wiring Systems.

--

Go to Step 17

--

10

Replace the headlamp switch. Refer to Headlamp Switch Replacement in Instrument Panel, Gauges and Console.

Is the repair complete?

--

Go to Step 17

--

11

Inspect for an open in CKT 308 (GRY/BLK). Refer to Testing for Continuity in Wiring Systems.

Is CKT 308 OK?

--

Go to Step 14

Go to Step 16

12

Repair the intermittent short to B+ in CKT 308 (GRY/BLK). Refer to Wiring Repairs in Wiring Systems.

Is the repair complete?

--

Go to Step 17

--

13

Replace the park lamp relay.

Is the repair complete?

--

Go to Step 17

--

14

Replace the PZM. Refer to Body Control Module Replacement in Body Control Systems.

Is the repair complete?

--

Go to Step 17

--

15

Inspect for an open in CKT 352 (WHT) between the PZM connector C2 terminal C16 and the park lamp relay. Refer to Testing for Continuity in Wiring Systems.

Is CKT 352 OK?

--

Go to Step 13

Go to Step 16

16

Repair the suspect wiring. Refer to Wiring Repairs in Wiring Systems.

Is the repair complete?

--

Go to Step 17

--

17

  1. Use the scan tool in order to clear the DTCs.
  2. Operate the vehicle within the Conditions for Running the DTC as specified in the supporting text.

Does the DTC reset?

--

Go to Step 2

System OK.