GM Service Manual Online
For 1990-2009 cars only

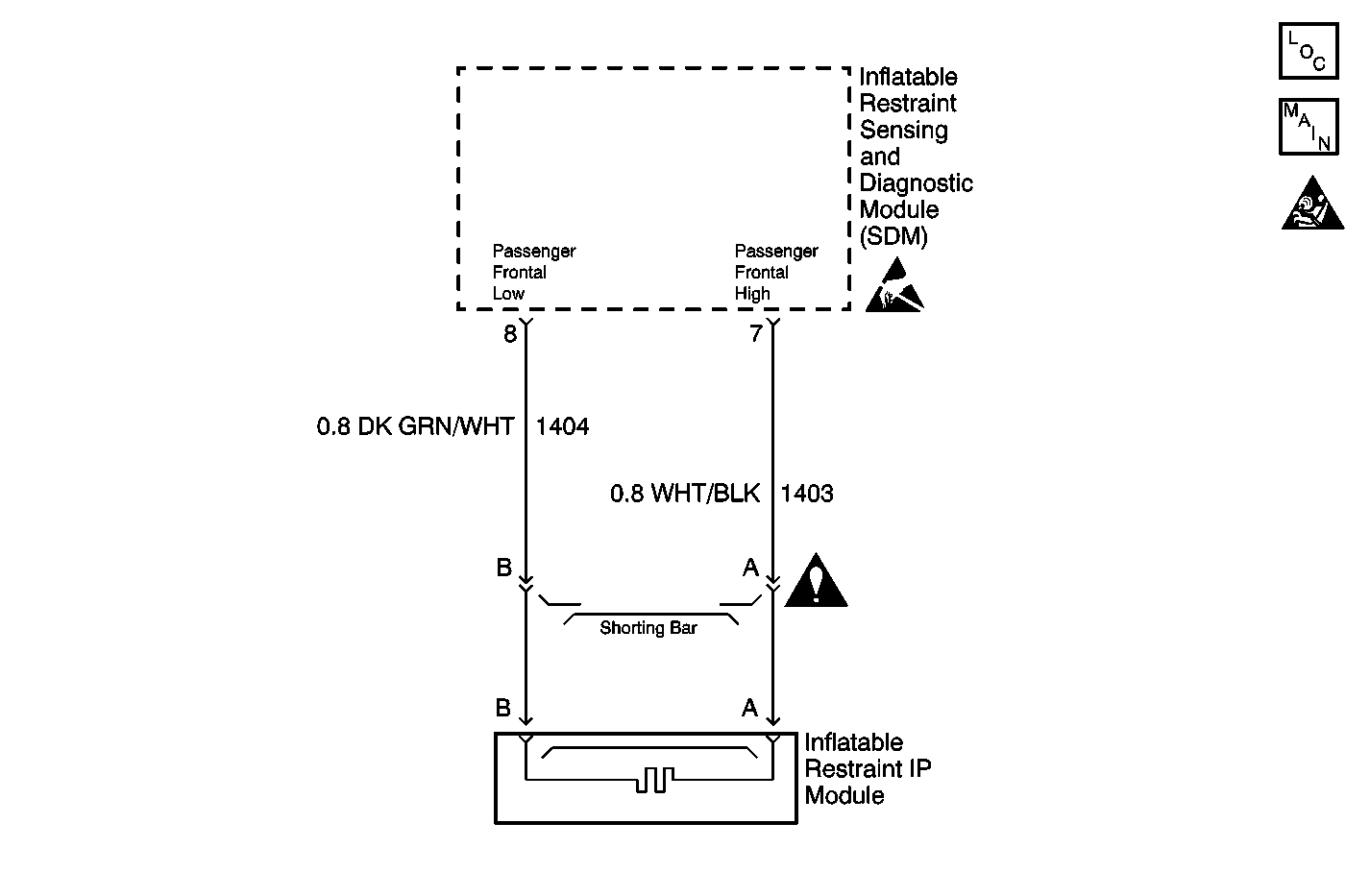
Object Number: 585653  Size: MF
SIR Components
SIR Schematics
SIR Handling Caution
Handling ESD Sensitive Parts Notice
SIR Schematic Icons

Circuit Description

When you first turn ON the ignition, the inflatable restraint sensing and diagnostic module (SDM) performs tests to diagnose critical malfunctions within itself. Then the SDM proceeds with the resistance measurement test. During one portion of the resistance measurement test, the SDM does the following:

    • Grounds the passenger frontal low terminal through an internal current sink.
    • Connects the passenger frontal high terminal to an internal constant current source. This current produces proportional voltage drops in the deployment loop.
    • Measures the voltage difference between passenger frontal high and low circuits.
    • Calculates the resistance of the passenger frontal deployment loop using the measured voltage.

Conditions for Running the DTC

    • Ignition 1 voltage is within the normal operating voltage range.
    • Passenger frontal deployment loop is not open.
    • Passenger frontal deployment loop is not shorted to voltage.
    • Passenger frontal deployment loop is not shorted to ground.

Conditions for Setting the DTC

Passenger frontal deployment loop resistance is less than 1.4 ohms for 500 milliseconds.

Action Taken When the DTC Sets

The SDM commands ON the AIR BAG warning lamp via Class 2 serial data.

Conditions for Clearing the DTC

    • The resistance of the passenger frontal deployment loop is greater than or equal to 1.4 ohms for 500 milliseconds.
    • You can issue a CLEAR CODES command
    • A history DTC will clear once 250 malfunction free ignition cycles have occurred

When you issue a scan tool CLEAR CODES command and the malfunction is still present, the DTC will not reappear until the next ignition cycle.

Diagnostic Aids

The following can cause an intermittent condition:

    • A short between the passenger frontal high and the passenger frontal low circuits.
    • A malfunctioning shorting bar on the inflatable restraint IP module connector.

If any of the above conditions are found refer to Testing for Intermittent Conditions and Poor Connections in Wiring Systems.

Test Description

The numbers below refer to the step numbers on the diagnostic table:

  1. This test checks for proper contact or corrosion of the inflatable restraint IP/passenger module connector.

  2. This step checks for malfunction inflatable restraint IP inflator module.

  3. This step determines if there is a short between passenger frontal high and low deployment circuits or if there is a malfunctioning SDM.

  4. This step replaces the SDM.

Step

Action

Value(s)

Yes

No

1

Did you perform the Diagnostic System Check?

--

Go to Step 2

Go to Diagnostic System Check - SIR

2

  1. Turn OFF the ignition.
  2. Disconnect inflatable restraint IP/passenger inflator module in-line connector.
  3. Inspect the wiring harness in-line connector for the following conditions:
  4. • Corrosion
    • Terminal damaged
    • Poor connections/terminal tension
  5. If any of the above conditions are found refer to Testing for Intermittent Conditions and Poor Connections in Wiring Systems.

Does connector exhibits any signs of corrosion, terminal damaged, or poor connections?

--

Go to Step 3

Go to Step 4

3

Replace the wiring harness side of in-line connector. Refer to Connector Repairs in Wiring Systems.

Did you complete the replacement?

--

Go to Step 10

--

4

  1. Reconnect inflatable restraint IP module in-line connector.
  2. Verify that the connector position assurance (CPA) is properly installed.
  3. Turn ON the ignition, with the engine OFF.
  4. Use the scan tool to request SIR DTCs displayed.

Does the scan tool indicate that this DTC is current?

--

Go to Step 5

Go to Diagnostic Aids

5

  1. Turn OFF the ignition.
  2. Disconnect in-line connector.
  3. Install the J 38715-A SIR Load Tool to the wiring harness side in-line connector. Use appropriate connector adaptors where necessary.
  4. Turn ON the ignition, with the engine OFF.
  5. Use the scan tool to request SIR DTCs displayed.

Does the scan tool indicate that this DTC is current?

--

Go to Step 7

Go to Step 6

6

Replace the inflatable restraint IP module. Refer to Inflatable Restraint Instrument Panel Module Replacement .

Did you complete the replacement?

--

Go to Step 10

--

7

  1. Turn OFF the ignition.
  2. Remove the J 38715-A .
  3. Disconnect the inflatable restraint sensing and diagnostic module (SDM). Refer to Inflatable Restraint Sensing and Diagnostic Module Replacement .
  4. Use the J 39200 DMM and measure the resistance the passenger frontal high and passenger frontal low circuits on the SDM connector.

Does the resistance measure less than the specified value?

OL

Go to Step 8

Go to Step 9

8

Locate and repair the short between high and low deployment circuits. Refer to Circuit Testing and Wiring Repairs in Wiring Systems.

Did you complete the repair?

--

Go to Step 10

--

9

Replace the SDM. Refer to Inflatable Restraint Sensing and Diagnostic Module Replacement .

Did you complete the replacement?

--

Go to Step 10

--

10

  1. Reconnect all SIR components.
  2. Verify that all components, connectors and CPAs are properly mounted.
  3. Use the scan tool in order to Clear the DTCs.
  4. Operate the vehicle within the Conditions for Running the DTC as specified in the supporting text.

Did you complete the action?

--

Go to Diagnostic System Check - SIR

--