GM Service Manual Online
For 1990-2009 cars only

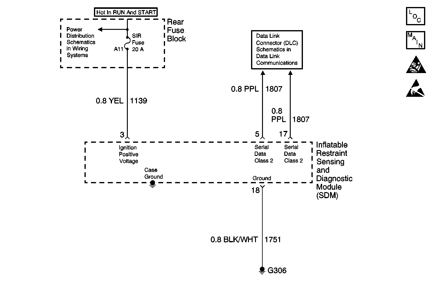
Object Number: 585666  Size: MF
SIR Components
SIR Schematics
SIR Handling Caution
Handling ESD Sensitive Parts Notice
Data Link Connector Schematics
SIR, RSS, and TURN Fuses

Circuit Description

When you first turn ON the ignition, the inflatable restraint sensing and diagnostic module (SDM) performs tests to diagnose critical malfunctions within itself. Then SDM learns the soure ID of the battery voltage report message. The SDM monitors this message every 300 milliseconds to determine if it is within a valid operating range.

Conditions for Running the DTC

The SDM monitors the Class 2 serial data line during the continuous monitoring for the battery voltage, the voltage must stay within the normal operating voltage range (9.5 volts-15.5 volts).

Conditions for Setting the DTC

The ignition positive voltage level is less than 9.5 volts for approximately 1.2 seconds or more.

Action Taken When the DTC Sets

The SDM sets a DTC and disables the following State of Health (SOH) DTCs:

    • DTC U1096
    • DTC U1255
    • DTC U1300
    • DTC U1301

The SDM will not command the AIR BAG warning lamp ON for this DTC.

Conditions for Clearing the DTC

    • The battery positive voltage level is greater than 9.5 volts for approximately 1.2 seconds.
    • You can issue a CLEAR CODES command

Diagnostic Aids

The SDM will not check for low ignition positive voltage during and for 2 seconds following the engine START mode. This ensures that DTC will not erroneously set.

Test Description

The numbers below refer to the step numbers on the diagnostic table:

  1. Perform the SIR Diagnostic System Check before continuing with the diagnosis of this DTC.

  2. This test checks for proper voltage being recieve by the SDM.

  3. This test checks whether the malfunction is in the charging system or the SDM.

Step

Action

Value(s)

Yes

No

1

Did you perform the Diagnostic System Check?

--

Go to Step 2

Go to Diagnostic System Check - SIR

2

  1. Start the engine.
  2. Use the scan tool to request the SIR data list display.
  3. With a scan tool, observe the ignition voltage parameter in the SIR data list.

Does the scan tool indicate that the voltage measure is greater than the specified value?

9.5 V

Go to Step 4

Go to Step 3

3

  1. Turn OFF the ignition.
  2. Disconnect the inflatable restraint sensing and diagnostic module (SDM) harness connector. Refer to Inflatable Restraint Sensing and Diagnostic Module Replacement .
  3. Start the engine.
  4. Use the J 39200 DMM and measure the voltage between postive ignition voltage of SDM harness connector and a known good ground.

Does the voltage measure less than the specified value?

9.5 V

Go to Diagnostic System Check - Engine Electrical in Engine Electrical

Go to Step 4

4

Replace the SDM. Refer to Inflatable Restraint Sensing and Diagnostic Module Replacement .

Did you complete the replacement?

--

Go to Step 5

--

5

  1. Reconnect all SIR compontents.
  2. Verify that all components, connectors and CPAs are properly mounted.
  3. Use the scan tool in order to Clear the DTCs.
  4. Operate the vehicle within the Conditions for Running the DTC as specified in the supporting text.

Did you complete the action?

--

Go to Diagnostic System Check - SIR

--