GM Service Manual Online
For 1990-2009 cars only

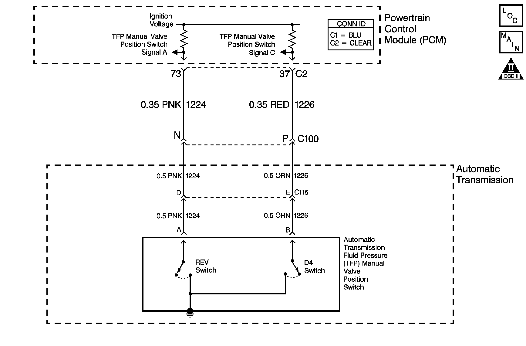
Object Number: 703158  Size: MF
Master Electrical Component List
Automatic Transmission Controls Schematics
OBD II Symbol Description Notice

Circuit Description

The automatic transmission fluid pressure (TFP) manual valve position switch consists of two normally-open pressure switches. The assembly is attached to the lower control valve body.

The PCM supplies ignition voltage on the two range signal circuits, signal circuit A and signal circuit C. By grounding one of the switches with fluid pressure from the manual valve, the PCM detects a garage shift from PARK/NEUTRAL to REVERSE or DRIVE (D1, D2, D3, or D4). Refer to the Transmission Fluid Pressure Manual Valve Position Switch Logic table. This information is used by the PCM in order to adjust line pressure during garage shifts.

If one of the following conditions occur, garage shifts may become harsh:

    • An open signal circuit
    • A signal circuit shorted to ground
    • A damaged or leaking pressure switch seal
    • Sediment or debris in a pressure switch
    • Damaged or stuck pressure switch contacts

Test Description

The numbers below refer to the step numbers on the diagnostic table.

  1. This step tests the indicated range signal to the manual valve range actually selected.

  2. This step tests for correct voltage from the PCM.

TFP Manual Valve Position Switch Assembly Circuit Malfunction

Step

Action

Value(s)

Yes

No

1

Did you perform the Transmission Fluid Checking Procedure?

--

Go to Step 2

Go to Transmission Fluid Check

2

  1. Install a Scan Tool .
  2. Start the engine and idle at the normal operating temperature.
  3. Select TFP Sw. on the scan tool.
  4. Apply the brake pedal.
  5. Select the following transmission ranges: Park, Reverse, Neutral, and Drive (D1, D2, D3 or D4).

Does each selected transmission range match the scan tool TFP Sw. display?

--

Go to Intermittent Conditions

Go to Step 3

3

  1. Turn OFF the ignition.
  2. Disconnect the AT inline 20-way connector. Additional DTCs may set.
  3. Turn ON the ignition, with the engine OFF.

Does the scan tool TFP Sw. Sig. A/Sig. C parameter indicate HI for both range states?

--

Go to Step 4

Go to Step 6

4

  1. Turn OFF the ignition.
  2. Install the J 44152 jumper harness (20 pins) on the engine side of the AT inline 20-way connector.
  3. Turn ON the ignition, with the engine OFF.
  4. Using the J 39200 digital multimeter (DMM) and the J 35616 connector test adapter kit, measure the voltage from terminal N of the J 44152 to ground.
  5. Refer to Automatic Transmission Inline Harness Connector End View .

  6. Measure the voltage from terminal P of the J 44152 to ground.

Does the voltage measure ignition voltage at both terminals?

--

Go to Step 5

Go to Step 7

5

Connect a fused jumper wire from terminal N of the J 44152 (signal A circuit) to ground while monitoring the scan tool TFP Sw. Sig. A/Sig. C parameter.

Refer to Automatic Transmission Inline Harness Connector End View .

When the signal A circuit (CKT 1224) is grounded, does the signal B circuit (CKT 1226) indicate LOW?

--

Go to Step 8

Go to Step 9

6

Test the signal circuit(s) (CKT(s) 1224, and/or 1226) of the TFP manual valve position switch which did not indicate HI for a short to ground between PCM connector C2 and the AT inline 20-way connector.

Refer to Circuit Testing and Wiring Repairs in Wiring Systems.

Did you find and correct a condition?

--

Go to Step 13

Go to Step 12

7

Test the signal circuit(s) (CKT(s) 1224, and/or 1226) of the TFP manual valve position switch which did not indicate ignition voltage for an open between PCM connector C2 and the AT inline 20-way connector.

Refer to Circuit Testing and Wiring Repairs in Wiring Systems.

Did you find and correct a condition?

--

Go to Step 13

Go to Step 12

8

Test the signal circuits (CKTs 1224 and 1226) of the TFP manual valve position switch for a shorted together condition between PCM connector C2 and the AT inline 20-way connector.

Refer to Circuit Testing and Wiring Repairs in Wiring Systems.

Did you find and correct the condition?

--

Go to Step 13

Go to Step 12

9

Test the signal circuits (CKTs 1224 and 1226) of the TFP manual valve position switch for an open or shorted condition between the AT inline 20-way connector and the TFP manual valve position switch.

Refer to Circuit Testing in Wiring Systems.

Did you find a condition?

--

Go to Step 10

Go to Step 11

10

Important: The automatic transmission wiring harness consists of two separate harnesses, the Automatic Transmission Wiring Harness Assembly (GM P/N 15320475) and the Automatic Transmission Wiring Extension Harness Assembly (GM P/N 15320478). In order to avoid the unnecessary replacement of parts, determine which harness contains the fault and replace only that harness.

Replace the automatic transmission wiring harness.

Refer to Transmission Overhaul in Transmission Unit Repair Manual.

Did you complete the replacement?

--

Go to Step 13

--

11

Replace the TFP manual valve position switch.

Refer to Transmission Overhaul in Transmission Unit Repair Manual.

Did you complete the replacement?

--

Go to Step 13

--

12

Replace the PCM.

Refer to Powertrain Control Module Replacement in Engine Controls.

Is the replacement complete?

--

Go to Step 13

--

13

Perform the following procedure in order to verify the repair:

  1. Start the engine and idle at the normal operating temperature.
  2. Select TFP Sw. on the scan tool.
  3. Apply the brake pedal.
  4. Select the following transmission ranges: Park, Reverse, Neutral, and Drive (D1, D2, D3, or D4).

Does each selected transmission range match the scan tool TFP Sw. display?

--

System OK

Go to Step 1