GM Service Manual Online
For 1990-2009 cars only
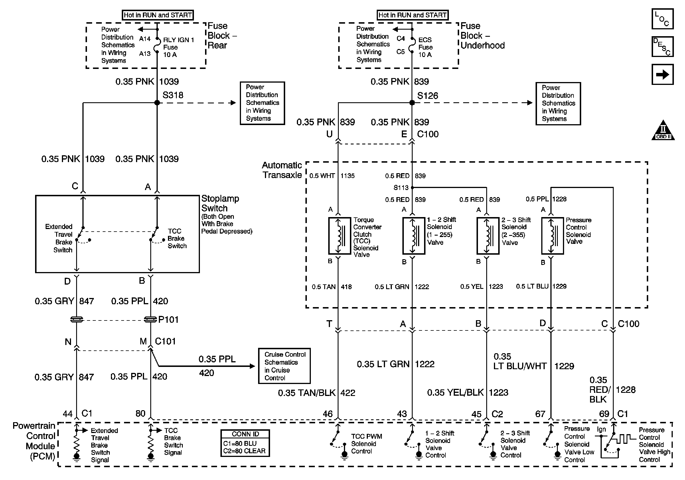
Figure 1:

Stop Lamp Switch and Automatic Transaxle Solenoids


Object Number: 714729  Size: FS
Master Electrical Component List
OBD II Symbol Description Notice
LAMPS and IGN 1 Fuses
BATT 2 Fuse and Ignition Switch (2 of 2)
RLY IGN 1 Fuse
OXY SEN 1, OXY SEN 2, FUEL PUMP, ECS Fuses and FUEL PUMP Relay
Cruise Control Multifunction Lever
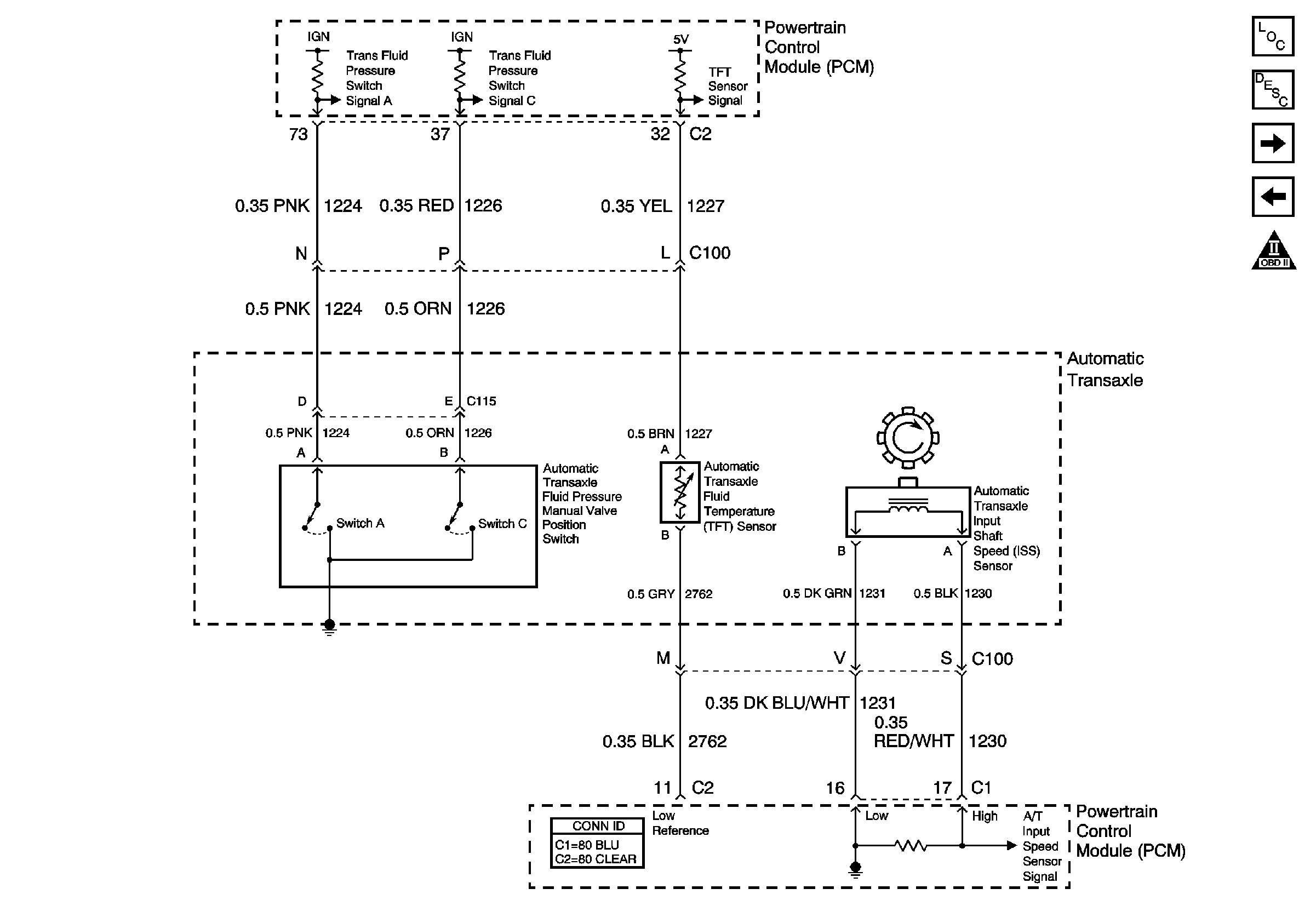
Transaxle Sensors and TR Switch
Figure 2:

Automatic Transaxle Sensors


Object Number: 714710  Size: FS
Master Electrical Component List
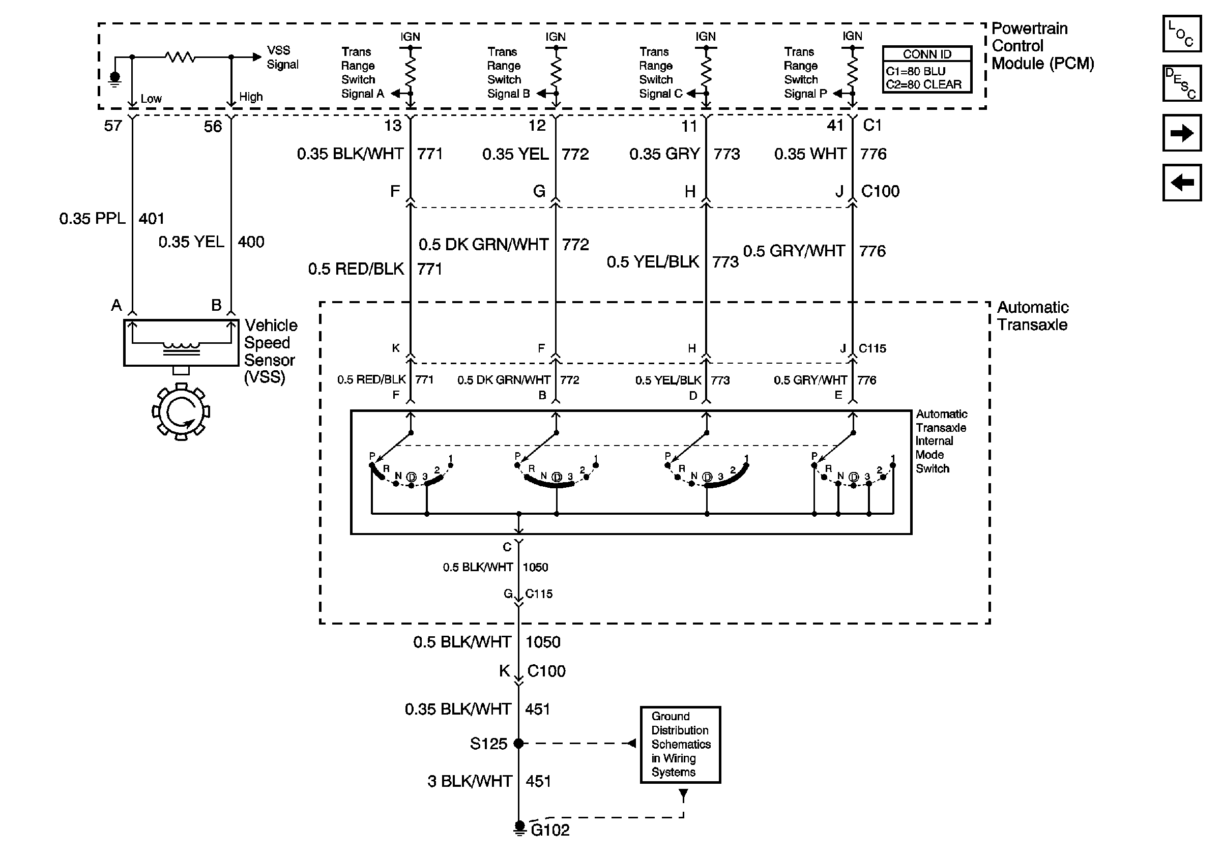
Park/Neutral Position Switch and VSS
ABS/TCC Switch and Transaxle Solenoids
OBD II Symbol Description Notice
Figure 3:

Transmission Internal Mode Switch Signals and VSS


Object Number: 714717  Size: FS
Master Electrical Component List
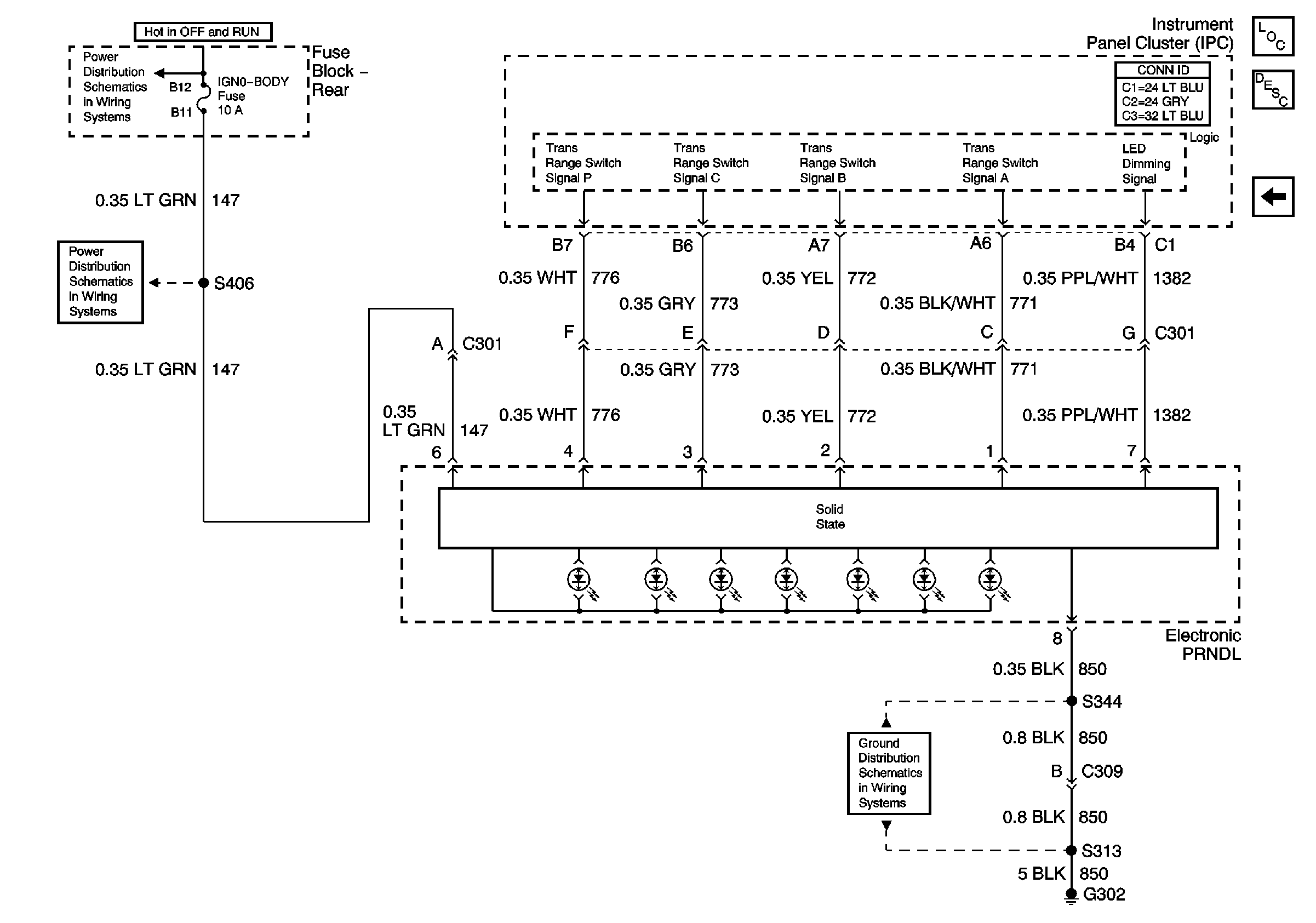
Electronic PRNDL Signals
Transaxle Sensors and TR Switch
G102
Figure 4:

Electronic PRNDL Signals


Object Number: 715968  Size: FS
Master Electrical Component List
Park/Neutral Position Switch and VSS
BATT 3 and Ignition Switch (1 of 2)
IGN 0 BODY Fuse
G302 (1 of 2)