GM Service Manual Online
For 1990-2009 cars only
Figure 1:

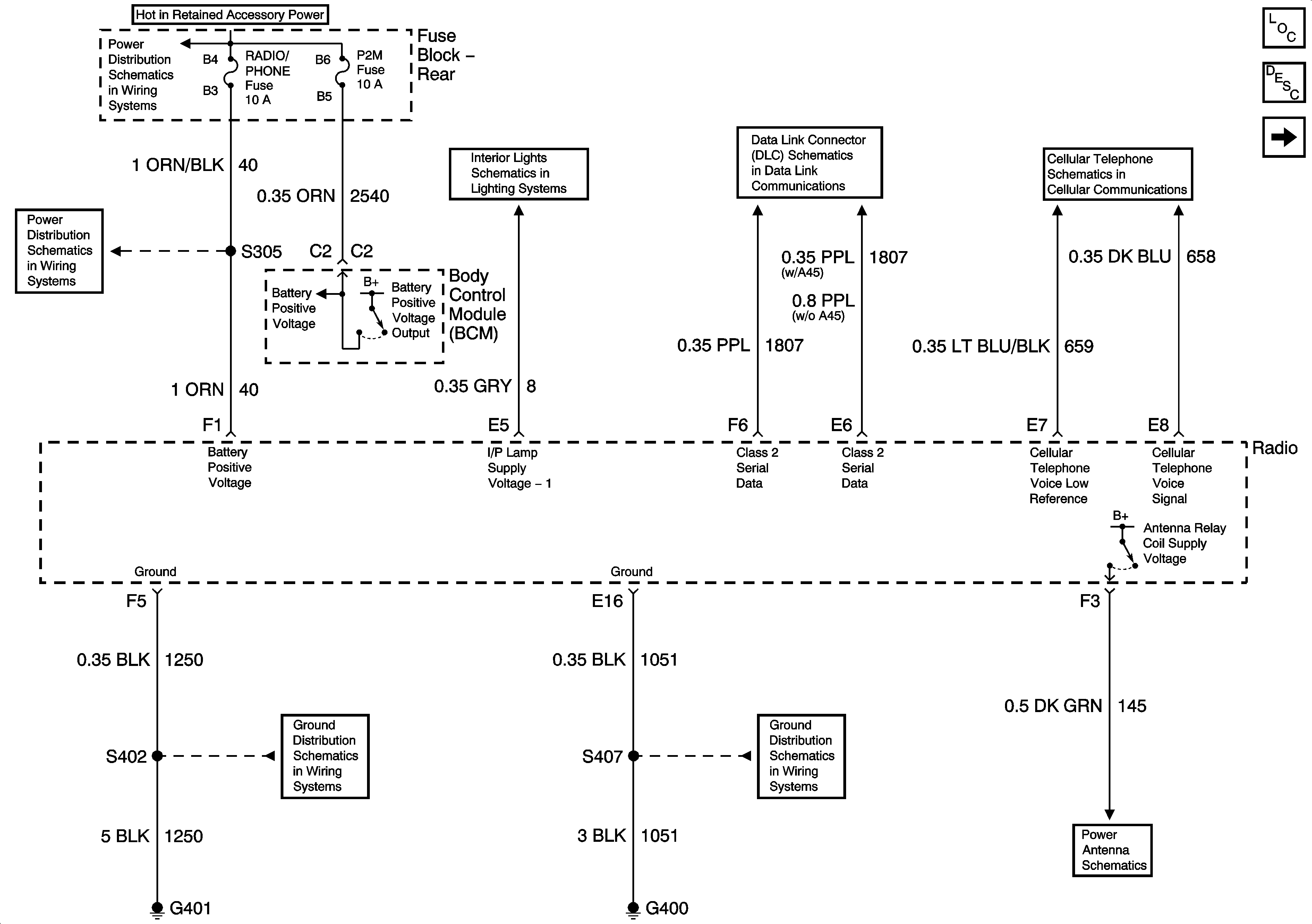
Radio w/UW6


Object Number: 715352  Size: FS
Master Electrical Component List
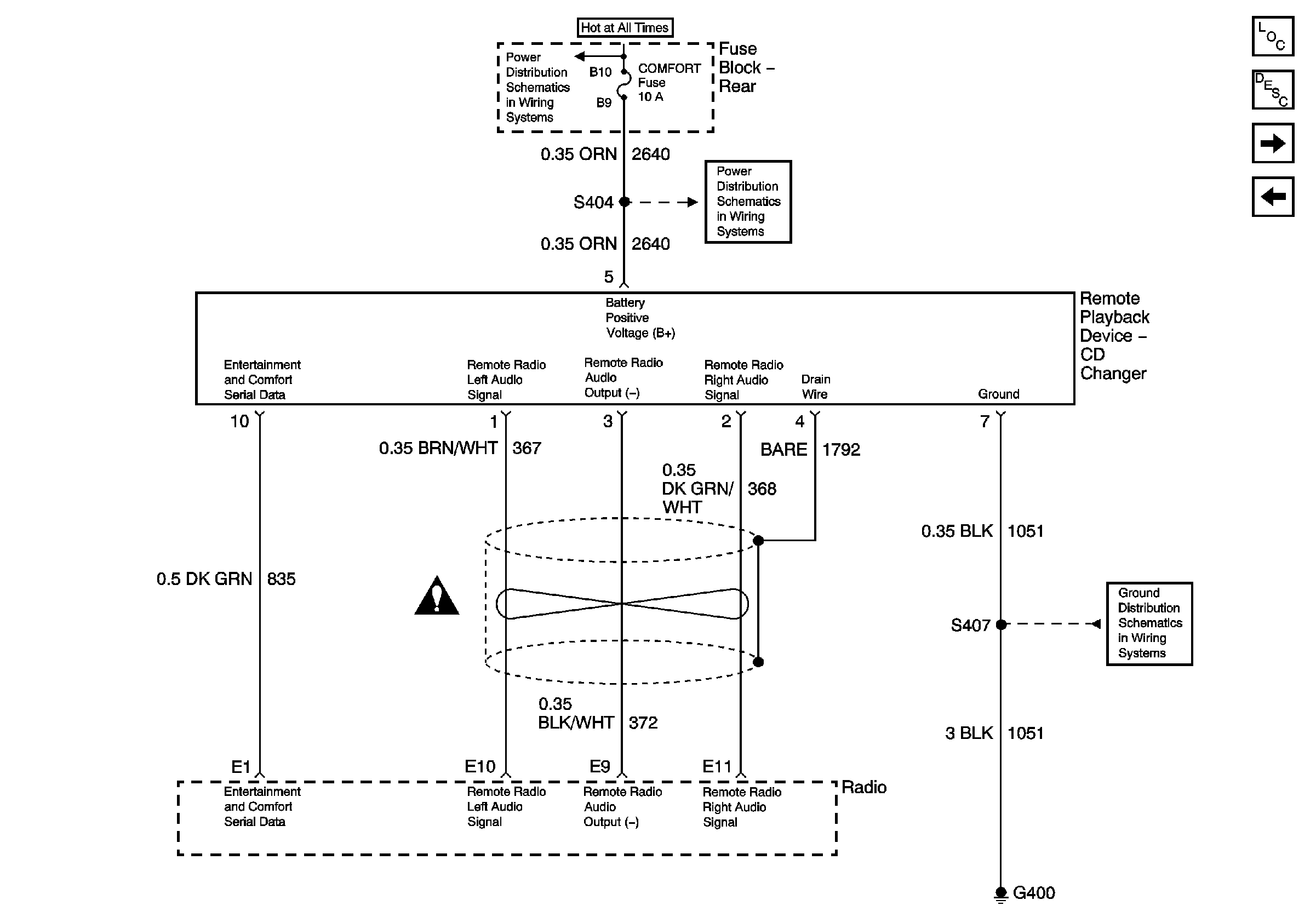
Compact Disc (CD) Player w/UW6 and U1S
Power Antenna Relay
G401 (1 of 2)
RADIO/PHONE Fuse
BODY 3 and INADVERT Fuses
Instrument Panel Backlighting
Power, Ground, and Class 2 (2 of 2)
Keypad and Mic Signals
G400
Figure 2:

Compact Disc (CD) Player w/UW6 and U1S


Object Number: 715359  Size: FS
Master Electrical Component List
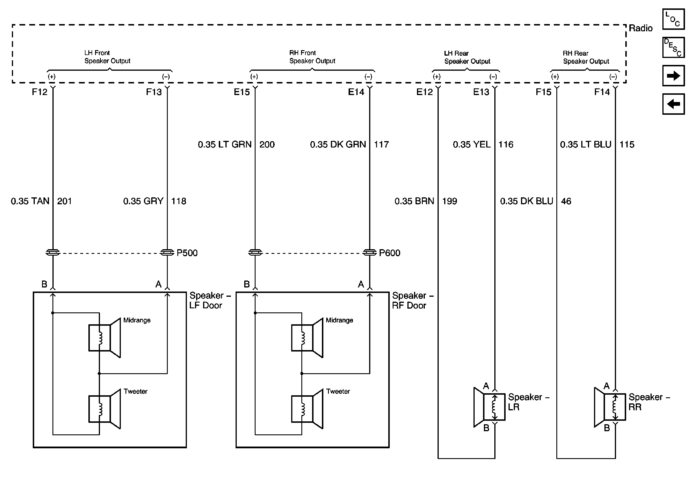
Speakers w/UW6
Radio w/UW6
COMFORT Fuses
G400
BODY 3 and INADVERT Fuses
Entertainment Schematic Icons
Figure 3:

Speakers w/UW6


Object Number: 715364  Size: FS
Master Electrical Component List
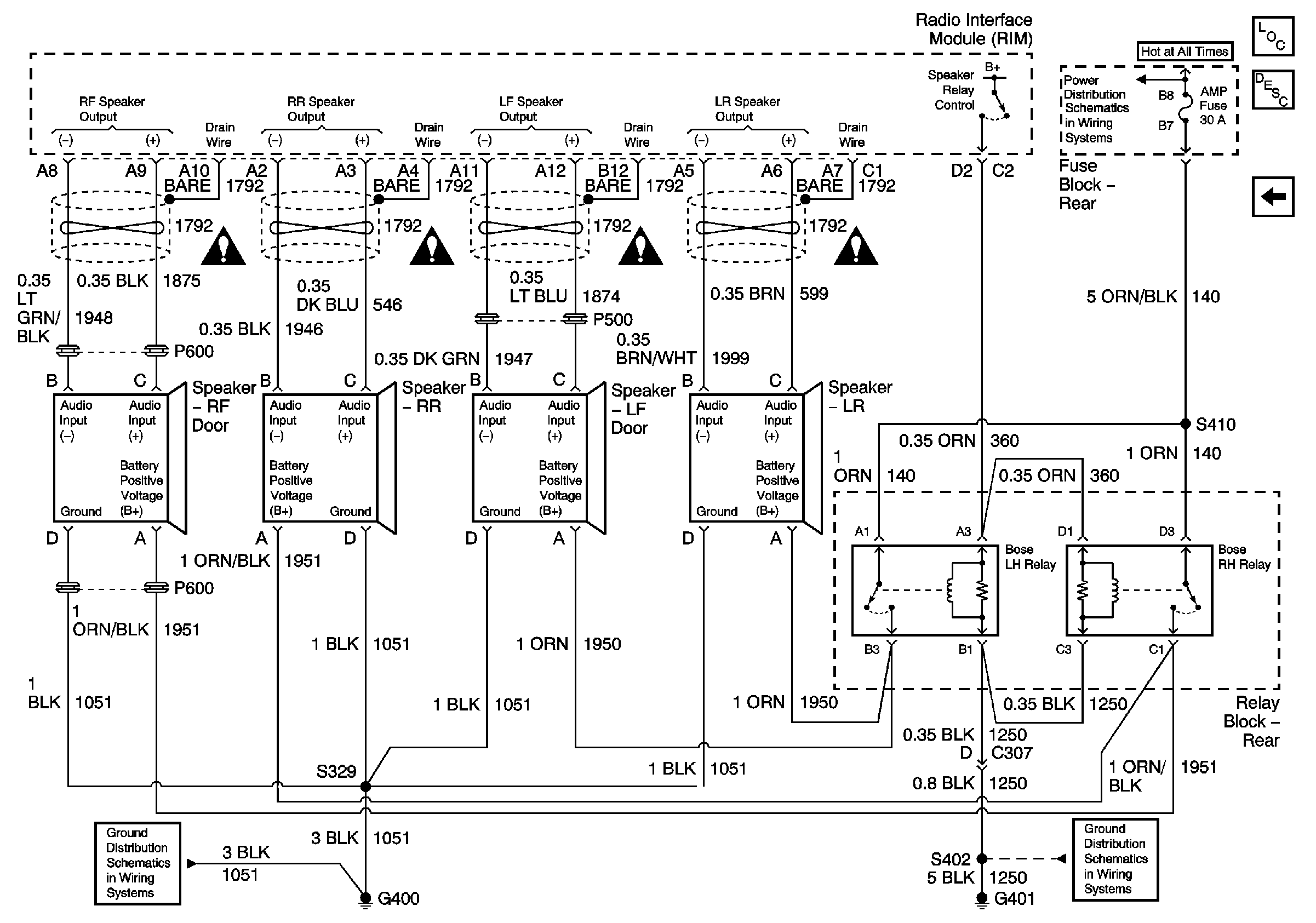
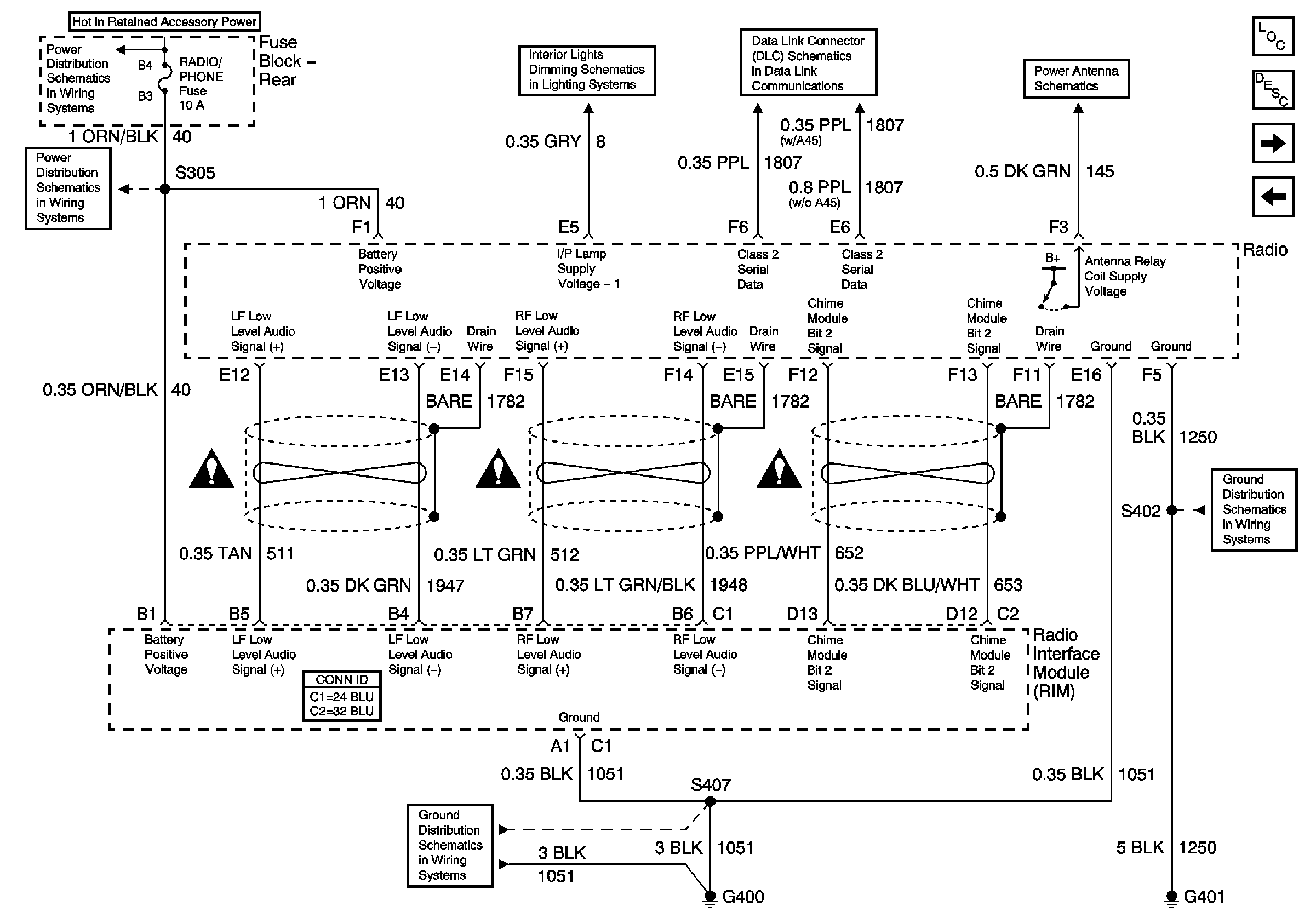
Radio and Radio Interface Module (RIM) w/UQ4
Compact Disc (CD) Player w/UW6 and U1S
Figure 4:

Radio and Radio Interface Module (RIM) w/UQ4


Object Number: 715370  Size: FS
Master Electrical Component List
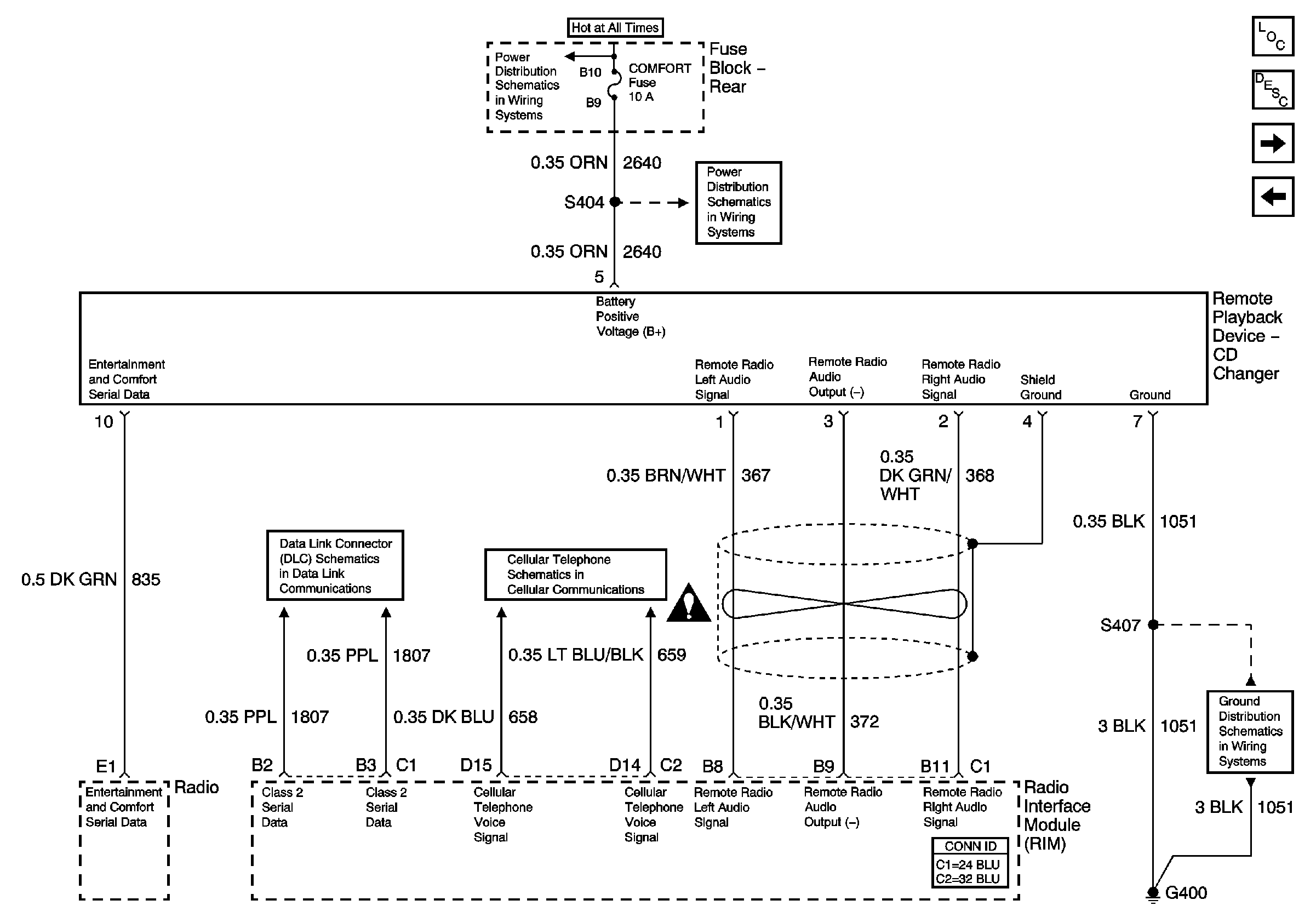
Compact Disc (CD) Player w/UQ4 and U1S
Speakers w/UW6
G401 (1 of 2)
G400
RADIO/PHONE Fuse
BODY 3 and INADVERT Fuses
Instrument Panel Backlighting
Power, Ground, and Class 2 (2 of 2)
Power Antenna Relay
Entertainment Schematic Icons
Entertainment Schematic Icons
Entertainment Schematic Icons
Figure 5:

Compact Disc (CD) Player w/UQ4 and U1S


Object Number: 715375  Size: FS
Master Electrical Component List
Radio Interface Module and Speakers w/UQ4
Radio and Radio Interface Module (RIM) w/UQ4
COMFORT Fuses
G400
Keypad and Mic Signals
Power, Ground and Class 2 (1 of 2)
BODY 3 and INADVERT Fuses
Entertainment Schematic Icons
Figure 6:

Radio Interface Module and Speakers w/UQ4


Object Number: 715380  Size: FS
Master Electrical Component List
Compact Disc (CD) Player w/UQ4 and U1S
G401 (1 of 2)
G400
BODY 3 and INADVERT Fuses
Entertainment Schematic Icons
Entertainment Schematic Icons
Entertainment Schematic Icons
Entertainment Schematic Icons