GM Service Manual Online
For 1990-2009 cars only
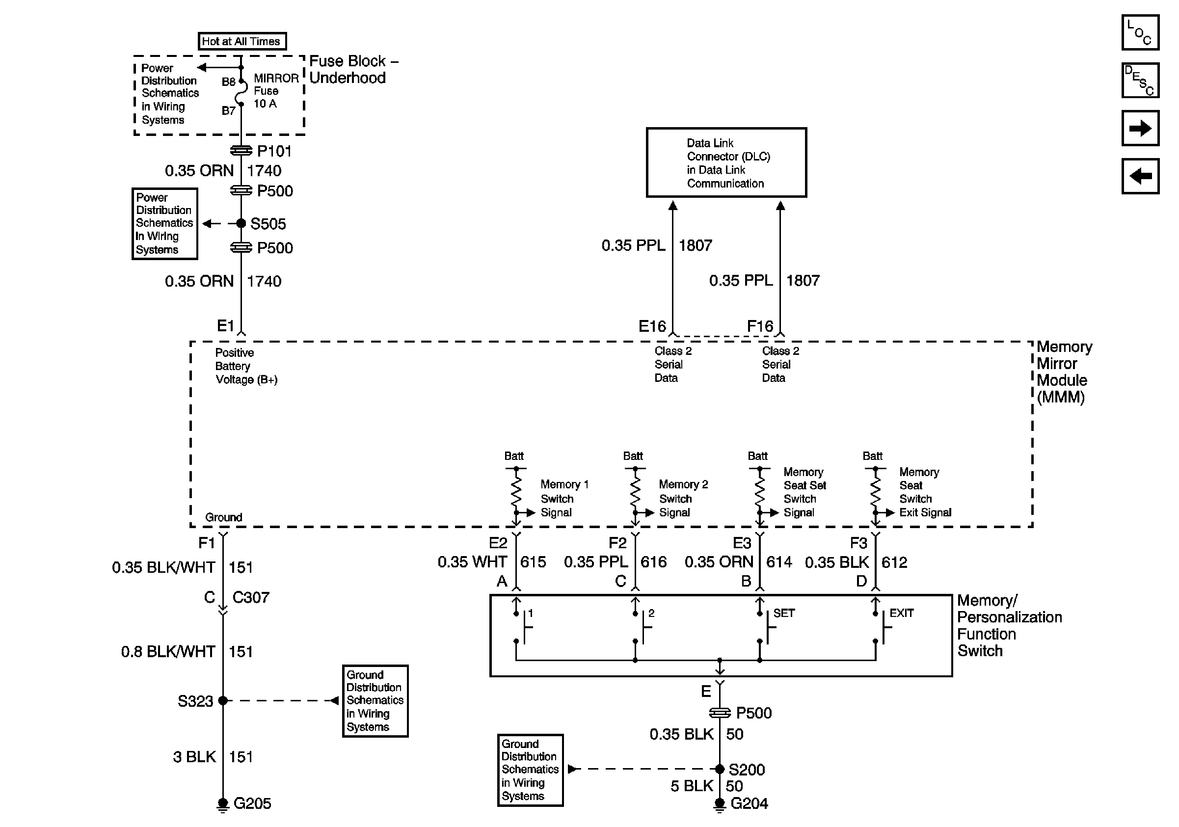
Figure 1:

Driver Seat Switch


Object Number: 716270  Size: FS
Master Electrical Component List
Memory Function Switch
G302 (1 of 2)
Figure 2:

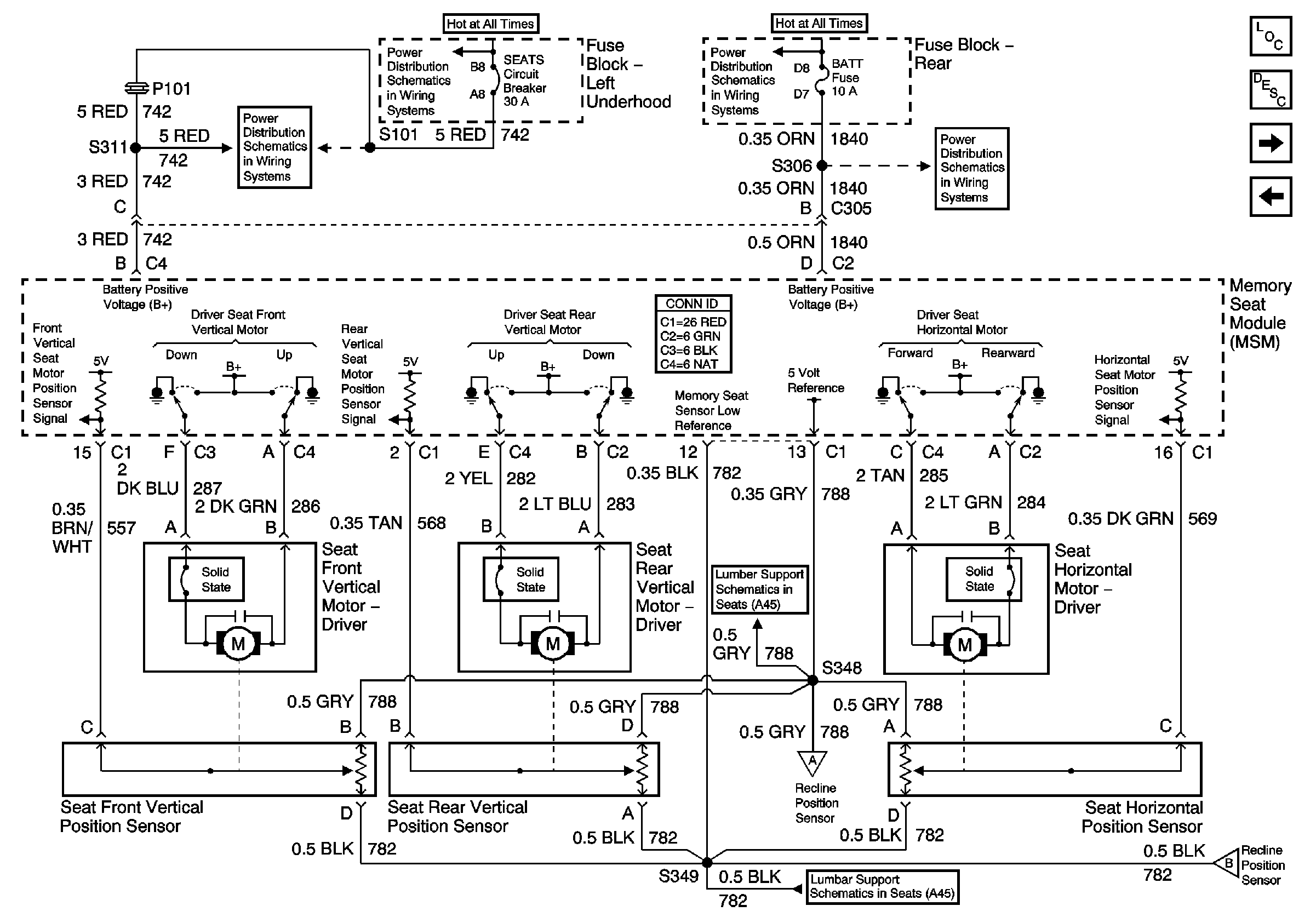
Memory Function Switch


Object Number: 728442  Size: FS
Master Electrical Component List
Seat Front Vertical, Seat Rear Vertical, and Seat Horizontal Position Sensors and Motors
Left Seat Switch
LAMPS and IGN 1 Fuses
G204
G205
Power, Ground, and Class 2 (2 of 2)
MIRROR, DRL, and FOG Fuses
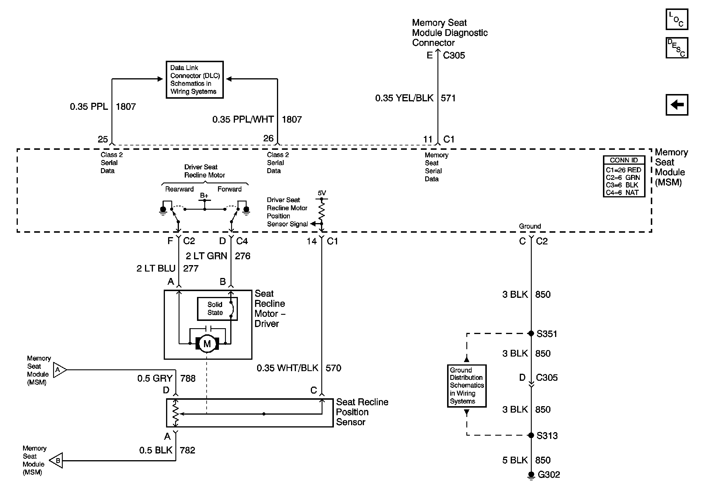
Figure 3:

Seat Front Vertical, Seat Rear Vertical, and Seat Horizontal Position Sensors and Motors


Object Number: 716273  Size: FS
Master Electrical Component List
Memory Seat Module, Seat Recline Position Sensor and Motor
Memory Function Switch
Memory Seat Module, Seat Recline Position Sensor and Motor
Left Power Lumbar w/AL2 and A45
Memory Seat Module, Seat Recline Position Sensor and Motor
Left Power Lumbar w/AL2 and A45
Battery Feeds
SEATS Circuit Breaker
BODY 1 Fuse
BATT Fuse
Figure 4:

Memory Seat Module, Seat Recline Position Sensor and Motor


Object Number: 716282  Size: FS
Master Electrical Component List
Seat Front Vertical, Seat Rear Vertical, and Seat Horizontal Position Sensors and Motors
Seat Front Vertical, Seat Rear Vertical, and Seat Horizontal Position Sensors and Motors
Seat Front Vertical, Seat Rear Vertical, and Seat Horizontal Position Sensors and Motors
G302 (1 of 2)
Power, Ground, and Class 2 (2 of 2)