GM Service Manual Online
For 1990-2009 cars only
Makes
🢒
Cadillac
🢒
2001
🢒
Eldorado
🢒
Body and Accessories
🢒
Seats
🢒 Power Seats Schematics
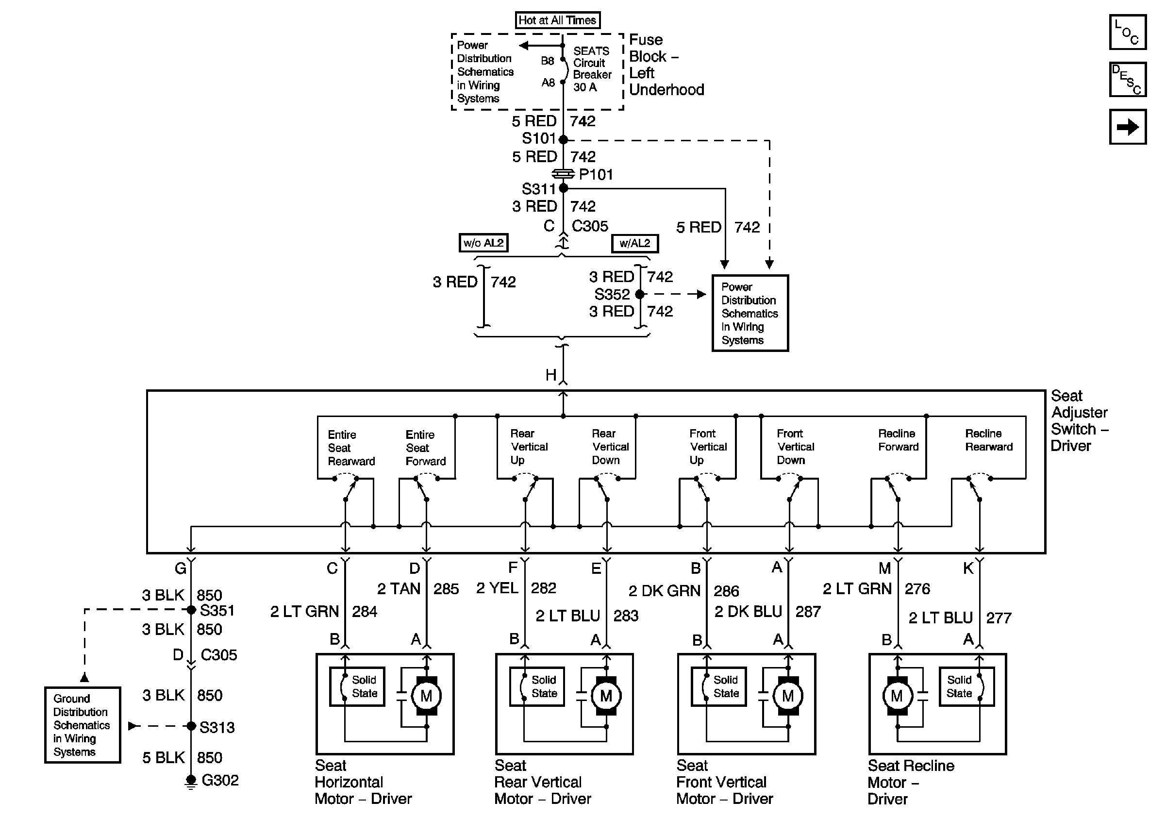
Figure
1:
Driver Power Seat w/o A45
Master Electrical Component List
Right Power Seat
SEATS Circuit Breaker
Battery Feeds
G302 (1 of 2)
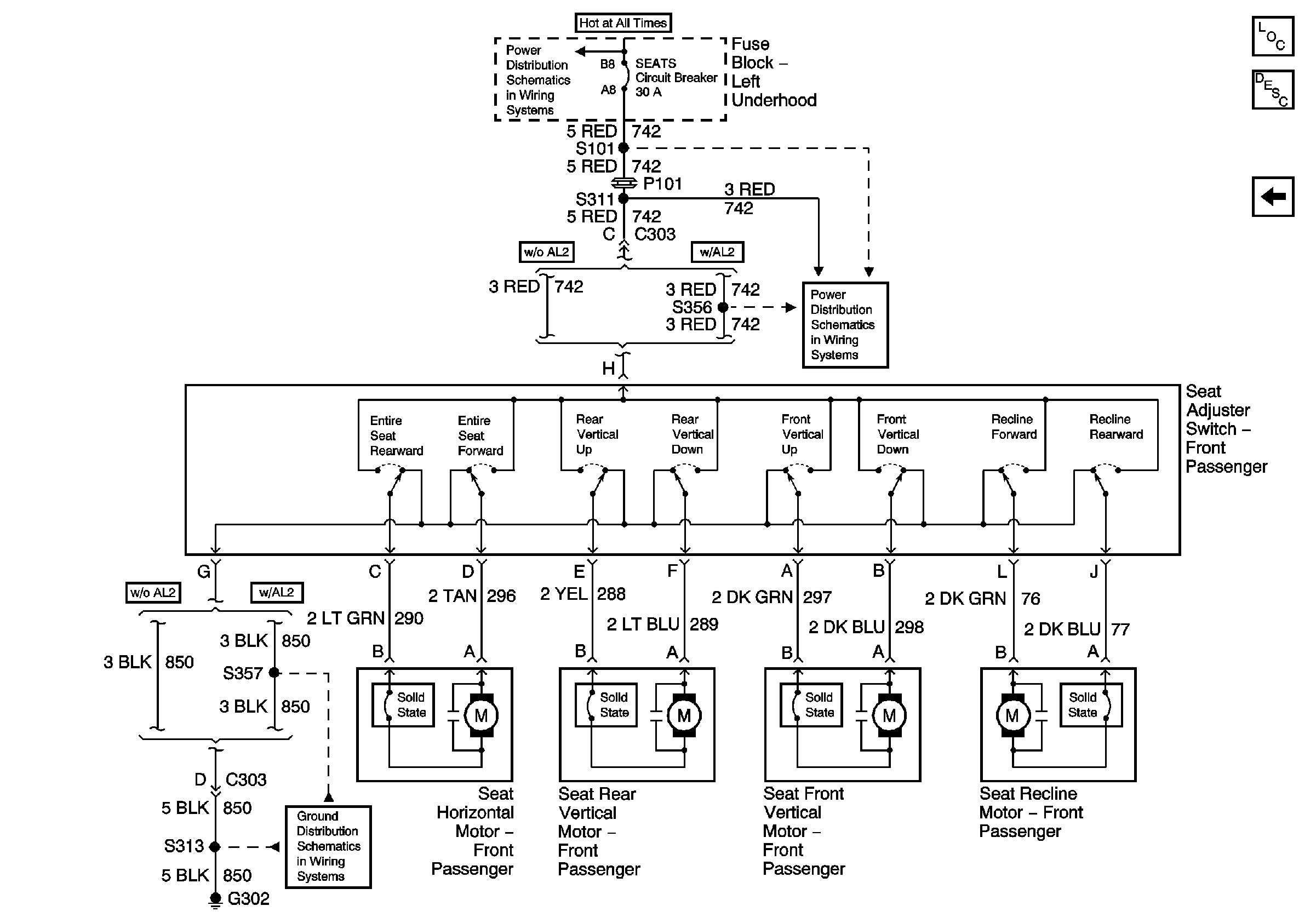
Figure
2:
Passenger Power Seat
Master Electrical Component List
Left Power Seat w/o A45
SEATS Circuit Breaker
Battery Feeds
G302 (1 of 2)