GM Service Manual Online
For 1990-2009 cars only
Makes
🢒
Cadillac
🢒
2001
🢒
Eldorado
🢒 Ignition Controls Sensors
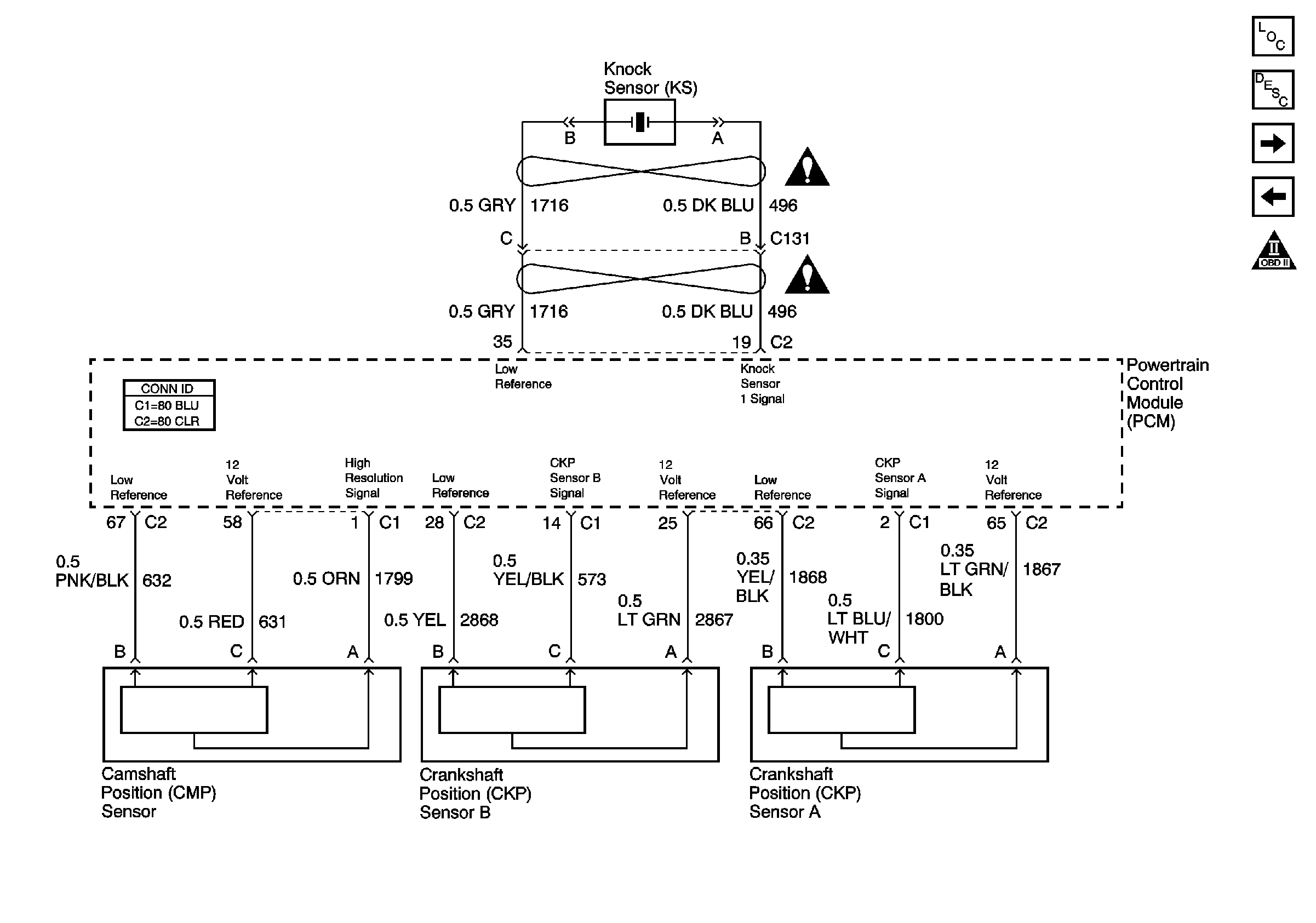
Ignition Controls Sensors
Ignition Controls Sensors
Master Electrical Component List
Electronic Ignition (EI) System Description
Fuel Pump Controls
Ignition System Controls
OBD II Symbol Description Notice