GM Service Manual Online
For 1990-2009 cars only
Makes
🢒
Cadillac
🢒
2001
🢒
Eldorado
🢒 Fuel Pump Controls
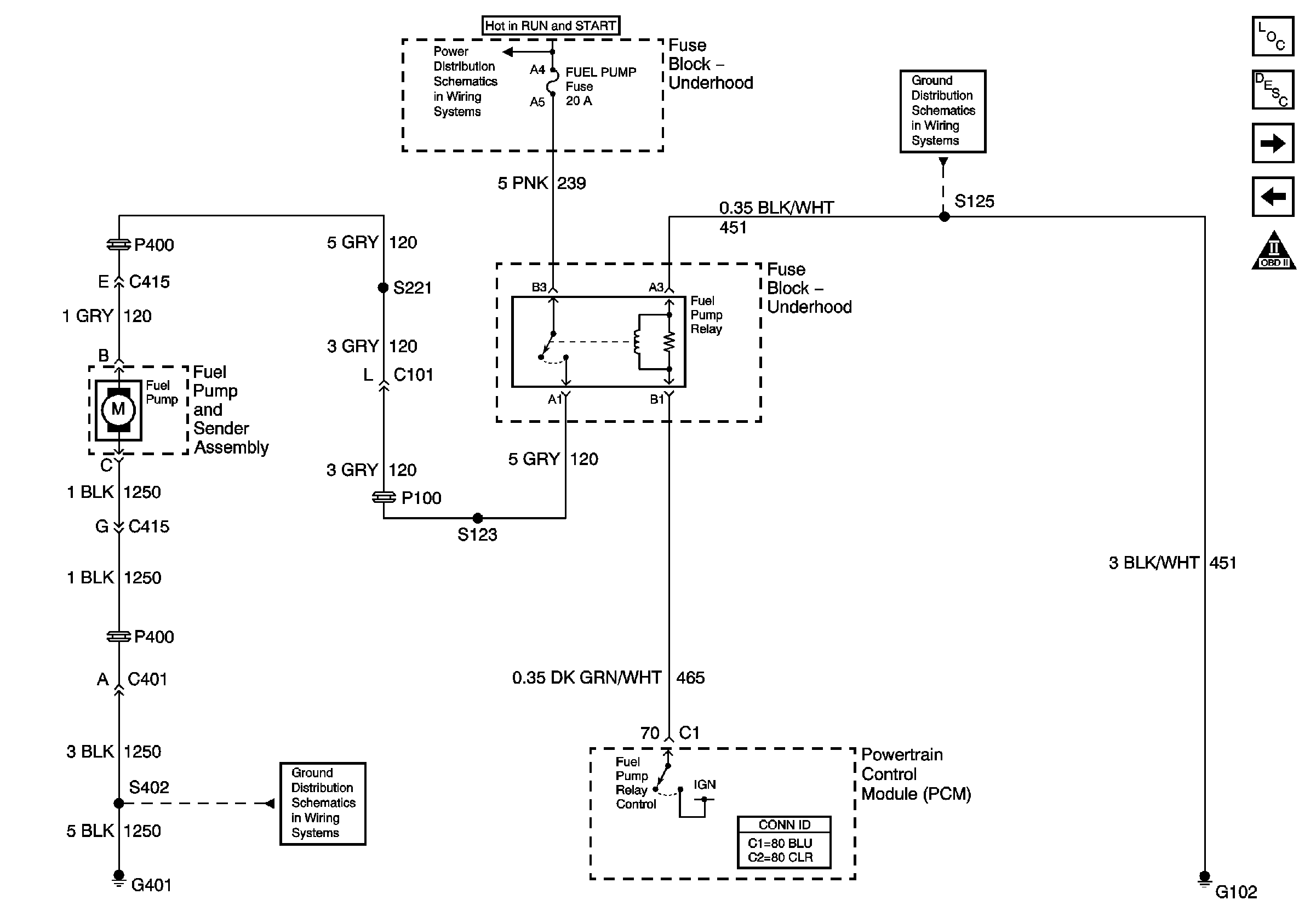
Fuel Pump Controls
Fuel Pump Controls
Master Electrical Component List
Fuel System Description
Fuel Injectors
Ignition Controls Sensors
OBD II Symbol Description Notice
G401 (1 of 2)
IGN 1, COOL FANS, AIR, BATT 1, and BRAKES Fuses
G102