GM Service Manual Online
For 1990-2009 cars only
Makes
🢒
Cadillac
🢒
2001
🢒
Eldorado
🢒 Automatic Transmission Controls
Automatic Transmission Controls
Automatic Transmission Controls
Master Electrical Component List
Powertrain Control Module Description
Controlled/Monitored Subsystem References
OBD II Symbol Description Notice
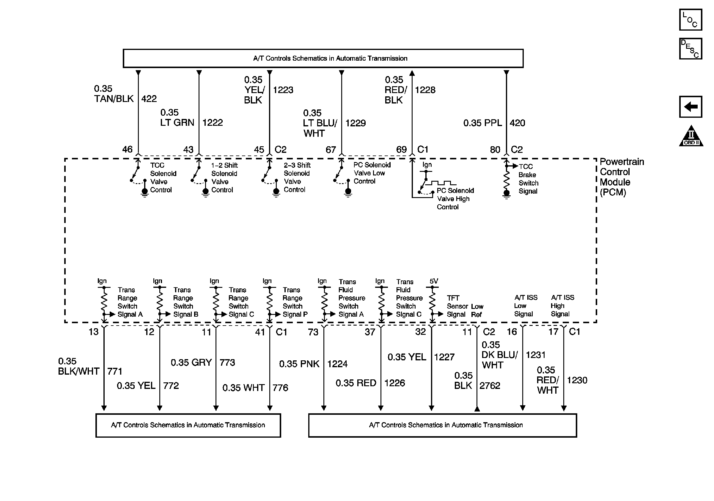
Stoplamp Switch and Automatic Transaxle Solenoids
Transmission Range Switch Signals and VSS
Automatic Transaxle Sensors