GM Service Manual Online
For 1990-2009 cars only
Makes
🢒
Cadillac
🢒
2001
🢒
Eldorado
🢒 Controlled/Monitored Subsystem References
Controlled/Monitored Subsystem References
Controlled/Monitored Subsystem References
Master Electrical Component List
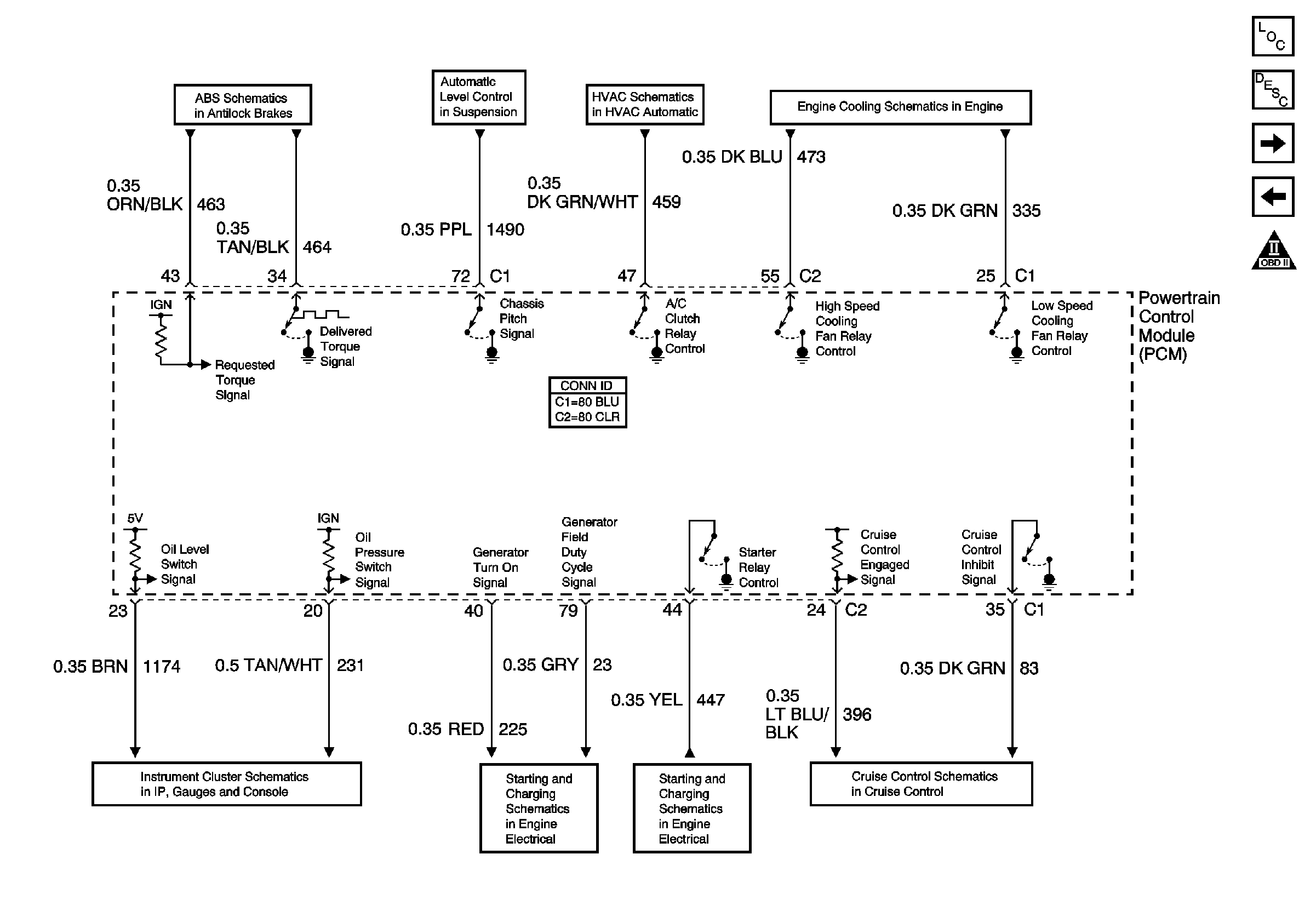
Powertrain Control Module Description
Automatic Transmission Controls
Device Controls
OBD II Symbol Description Notice
Suspension Inputs, Class 2, Traction Control, and Variable Effort Steering
Compressor (w/F45)
Compressor Control Pressure Switch
Engine Cooling
Gages and MIL
Generator
Starter Solenoid Controls
Cruise Control ON/OFF Switch