GM Service Manual Online
For 1990-2009 cars only
Makes
🢒
Cadillac
🢒
2005
🢒
STS
🢒
Body
🢒
Instrument Panel, Gages, and Console
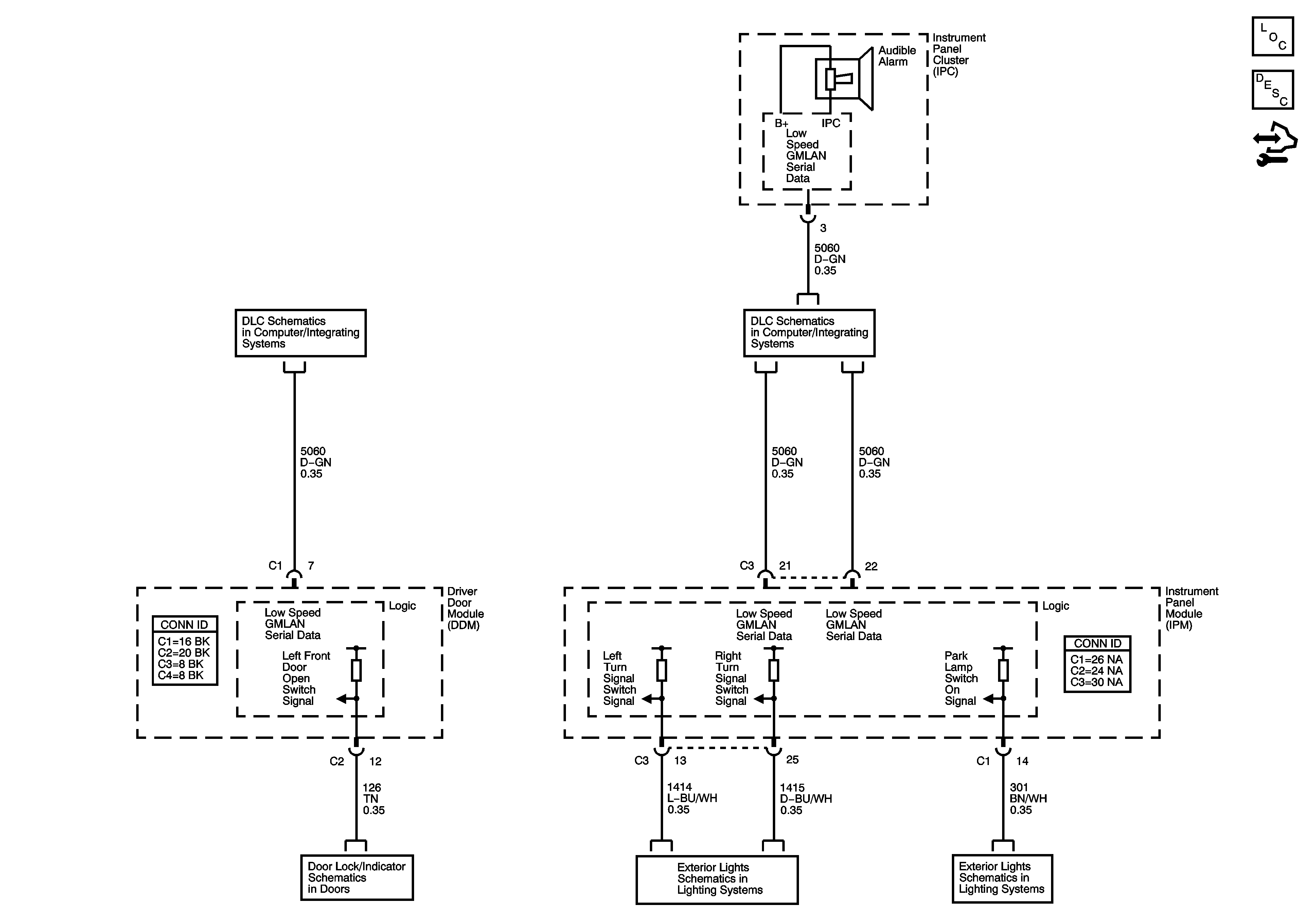
🢒 Audible Warnings Schematics
Master Electrical Component List
Audible Warnings Description and Operation
Control Module References
GMLAN Low Speed 1 of 2
GMLAN Low Speed 2 of 2
Driver Door Lock
Front Turn Signal Switch Signals, Brake Pedal Position Sensor - Domestic and Export
Park Lamp Relay and Switch, License, Front Cornering/Side Marker Lamps and Instrument Cluster - Export