GM Service Manual Online
For 1990-2009 cars only

Outside Rearview Mirror Schematics Power Mirrors

Figure 1:

Cell 147 - LH Front Power Window Switch


Object Number: 141865  Size: FS
Power Door Systems Component Views
Door Description
Cell 147 - LH Power Mirror with Memory (A45)
Handling ESD Sensitive Parts Notice
Power Door Systems Connector End Views
Cell 50: Class Serial Data Line (1 of 2)
Cell 117: Front Door Dimming
Figure 2:

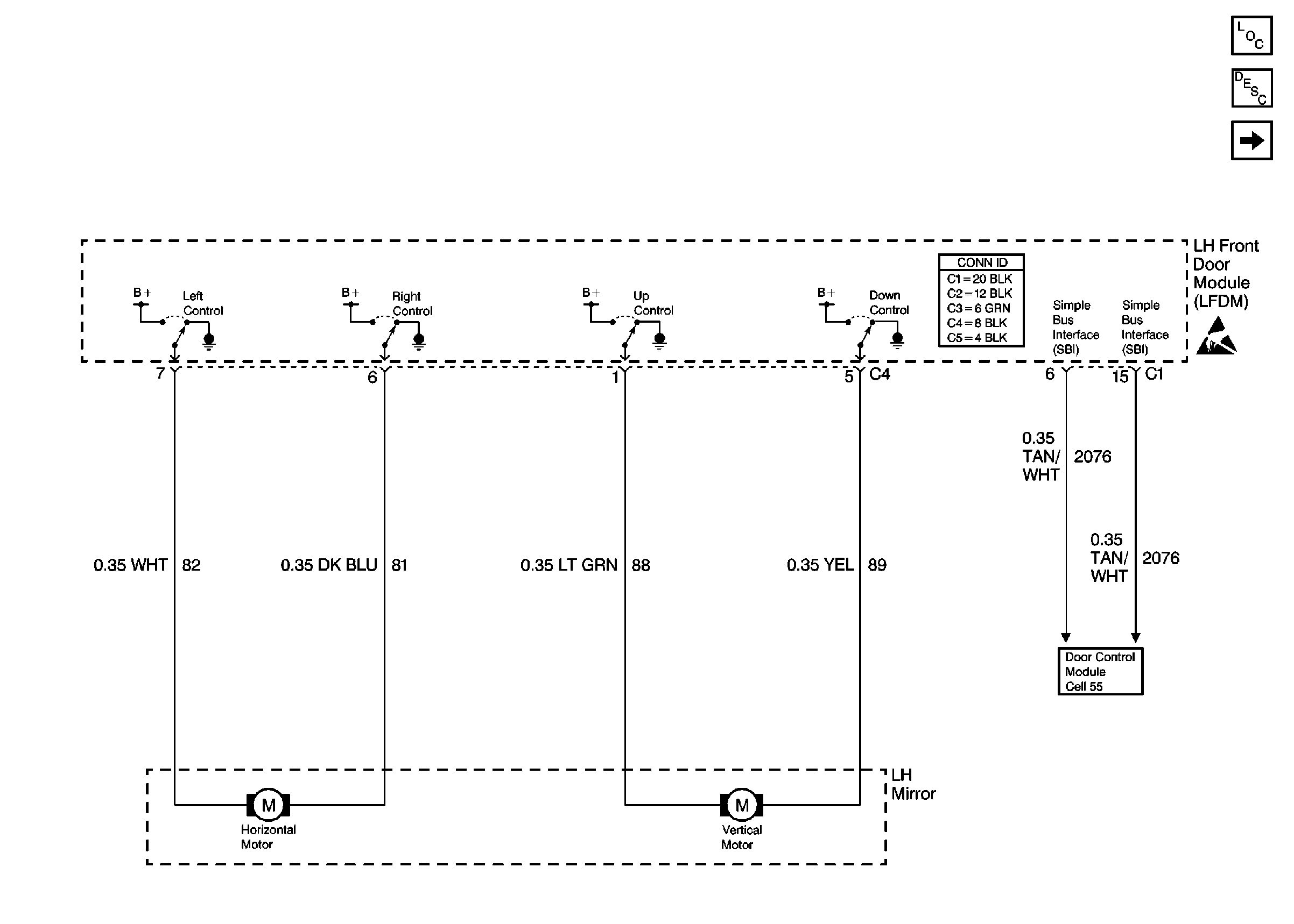
Cell 147 - LH Power Mirror


Object Number: 143488  Size: FS
Power Door Systems Component Views
Outside Mirrors Circuit Description
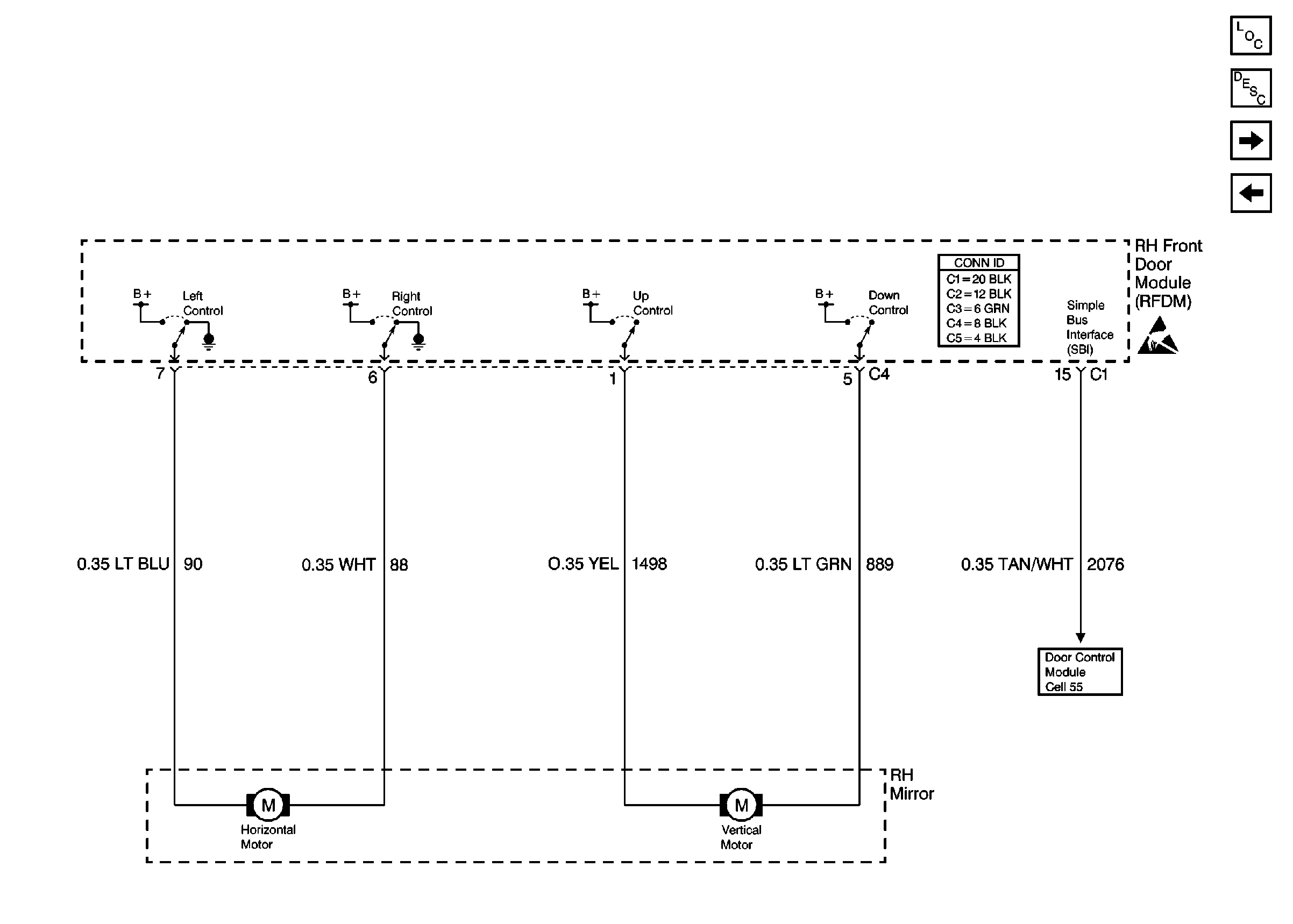
Cell 147 - RH Power Mirror
Handling ESD Sensitive Parts Notice
Power Door Systems Connector End Views
Cell 55: SBI
Figure 3:

Cell 147 - RH Power Mirror


Object Number: 143489  Size: FS
Power Door Systems Component Views
Outside Mirrors Circuit Description
Cell 147 - LH Front Power Window Switch
Cell 147 - LH Power Mirror
Handling ESD Sensitive Parts Notice
Cell 55: SBI
Power Door Systems Connector End Views

Outside Rearview Mirror Schematics Power Mirrors with Memory

Figure 1:

Cell 147 - LH Front Power Window Switch


Object Number: 141865  Size: FS
Power Door Systems Component Views
Door Description
Cell 147 - LH Power Mirror with Memory (A45)
Handling ESD Sensitive Parts Notice
Power Door Systems Connector End Views
Cell 50: Class Serial Data Line (1 of 2)
Cell 117: Front Door Dimming
Figure 2:

Cell 147 - LH Power Mirror with Memory (A45)


Object Number: 143490  Size: FS
Power Door Systems Component Views
Outside Mirrors Circuit Description
Cell 147 - RH Power Mirror with Memory (A45)
Cell 147 - LH Front Power Window Switch
Handling ESD Sensitive Parts Notice
Cell 55: SBI
Power Door Systems Connector End Views
Figure 3:

Cell 147 - RH Power Mirror with Memory (A45)


Object Number: 143491  Size: FS
Power Door Systems Component Views
Outside Mirrors Circuit Description
Outside Mirrors Schematics (Cell 147-Heated Mirrors)
Cell 147 - LH Power Mirror with Memory (A45)
Handling ESD Sensitive Parts Notice
Cell 55: SBI
Power Door Systems Connector End Views

Outside Rearview Mirror Schematics Heated Mirrors

Outside Mirrors Schematics (Cell 147-Heated Mirrors)


Object Number: 142228  Size: FS
Power Door Systems Component Views
Outside Mirrors Circuit Description
Cell 147 - RH Power Mirror with Memory (A45)
Cell 147 - LH Front Power Window Switch
Handling ESD Sensitive Parts Notice
Cell 130 - LH Power Door Locks
Handling ESD Sensitive Parts Notice
Cell 50: Class Serial Data Line (1 of 2)
Handling ESD Sensitive Parts Notice

Outside Rearview Mirror Schematics Japan Express Folding Mirrors

Figure 1:

Cell 147 - LH Front Power Window Switch


Object Number: 141865  Size: FS
Power Door Systems Component Views
Door Description
Cell 147 - LH Power Mirror with Memory (A45)
Handling ESD Sensitive Parts Notice
Power Door Systems Connector End Views
Cell 50: Class Serial Data Line (1 of 2)
Cell 117: Front Door Dimming
Figure 2:

Cell 147 - Express Folding Mirrors


Object Number: 143492  Size: FS
Power Door Systems Component Views
Outside Mirrors Circuit Description
Cell 147 - LH Front Power Window Switch
Handling ESD Sensitive Parts Notice
Handling ESD Sensitive Parts Notice