GM Service Manual Online
For 1990-2009 cars only
Makes
🢒
Cadillac
🢒
1999
🢒
Seville
🢒
Body and Accessories
🢒
Cellular Communication
🢒 Cellular Telephone Schematics
Figure
1:
Cell 153: Power and Grounds
Cellular Communication Components
Cellular Telephone Circuit Description
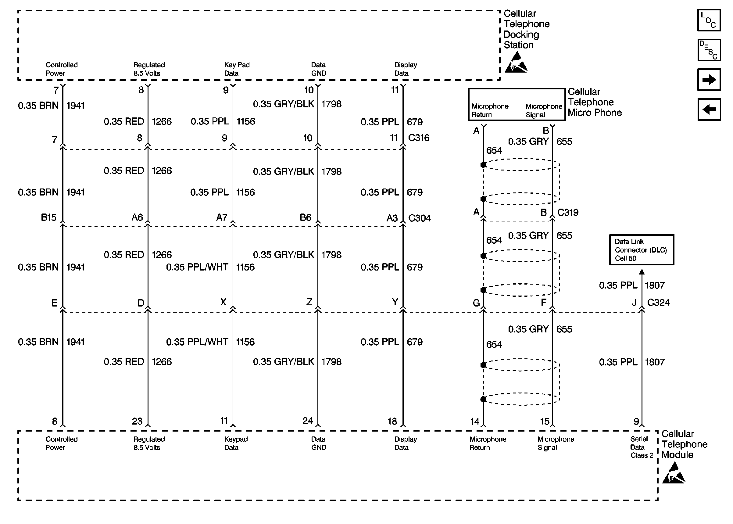
Cell 153: Handset and Microphone
Handling ESD Sensitive Parts Notice
Handling ESD Sensitive Parts Notice
Power Distribution Schematics
Ground Distribution Schematics
Ground Distribution Schematics
Power Distribution Schematics
Ground Distribution Schematics
Figure
2:
Cell 153: Handset and Microphone
Cellular Communication Components
Cellular Telephone Circuit Description
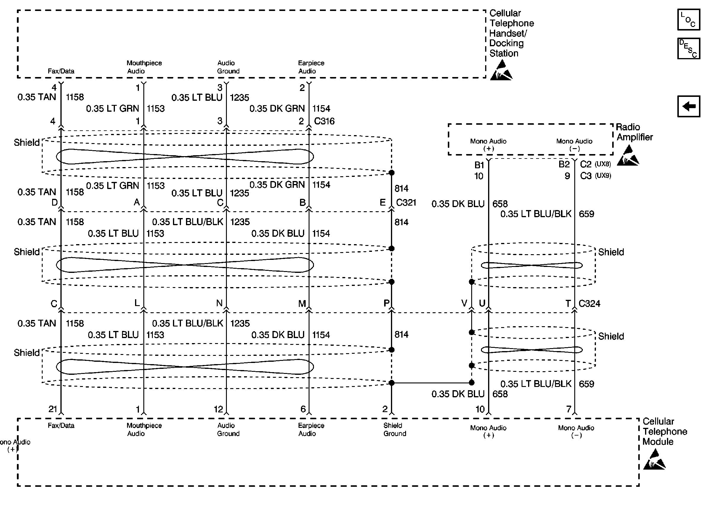
Cell 153: Handset and Radio Amplifier
Cell 153: Power and Grounds
Handling ESD Sensitive Parts Notice
Handling ESD Sensitive Parts Notice
Data Link Connector Schematics
Figure
3:
Cell 153: Handset and Radio Amplifier
Cellular Communication Components
Cellular Telephone Circuit Description
Cell 153: Handset and Microphone
Handling ESD Sensitive Parts Notice
Handling ESD Sensitive Parts Notice
Handling ESD Sensitive Parts Notice