GM Service Manual Online
For 1990-2009 cars only

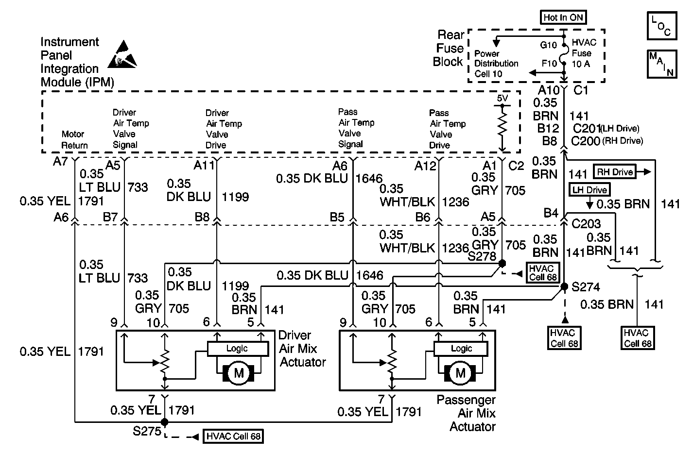
Object Number: 563240  Size: MF
HVAC Components
HVAC Air Delivery/Temperature Control Schematics
Cell 68: Electric Actuators
Handling ESD Sensitive Parts Notice
Cell 68: Electric Actuators
Cell 68: Temperature Sensors
Cell 68: Electric Actuators
Cell 10: IGN 3 Relay and HVAC, ABS Fuses

Circuit Description

The rear fuse block supplies ignition voltage through circuit 141 (BRN). The Instrument Panel Module (IPM) commands the actuator to move by suppling voltage on the command line circuit 1199 (DK BLU). The command line voltage and motor actions are as follows:

    • 0 volts moves toward full hot.
    • 2.5 volts stops the motor.
    • 5 volts moves toward full cold.

The IPM determines the current position by monitoring the voltage on the feedback circuit 733 (LT BLU). A feedback potentiometer supplies a regulated 5 volt signal by the IPM on circuit 705 (GRY), and a ground from the IPM circuit 1791 (YEL). The pot is gear driven inside the actuator. The feedback voltage is a function of the motor position with a high voltage of 4-5 volts indicating full cold door position. A low voltage of less then 1 volt indicates the full hot position. Operation of the air mix door actuator can be evaluated through Scan Tool data.

Conditions for Setting the DTC

    • Ignition is ON.
    • Feedback circuit is open or shorted.

Action Taken When the DTC Sets

    • A default value of 128 counts will be used by the IPM.
    • This default value results in only two positions of the actuator full hot and full cold being used by the system.

Conditions for Clearing the MIL/DTC

    • Using a Scan Tool .
    • A current DTC will clear when the diagnostic runs and does not fail.
    • IPM battery voltage is interrupted.

Test Description

The numbers below refer to the step numbers on the diagnostic table.

  1. Perform the Body Control Module Diagnostic (BCM) Diagnostic System Check before continuing with the diagnosis of this DTC.

  2. This test allows the Scan Tool to recalibrate the actuator.

  3. Determines if the Instrument Panel Integration Module (IPM) is malfunctioning.

  4. Determines if the actuator is operational.

Step

Action

Value(s)

Yes

No

1

Was the BCM diagnostic system check performed?

--

Go to Step  2

Go to Diagnostic System Check - Body Control System

2

  1. Install Scan Tool .
  2. Start the engine and bring to normal operating temperature.
  3. Using the Scan Tool , establish communications with IPM.
  4. Recalibrate all actuators.

Is the difference between minimum and maximum counts within the specified range?

150-220 counts

Go to Step  3

Go to Step  4

3

  1. Clear all the DTCs using the Scan Tool .
  2. Operate the system.

Does the system operate normally?

--

Go to Step  18

Go to Step  4

4

  1. Disconnect the electrical connector from the actuator.
  2. Measure the voltage at terminal 10, CKT 705 (GRY).
  3. Refer to Measuring Voltage in Wiring Systems.

Is the voltage measured at the specified value?

5 V

Go to Step  5

Go to Step  9

5

Measure voltage at terminal 5, CKT 141 (BRN). Refer to Measuring Voltage in Wiring Systems.

Is the voltage measured at the specified value?

12 V

Go to Step  6

Go to Step  9

6

Measure voltage between terminals  5, CKT 141 (BRN) and 7, CKT 1791 (YEL). Refer to Measuring Voltage in Wiring Systems.

Is the voltage measured at the specified value?

12 V

Go to Step  7

Go to Step  9

7

Measure voltage at terminal 6, CKT 1199 (DK BLU). Refer to Measuring Voltage in Wiring Systems.

Is the voltage measured at the specified value?

2.5 V

Go to Step  8

Go to Step  9

8

Measure voltage at terminal 9, CKT 733 (LT BLU). Refer to Measuring Voltage in Wiring Systems.

Is the voltage measured at the specified value?

5 V

Go to Step  9

Go to Step  11

9

Inspect the circuits for an open, or short conditions.

Is an open or short condition located?

--

Go to Step  10

Go to Step  11

10

Repair the open or short condition. Refer to Wiring Repairs in Wiring Systems.

Is the repair complete?

--

Go to Step  21

--

11

View actuator data on Scan Tool .

Is the actuator actual data displayed on the Scan Tool at the specified value?

5 V or 255 counts

Go to Step  12

Go to Step  20

12

Short terminal 9 CKT 733 (LT BLU) to ground.

Is the actuator actual data displayed on the Scan Tool at the specified value?

0 V or 0 counts

Go to Step  13

Go to Step  20

13

Connector the electrical connector to the actuator.

Is the actuator actual data displayed on the Scan Tool at the specified value?

255 counts or 0 counts

Go to Step  20

Go to Step  14

14

  1. Using the Scan Tool .
  2. Move the actuator to the hot and cold.

Does the actuator move in both directions?

--

Go to Step  15

Go to Step  16

15

Did the actuator actual position feedback change?

--

Go to Step  21

Go to Step  19

16

Short terminal 10, CKT 705 (GRY) to terminal 6, CKT 199 (DK BLU).

Did the actuator move?

--

Go to Step  17

Go to Step  18

17

Did the actuator actual position feedback change?

--

Go to Step  21

Go to Step  19

18

Short terminal 7, CKT 1791 (YEL) to terminal 6, CKT 1199 (DK BLU).

Did the actuator move?

--

Go to Step  17

Go to Step  19

19

Replace the actuator. Refer to Air Mix Actuator Replacement - Driver in HVAC.

Is the repair complete?

--

Go to Step  21

--

20

Replace the IPM. Refer to Control Assembly Replacement in HVAC.

Is the repair complete?

--

Go to Step  21

--

21

Confirm proper operation of the A/C system.

Does the system operate normally?

--

Go to Diagnostic System Check - Body Control System

--