GM Service Manual Online
For 1990-2009 cars only

Object Number: 543731  Size: MF
Tilt Wheel/Column Components
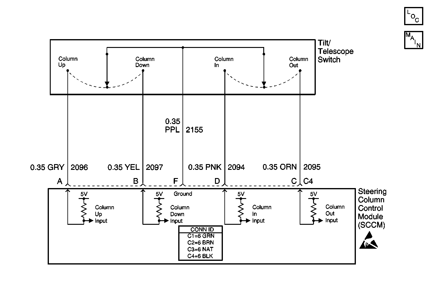
Tilt/Telescoping Steering Column Module Schematics
Handling ESD Sensitive Parts Notice

Circuit Description

The steering column tilt/telescoping module (SCCM) receives an input from the tilt/telescope switch when the switch is pressed. The SCCM recognizes this input and supplies battery voltage and ground to the tilt motor UP or DOWN circuit, or, the telescope motor IN or OUT circuit depending on which direction of movement is requested. Both motors are reversible and the voltage and ground applied to the circuits is simply reversed to accomplish movement in opposite directions.

Conditions for Running the DTC

With the ignition switch ON, the SCCM checks the switch inputs every 30 seconds regardless of source voltage.

Conditions for Setting the DTC

When the SCCM detects two simultaneous inputs for more than two seconds, the module considers the inputs invalid and sets the DTC.

Action Taken When the DTC Sets

    • The SCCM no longer moves the steering column in the direction of the invalid inputs.
    • The SCCM continues to respond to inputs from the other manual switches.

Conditions for Clearing the DTC

    • The SCCM no longer receives two simultaneous switch inputs.
    • Use the scan tool to clear the DTC.
    • Use the On-Board Diagnostics to clear the code.

Diagnostic Aids

An intermittently stuck switch can cause this DTC to set. Refer to Testing for Intermittent Conditions and Poor Connections in Wiring Systems.

Step

Action

Value(s)

Yes

No

1

Did you perform the Tilt/Telescoping Steering Column Diagnostic System Check?

--

Go to Step 2

Go To Tilt/Telescoping Steering Column Diagnostic System Check

2

  1. Install a scan tool
  2. Turn ON the ignition, with the engine OFF.
  3. Using the scan tool, observe the Current Diagnostic Trouble Code(s) list in the DTC Information list.

Is DTC B2904 displayed as current?

--

Go to Step 3

Go to Diagnostic Aids

3

  1. Turn OFF the Ignition.
  2. Disconnect the tilt/telescoping switch harness connector.
  3. Turn ON the ignition, with the engine OFF.
  4. Using the scan tool, observe the Current DTC(s) list in the DTC Information list.

Is DTC B2904 displayed as current?

--

Go to Step 4

Go to Step 5

4

Inspect for poor connections at the harness connector of the tilt/telescoping steering column switch.

Refer to Testing for Intermittent Conditions and Poor Connections in Wiring Systems

Did you find and correct the condition?

--

Go to Step 7

Go to Step 6

5

Important: Perform the set up procedure for the tilt/telescoping steering column control module.

Replace the tilt/telescoping steering column switch. Refer to Steering Column Tilt Wheel and Telescope Switch Replacement .

Did you complete the replacement?

--

Go to Step 7

--

6

Important: Perform the set up procedure for the tilt/telescoping steering column control module.

Replace the control module. Refer to Steering Column Control Module Replacement .

Did you complete the replacement?

--

Go to Step 7

--

7

  1. Use the scan tool in order to clear the DTCs.
  2. Operate the vehicle within the Conditions for Running the DTC as specified in the supporting text.

Does the DTC reset?

--

Go to Step 2

System OK