GM Service Manual Online
For 1990-2009 cars only

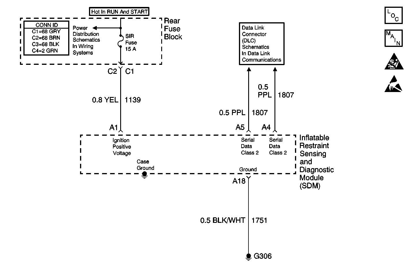
Object Number: 561918  Size: MF
SIR Components
Power, Ground, and Side Impact Sensors
SIR Handling Caution
Handling ESD Sensitive Parts Notice
IGN 1 Relay and SIR, Vent SOL, IGN 1 Fuses
Data Link Connector Schematics

Circuit Description

When you turn ON the ignition the Inflatable Restraint Sensing and Diagnostic Module (SDM) compares the restraint ID that is stored in the SDM to the restraints ID that is stored in the Dash Integration Module (DIM). The restraints ID that is being compared to contains the last four digits of SDM part number. The SDM receives these messages and compares them to information stored in memory, this DTC is set when the SDM receives a restraints ID over the class 2 communication circuit from the DIM that is different from the ID that is stored in the SDM memory.

Conditions for Running the DTC

Ignition 1 voltage is within the normal operating voltage range.

Conditions for Setting the DTC

    • The restraints ID that is stored in the SDM does not match the restraints ID that is stored in the DIM.
    • This test is only run once during power initalization.

Action Taken When the DTC Sets

    • The SDM commands ON the AIR BAG warning lamp via Class 2 serial data.
    • The SDM disables all deployments.

Conditions for Clearing the DTC

The restraints ID that is stored in the SDM matches the restraints ID that is stored in the DIM.

Diagnostic Aids

This DTC is an indication that an incorrect SDM is installed in the vehicle, or that the SDM and/or the DIM was replace without reprogramming the DIM with the new information.

Test Description

The following numbers refer to the step numbers in the diagnostic table:

  1. This test checks for current inflatable restraint sensing and diagnostic module (SDM) DTCs.

  2. This test checks to see if the correct Vehicle Information Numbers (VIN) is programmed in the Dash Integration Module (DIM).

  3. This step explains that the DIM must be programmed.

  4. This test checks to see if after clearing the DTCs if this DTC is current then its possible that the wrong SDM has been installed.

Step

Action

Value(s)

Yes

No

1

Did you perform the Diagnostic System Check?

--

Go to Step 2

Go to Diagnostic System Check - SIR

2

  1. Turn OFF the ignition.
  2. Use the scan tool to request SIR DTCs displayed.
  3. Turn ON the ignition, with the engine OFF.

Does the scan tool indicate that this DTC is current?

--

Go to Step 3

Go to Step 8

3

With the scan tool, verify that the Dash Integration Module (DIM) is programmed with the correct Vehicle Information Numbers (VIN) that is stored in the DIM to the Vin plate of the vehicle.

Is the DIM programmed with the correct VIN?

--

Go to Step 5

Go to Step 4

4

Use the scan tool to program the correct VIN into the DIM, refer to Body Control Module (BCM) Programming/RPO Configuration in Body Control Systems.

Did you complete the reprogramming procedure?

--

Go to Step 5

--

5

Perform the Setup SDM Serial Number into the DIM, refer to Body Control Module (BCM) Programming/RPO Configuration in Body Control Systems.

Did you complete the reprogramming procedure?

--

Go to Step 6

--

6

  1. Use the scan tool to check to see if DTC B1001 is current.
  2. Clear the DTCs.
  3. Turn OFF the ignition then turn ON the ignition, with the engine OFF.

Does the scan tool indicate that this DTC is current?

--

Go to Step 7

Go to Step 8

7

Replace the Inflatable Restraint Sensing and Diagnostic Module (SDM). Refer to Inflatable Restraint Sensing and Diagnostic Module Replacement .

Did you complete the replacement?

--

Go to Step 8

--

8

  1. Reconnect all SIR components.
  2. Verify that all components, connectors and CPAs are properly mounted.
  3. Use the scan tool in order to Clear the DTCs.
  4. Turn OFF the ignition then turn ON the ignition, with the engine OFF.
  5. Operate the vehicle within the Conditions for Running the DTC as specified in the text.

Did you complete the action?

--

Go to Diagnostic System Check - SIR

--