GM Service Manual Online
For 1990-2009 cars only
Makes
🢒
Cadillac
🢒
2000
🢒
Seville
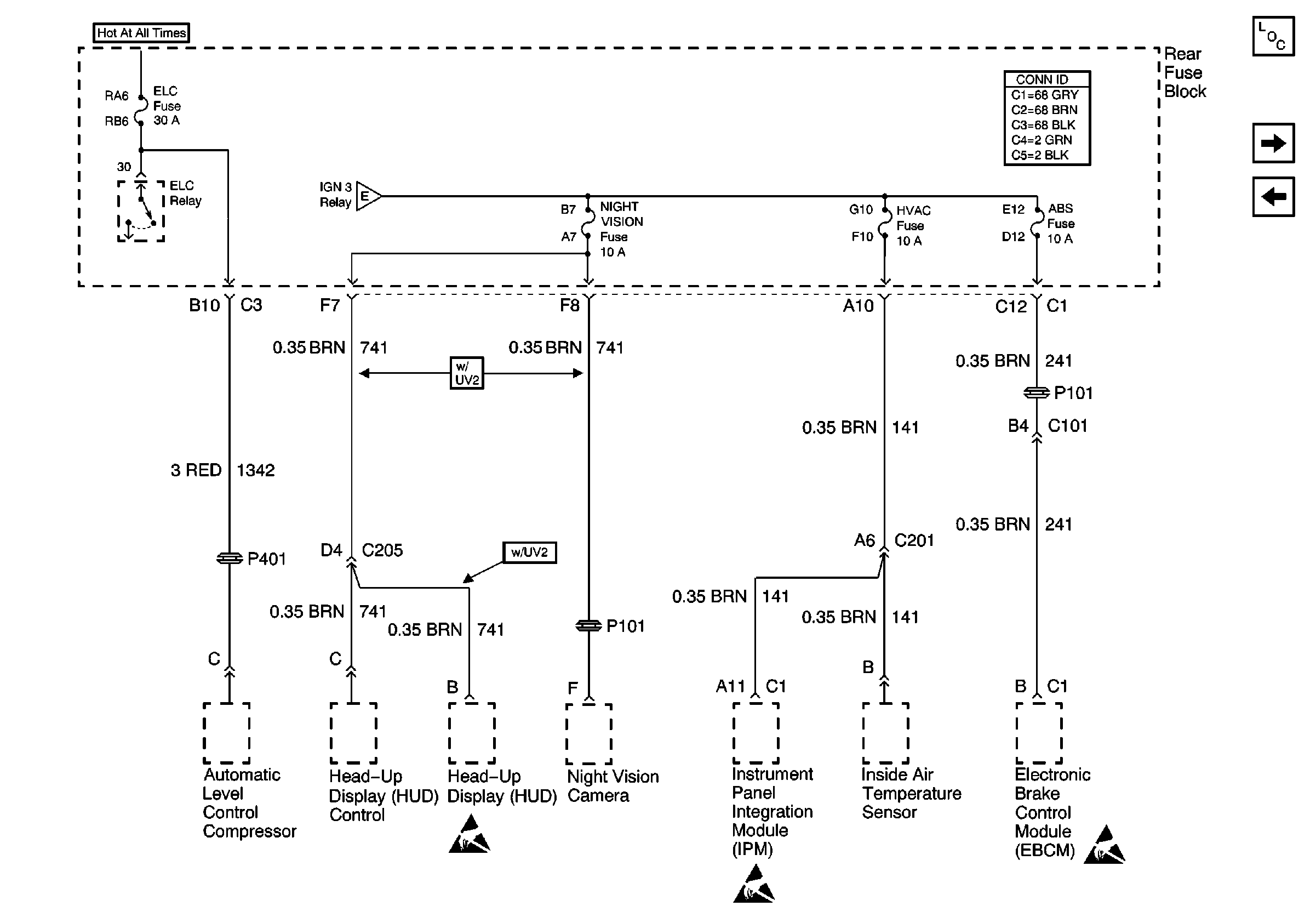
🢒 ELC, NIGHT VISION, HVAC, and ABS Fuses
ELC, NIGHT VISION, HVAC, and ABS Fuses
ELC, NIGHT VISION, HVAC, and ABS Fuses
Power and Grounding Components
F/PMP and REV/LK Fuses
IGN 3 Fuse
IGN 3 Fuse
Power and Grounding Connector End Views Fuse Blocks and Ignition Switch
Handling ESD Sensitive Parts Notice
Handling ESD Sensitive Parts Notice
Handling ESD Sensitive Parts Notice