GM Service Manual Online
For 1990-2009 cars only

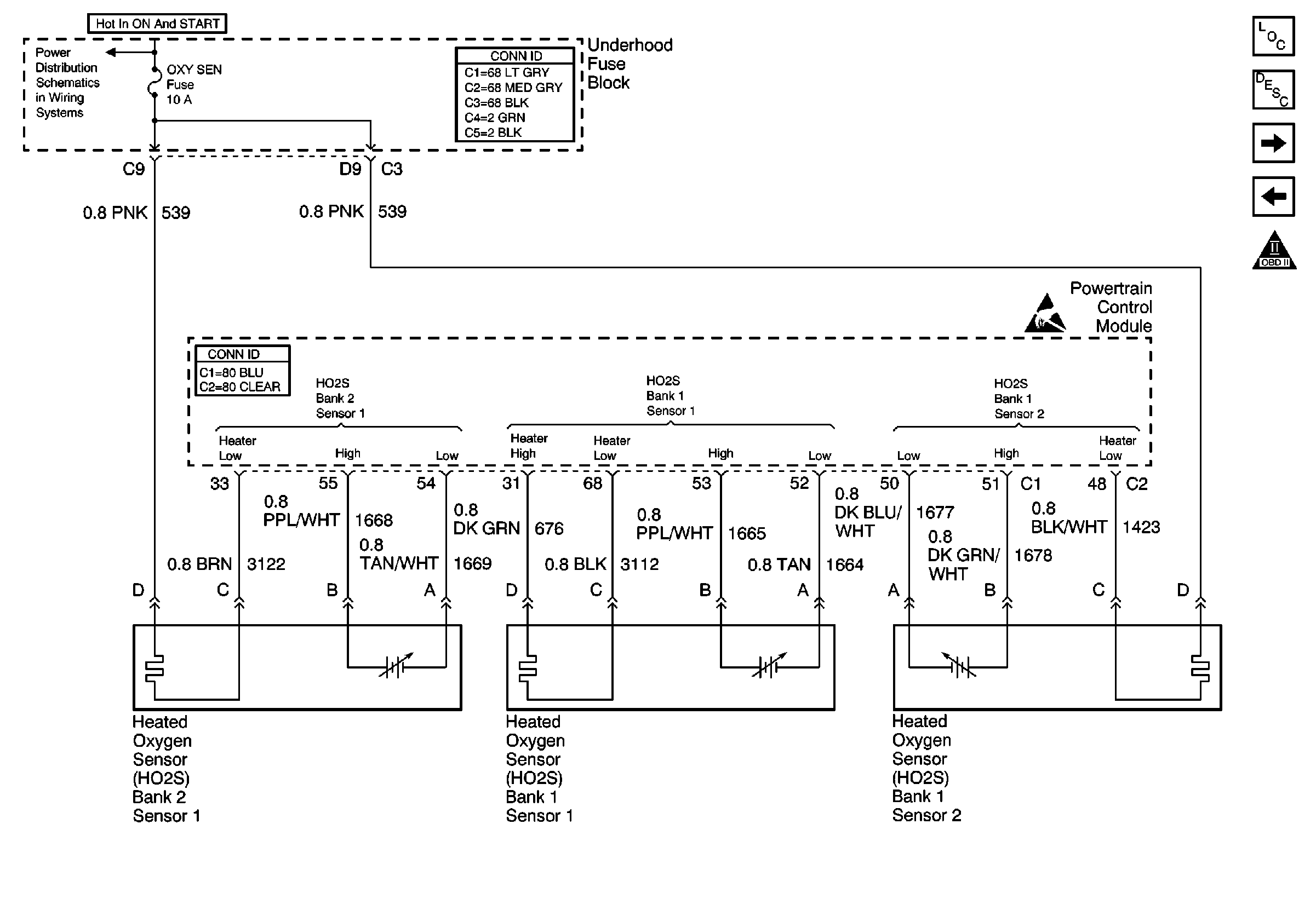
Refer to Engine Control Schematics

HO2S


Object Number: 576329  Size: FS
Engine Controls Components
OBD II Symbol Description Notice
EVAP and EGR Valve
Sensors
Handling ESD Sensitive Parts Notice
OXYSENA, OXYSENB, DIS and CRCONT Fuses
Information Sensors/Switches Description
.

Circuit Description

The oxygen sensor heater is a device used to reduce the time that the sensor takes to go active. The PCM uses a high side driver to apply ignition voltage to Bank 1 Sensor 1 heater, and a low side driver (ODM) to supply the ground path. The PCM monitors the high side driver for circuit conditions that are incorrect for the commanded state of the driver. If the PCM detects an improper circuit condition in the high side driver, DTC P0030 will set.

Conditions for Running the DTC

System voltage is between 9 volts and 18 volts.

Conditions for Setting the DTC

The PCM detects an incorrect circuit condition in the high side driver for HO2S Bank 1 Sensor 1.

Action Taken When the DTC Sets

    • The PCM illuminates the Malfunction Indicator Lamp (MIL) during the second Consecutive trip in which the diagnostic test runs and fails.
    • The PCM stores the conditions present when the DTC set as Freeze Frame and Fail Records data.

Conditions for Clearing the MIL/DTC

    • The PCM will turn the MIL OFF after the third consecutive trip in which the diagnostic runs and passes.
    • The history DTC will clear after 40 consecutive warm-up cycles have occurred without a malfunction.
    • The DTC can be cleared by using the scan tool Clear DTC Information function.

Diagnostic Aids

Notice: Use the connector test adapter kit J 35616-A for any test that requires probing the following items:

   • The PCM harness connectors
   • The electrical center fuse/relay cavities
   • The component terminals
   • The component harness connector
Using this kit will prevent damage caused by the improper probing of connector terminals.

If the condition is intermittent, refer to Intermittent Conditions in Symptoms.

Test Description

The numbers below refer to the step numbers on the diagnostic table.

  1. This step isolates the condition. If all three DTCs are set, this indicates that one of the heater low circuits are grounded. An internal HO2S condition can also cause all three DTCs to set.

  2. This step determines if the bank 1 sensor 1 heater high circuit is shorted to a ground.

  3. The bank 1 sensor 1 and bank 2 sensor 1 are internally connected within the PCM. If the voltage measurement is within the specified range, the bank 2 sensor 1 is causing the condition.

Step

Action

Values

Yes

No

1

Did you perform the Powertrain On Board Diagnostic (OBD) System Check?

--

Go to Step 4

Go to Powertrain On Board Diagnostic (OBD) System Check

2

Inspect the fuse that supplies ignition voltage to the oxygen sensor heater(s).

Is the fuse open?

--

Go to Step 3

Go to Step 4

3

Locate and repair the short to ground in the HO2S Bank 1 Sensor 2 or Bank 2 Sensor 1 heater high. Refer to Wiring Repairs in Wiring Systems.

Is action complete?

--

Go to Step 15

--

4

  1. Turn ON the ignition, with the engine OFF.
  2. With a scan tool, clear the DTCs.
  3. With a scan tool, monitor the DTC information for 30 seconds.

Are DTCs P0030, P1031, and P1032 set?

--

Go to Step 8

Go to Step 5

5

Is DTC P0030 set?

--

Go to Step 6

Go to Intermittent Conditions

6

  1. Turn OFF the ignition.
  2. Disconnect the HO2S bank 1 sensor 1 harness connector.
  3. Turn ON the ignition, with the engine OFF.
  4. With a DMM, measure the voltage at the HO2S bank 1 sensor 1 heater high circuit.

Is the voltage more than the specified value?

10V

Go to Step 13

Go to Step 7

7

  1. Turn OFF the ignition.
  2. Disconnect the PCM connector C1. Refer to Powertrain Control Module Replacement/Programming .
  3. Test the HO2S bank 1 sensor 1 heater high circuit for a short to ground. Refer to Circuit Testing and Wiring Repairs in Wiring Systems.

Did you find and correct the condition?

--

Go to Step 15

Go to Step 14

8

  1. Turn OFF the ignition.
  2. Disconnect the HO2S bank 1 sensor 1 harness connector.
  3. Turn ON the ignition, with the engine OFF.
  4. With a DMM, measure the voltage at the HO2S bank 1 sensor 1 heater low circuit.

Is the voltage more than the specified value?

10V

Go to Step 13

Go to Step 9

9

  1. Turn OFF the ignition.
  2. Caution: Avoid contact with moving parts and hot surfaces while working around a running engine in order to prevent physical injury.

  3. Disconnect the HO2S bank 2 sensor 1 harness connector.
  4. Turn ON the ignition, with the engine OFF.
  5. With a DMM, measure the voltage at the HO2S bank 1 sensor 1 Heater low circuit.

Is the voltage within the specified range?

1.2-1.7V

Go to Step 12

Go to Step 10

10

  1. Turn OFF the ignition.
  2. Disconnect the PCM harness connector C1. Refer to Powertrain Control Module Replacement/Programming .
  3. Test the HO2S bank 1 sensor 1 heater low circuit for a short to ground. Refer to Circuit Testing and Wiring Repairs in Wiring Systems.

Did you find and correct the condition?

--

Go to Step 15

Go to Step 11

11

Test the HO2S bank 2 sensor 1 heater low circuit for a short to ground. Refer to Circuit Testing and Wiring Repairs in Wiring Systems.

Did you find and correct the condition?

--

Go to Step 15

Go to Step 14

12

Replace HO2S bank 2 sensor 1. Refer to Heated Oxygen Sensor Replacement - Bank 2 .

Did you complete the replacement?

--

Go to Step 15

--

13

Replace HO2S bank 1 sensor 1. Refer to Heated Oxygen Sensor Replacement - Bank 1 Sensor 1 .

Did you complete the replacement?

--

Go to Step 15

--

14

Important: The replacement PCM must be programmed.

Replace the PCM. Refer Powertrain Control Module Replacement/Programming .

Did you complete the replacement?

--

Go to Step 15

--

15

  1. Observe and record the scan tool Freeze Frame and/or Fail Records Information.
  2. With a scan tool, clear the DTCs.
  3. Operate the vehicle within the parameters listed in the Conditions for Running the DTC.
  4. With a scan tool, monitor the DTC Information.

Does the scan tool display the DTC ran and passed?

--

System OK

Go to Step 4