GM Service Manual Online
For 1990-2009 cars only

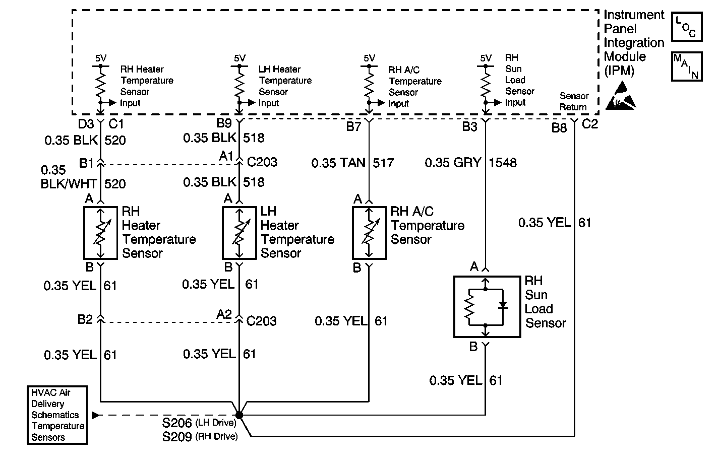
Object Number: 562649  Size: MF
HVAC Components
HVAC Air Delivery/Temperature Control Schematics
Handling ESD Sensitive Parts Notice
HVAC Air Delivery/Temperature Control Schematics

Circuit Description

The right A/C temperature sensor is a thermistor that controls signal voltage to the Instrument Panel Integration Module (IPM). The IPM supplies voltage on circuit 517. When the sensor is cold, the resistance is high and the IPM will sense a high signal voltage at terminal B7, connector C2. When the sensor warms, resistance is reduced and the signal voltage is pulled low through circuit 61. Signal voltage will vary from 5 V (open circuit) to 0 V (short circuit).

Conditions for Setting the DTC

    • The ignition is ON.
    • Circuit open or short.

Action Taken When the DTC Sets

    • A default value of 128 counts and 24°C (75°F) will be used by the IPM.
    • The default valve allows the system to operate.
    • If air delivery is on A/C or bilevel, the air mix two door will cycle between full cold and full hot.

Conditions for Clearing the MIL/DTC

    • Using a Scan Tool .
    • A current DTC will clear when the diagnostic runs and does not fail.
    • IPM battery voltage is interrupted.

Test Description

The numbers below refer to the step numbers on the diagnostic table.

  1. Perform the Body Control Module (BCM) Diagnostic System Check before continuing with the diagnosis of this DTC.

  2. Ensures that the DTC was not set in error.

  3. Determines whether the cause of the malfunction is the sensor or an open or short in a circuit.

  4. The Scan Tool checks for proper sensor operation. Clear all the DTCs after the repair procedure is complete.

Step

Action

Value(s)

Yes

No

1

Was the BCM diagnostic system check performed?

--

Go to Step 2

Go to Diagnostic System Check - Body Control System in Body Control Systems

2

  1. Turn ignition ON.
  2. Disconnect the sensor.
  3. Measure the voltage between sensor harness connector terminal A and B.

Refer to Measuring Voltage in Wiring Systems.

Is the specified voltage measured?

5 V

Go to Step 3

Go to Step 4

3

  1. Turn ignition OFF.
  2. Reconnect the sensor.
  3. Connect Scan Tool .
  4. Turn the ignition ON.
  5. Clear the DTC using Scan Tool .
  6. Start the engine.

Did DTC reset?

--

Go to Step 4

Go to Testing for Intermittent Conditions and Poor Connections in Wiring Systems

4

  1. Select IPM open/short data on the Scan Tool .
  2. Display RH A/C temperature data.
  3. Start the engine.
  4. Unplug the RH A/C temperature sensor.
  5. The RH A/C temperature voltage increases to 5 V
  6. Reconnect the RH A/C temperature sensor connector.

Did the RH A/C temperature sensor voltage decrease?

--

Go to Step 5

Go to Step 6

5

Replace sensor.

Refer to Air Conditioning (A/C) Temperature Sensor Replacement in HVAC.

Is the replacement complete?

--

Go to Step 9

--

6

Inspect CKT 61 (YEL) for an open or short .

Was an open or short located?

--

Go to Step 7

Go to Step 8

7

  1. Inspect CKT 517 (TAN) for an open or short .
  2. If OK, replace the IPM. Refer to Instrument Panel Module Replacement in Body Control Systems.

Is the replacement complete?

--

Go to Step 9

--

8

Repair open or short in CKT 61 (YEL),

Refer to Wiring Repairs in Wiring Systems.

Is the repair complete?

--

Go to Step 9

--

9

  1. Using the Scan Tool clear all the DTCs.
  2. Confirm proper operation of the A/C system.

Is the A/C system operating normally?

--

Go to Diagnostic System Check - Body Control System in Body Control Systems

--