GM Service Manual Online
For 1990-2009 cars only

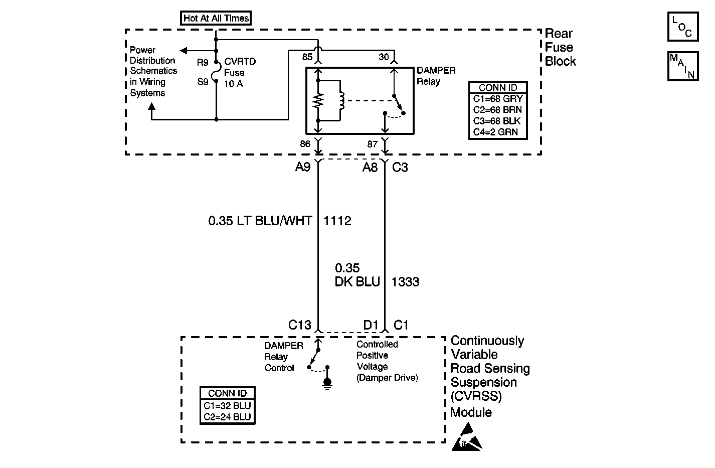
Object Number: 582073  Size: MF
Suspension Controls Component Views
Power and Ground
Handling ESD Sensitive Parts Notice
Road Sensing Suspension Control Module Description
Power Distribution Schematics
Power and Grounding Connector End Views

Circuit Description

Battery voltage for the Continuously Variable Road Sensing Suspension (CVRSS) damper actuator is supplied to the Electronic Suspension Control (ELC) module through the CVRSS Damper Control Relay circuit. The Damper Control Relay circuit is controlled by the Electronic Suspension Control (ELC) module. The Electronic Suspension Control (ELC) module monitors the relay drive circuit and each damper actuator high-side and low-side drive circuits for fault conditions.

DTC C0690 is used to detect a fault condition with the damper control relay contacts and associated wiring.

Conditions for Running the DTC

    • The Ignition is on.
    • The fault is detected during three consecutive ignition cycles, or during the same ignition cycle after clearing the DTC with a scan tool.

Conditions for Setting the DTC

The DTC is set when there is a loss of battery voltage in the controlled positive voltage circuit of the Electronic Suspension Control (ELC) module.

Action Taken When the DTC Sets

    • ALL the damper actuators will be disabled by commanding 0 % PWM duty cycle.
    • The vehicle ride will be soft.
    • The vehicle speed will be limited.
    • The SERVICE RIDE CONTROL message will be displayed.

Conditions for Clearing the MIL/DTC

    • The scan tool can be used to clear the DTC.
    • The On-Board diagnostic CLEAR RSS CODES feature can be used to clear the DTC.
    • The DTC is saved as history when the Electronic Suspension Control (ELC) module no longer sees a battery voltage in the controlled positive voltage circuit after the ignition has been cycled. The DTC will clear if the fault does not return after 50 consecutive ignition cycles.

Diagnostic Aids

Refer to Testing for Intermittent Conditions and Poor Connections in Wiring Systems.

Test Description

The number(s) below refer to the step number(s) on the diagnostic table.

  1. Listen for an audible click when the damper relay operates. Command both the ON and OFF states. Repeat the commands as necessary.

  2. Tests for voltage at the coil side of the damper relay. The CVRTD fuse supplies power to the coil side of the damper relay.

  3. Verifies that the Electronic Suspension Control (ELC) module is providing ground to the damper relay.

  4. Tests if ground is constantly being applied to the damper relay.

Step

Action

Value(s)

Yes

No

1

Did you perform the Road Sensing Suspension Diagnostic System Check?

--

Go to Step 2

Go to Diagnostic System Check

2

  1. Install a scan tool.
  2. Turn ON the ignition, with the engine OFF.
  3. With a scan tool, command the damper relay ON and OFF.

Does the damper relay turn ON and OFF with each command?

--

Go to Diagnostic Aids

Go to Step 3

3

  1. Turn OFF the ignition.
  2. Disconnect the damper relay.
  3. Turn ON the ignition, with the engine OFF.
  4. Probe the coil side feed circuit of the damper relay with a test lamp that is connected to a good ground.

Does the test lamp illuminate?

--

Go to Step 4

Go to Step 10

4

  1. Connect a test lamp between the control circuit of the damper relay and the coil side feed circuit of the damper relay.
  2. With a scan tool, command the damper relay ON and OFF .

Does the test lamp turn ON and OFF with each command?

--

Go to Step 8

Go to Step 5

5

Does the test lamp remain illuminated with each command?

--

Go to Step 7

Go to Step 6

6

Test the control circuit of the damper relay for an open. Refer to Circuit Testing and Wiring Repairs in Wiring Systems.

Did you find and correct the condition?

--

Go to Step 13

Go to Step 9

7

Test the control circuit of the damper relay for a short to ground. Refer to Circuit Testing and Wiring Repairs in Wiring Systems.

Did you find and correct the condition?

--

Go to Step 13

Go to Step 9

8

Inspect for poor connections at the damper relay. Refer to Testing for Intermittent Conditions and Poor Connections and Connector Repairs in Wiring Systems.

Did you find and correct the condition?

--

Go to Step 13

Go to Step 11

9

Inspect for poor connections at the harness connector of the Electronic Suspension Control (ELC) module. Refer to Testing for Intermittent Conditions and Poor Connections and Connector Repairs in Wiring Systems.

Did you find and correct the condition?

--

Go to Step 13

Go to Step 12

10

Repair the coil side feed circuit of the damper relay. Refer to Wiring Repairs in Wiring Systems.

Did you complete the repair?

--

Go to Step 13

--

11

Replace the damper relay.

Did you complete the replacement?

--

Go to Step 13

--

12

Important: Perform the set up procedure for the Electronic Suspension Control (ELC) module.

Replace the Electronic Suspension Control (ELC) module. Refer to Electronic Suspension Control Module Replacement .

Did you complete the replacement?

--

Go to Step 13

--

13

  1. Use the scan tool in order to clear the DTCs .
  2. Operate the vehicle within the Conditions for Running the DTC as specified in the supporting text.

Does the DTC reset?

--

Go to Step 2

System OK