GM Service Manual Online
For 1990-2009 cars only
Figure 1:

Power Mirror (w/A45)


Object Number: 642381  Size: FS
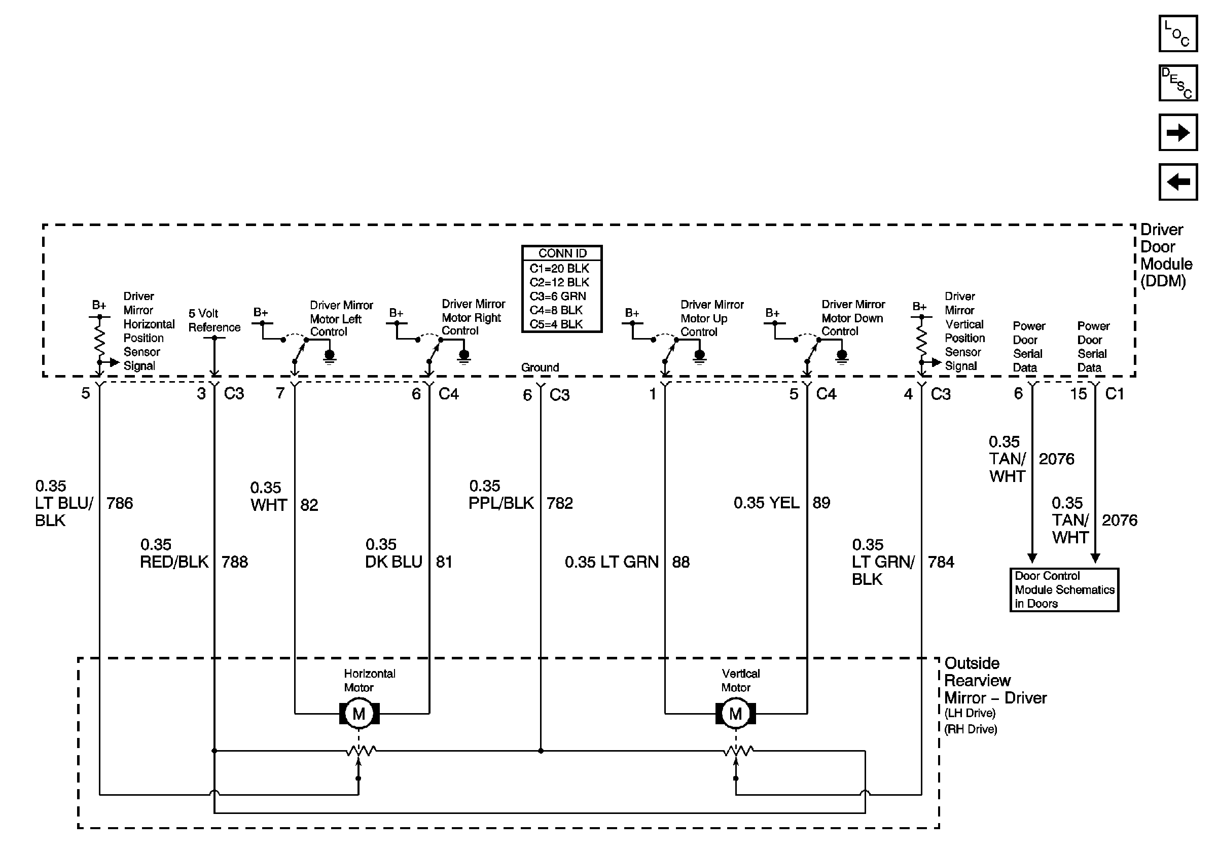
Driver Power Mirror (w/A45)
Power Door Systems Component Views
Outside Mirror Description and Operation
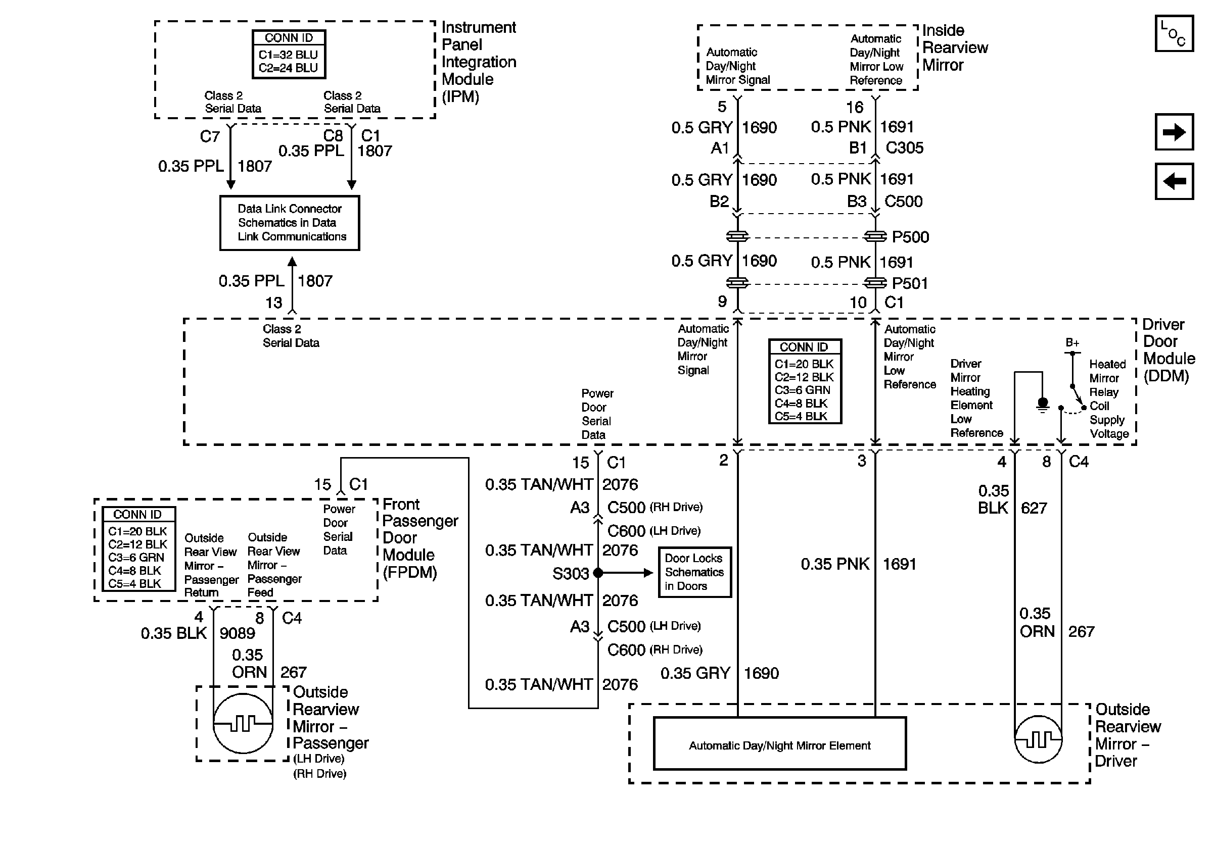
Rear Door Dimming
Class 2 Serial Data Line (LH Drive) (2 of 2)
Figure 2:

Driver Power Mirror (w/A45)


Object Number: 642385  Size: FS
Power Mirror (w/A45)
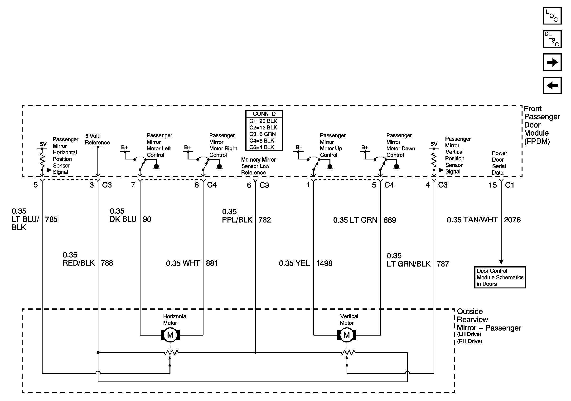
Passenger Power Mirror (w/A45)
Power Door Systems Component Views
Outside Mirror Description and Operation
Power Door Serial Data
Figure 3:

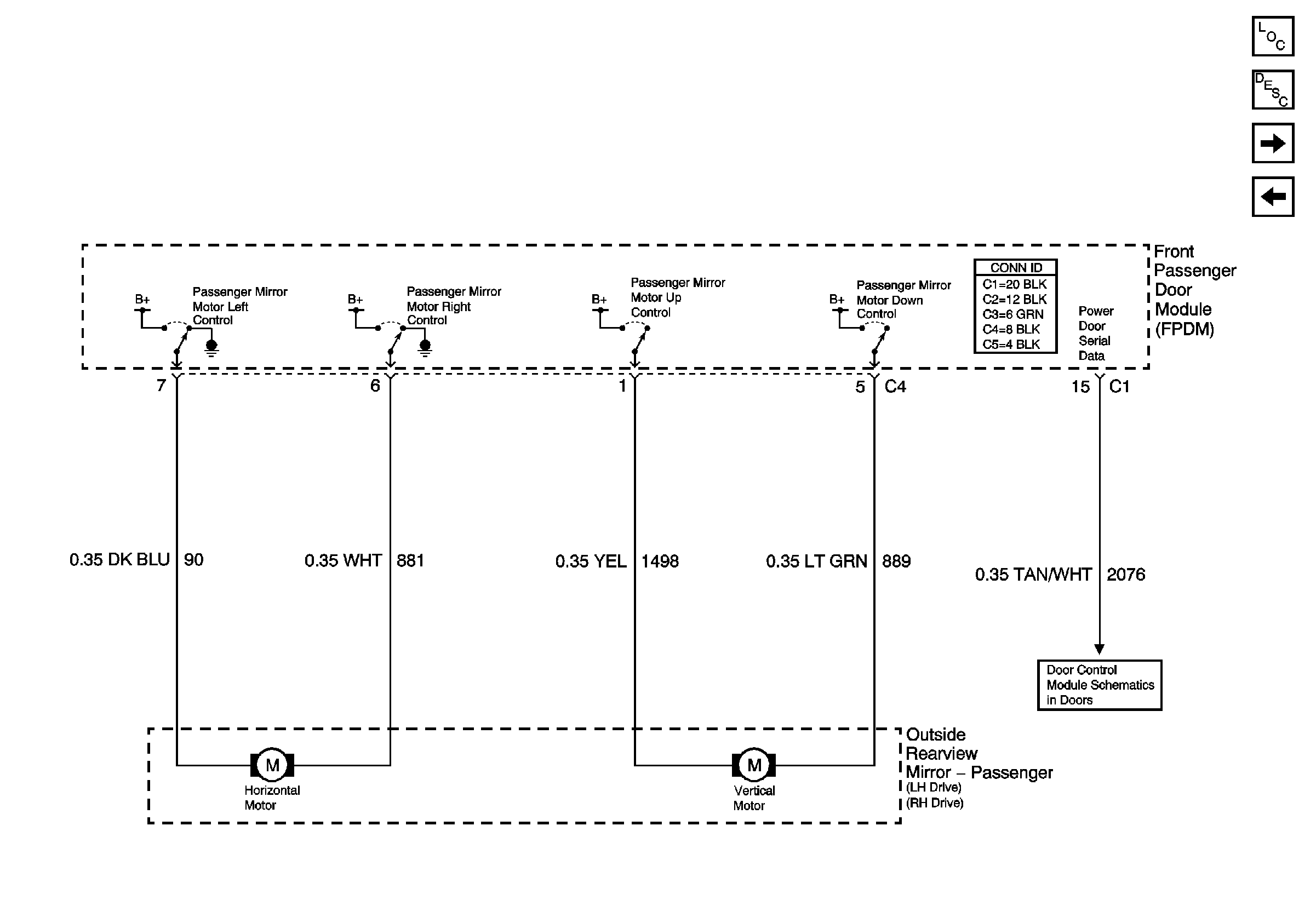
Passenger Power Mirror (w/A45)


Object Number: 642386  Size: FS
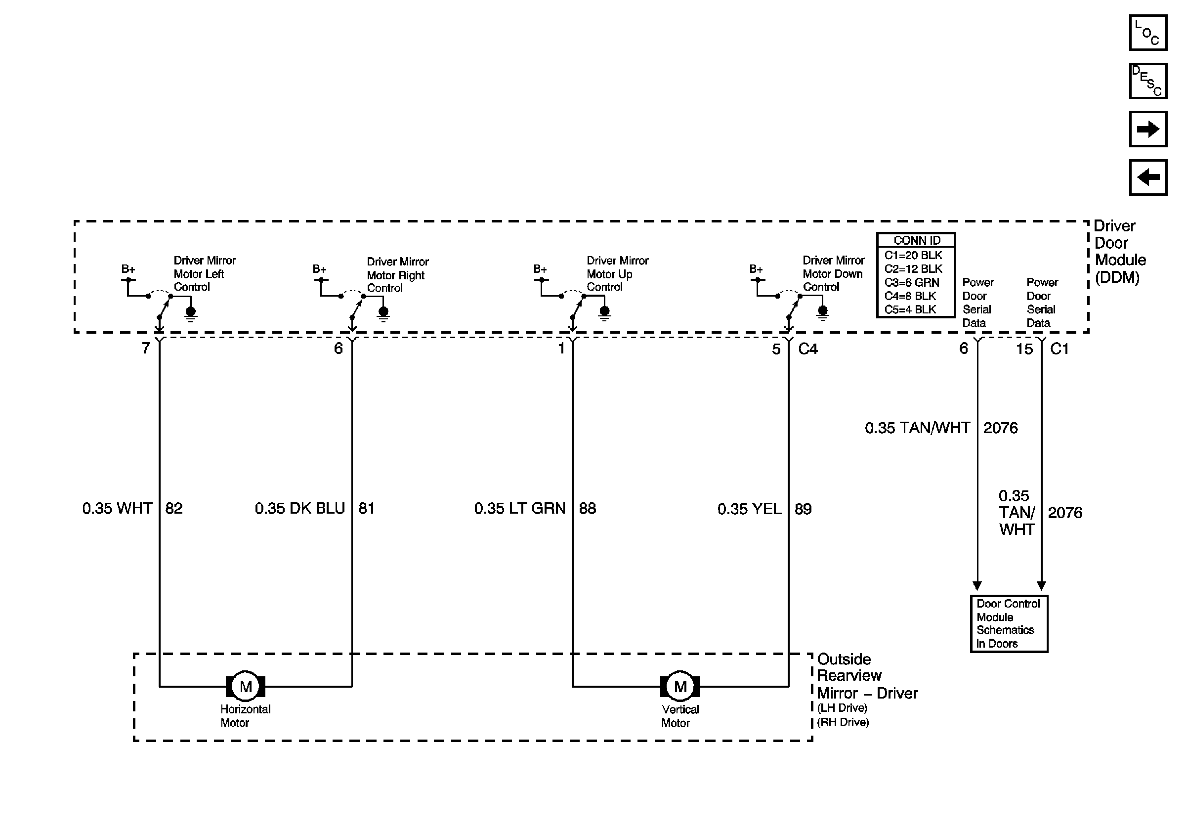
Driver Power Mirror (w/A45)
Driver Power Mirror (w/o A45)
Power Door Systems Component Views
Outside Mirror Description and Operation
Power Door Serial Data
Figure 4:

Driver Power Mirror (w/o A45)


Object Number: 642390  Size: FS
Passenger Power Mirror (w/A45)
Passenger Power Mirror (w/o A45)
Power Door Systems Component Views
Outside Mirror Description and Operation
Power Door Serial Data
Figure 5:

Passenger Power Mirror (w/o A45)


Object Number: 642391  Size: FS
Driver Power Mirror (w/o A45)
Heated Mirrors
Power Door Systems Component Views
Outside Mirror Description and Operation
Power Door Serial Data
Figure 6:

Heated Mirrors


Object Number: 642394  Size: FS
Passenger Power Mirror (w/o A45)
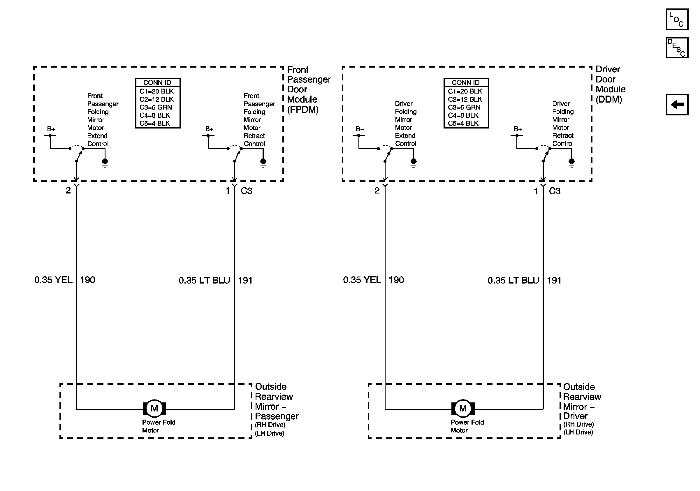
Express Folding Mirrors
Power Door Systems Component Views
Outside Mirror Description and Operation
Class 2 Serial Data Line (LH Drive) (2 of 2)
Driver and LR Doors
Figure 7:

Express Folding Mirrors


Object Number: 642396  Size: FS
Heated Mirrors
Power Door Systems Component Views
Outside Mirror Description and Operation