GM Service Manual Online
For 1990-2009 cars only
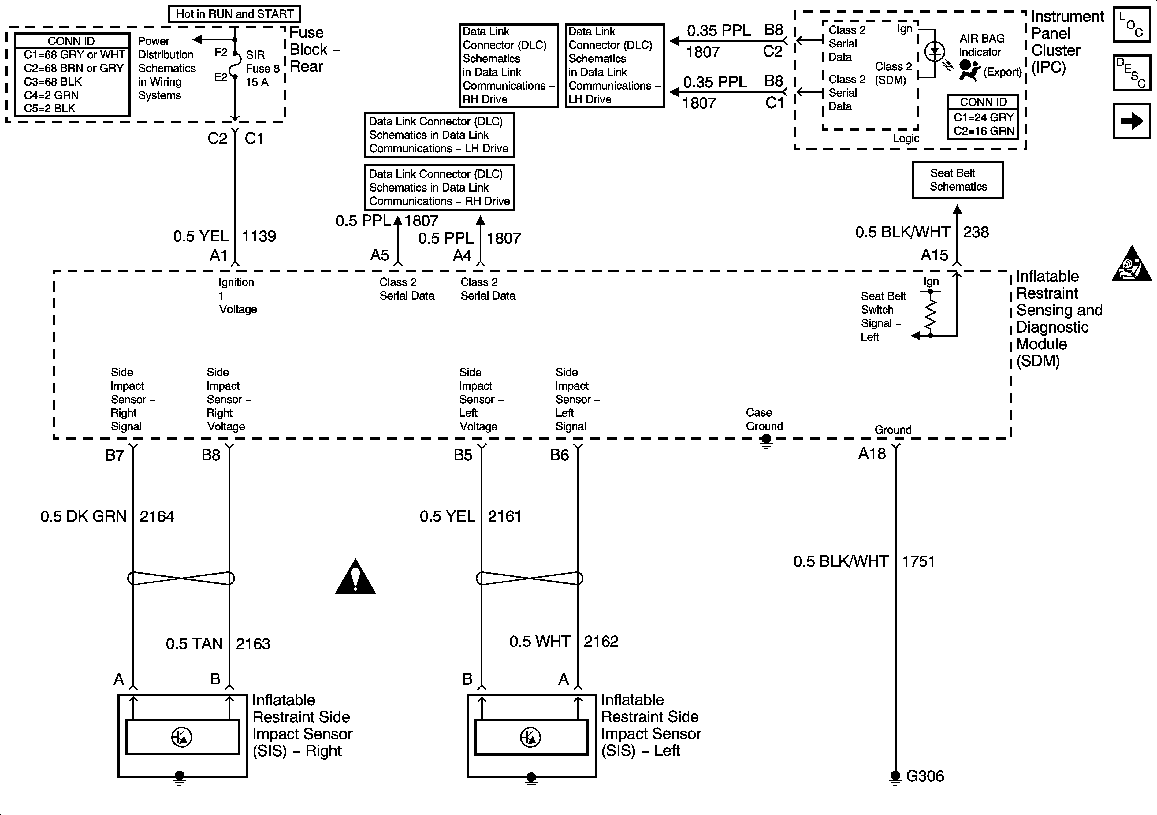
Figure 1:

Power, Ground, and Side Impact Sensors


Object Number: 879765  Size: FS
Master Electrical Component List
SIR System Description and Operation
SIR Schematics-SDM Frontal Inflator Modules
SIR Handling Caution
SIR Schematic Icons
Seat Belt Schematics
Power Distribution Schematics-Battery Feed to Fuse Block Rear
Data Link Connector (DLC) Schematics-Serial Data Line (LH Drive) (1 of 2)
Data Link Connector (DLC) Schematics-Serial Data Line (RH Drive) (2 of 2)
Data Link Connector (DLC) Schematics-Serial Data Line (RH Drive) (1 of 2)
Data Link Connector (DLC) Schematics-Serial Data Line (LH Drive) (2 of 2)
Figure 2:

SDM Frontal Inflator Modules


Object Number: 788510  Size: FS
Master Electrical Component List
SIR System Description and Operation
SIR Schematics-SDM and Side Impact Inflator Modules with Pretensioners
SIR Schematics-Power, Ground, and Side Impact Sensors
SIR Handling Caution
SIR Schematic Icons
SIR Schematic Icons
SIR Schematic Icons
SIR Schematic Icons
Figure 3:

SDM and Side Impact Inflator Modules w/Pretensioners


Object Number: 788512  Size: FS
Master Electrical Component List
SIR System Description and Operation
SIR Schematics-SDM Frontal Inflator Modules
SIR Handling Caution
SIR Schematic Icons
SIR Schematic Icons
SIR Schematic Icons
SIR Schematic Icons