GM Service Manual Online
For 1990-2009 cars only
Makes
🢒
Cadillac
🢒
2004
🢒
Seville
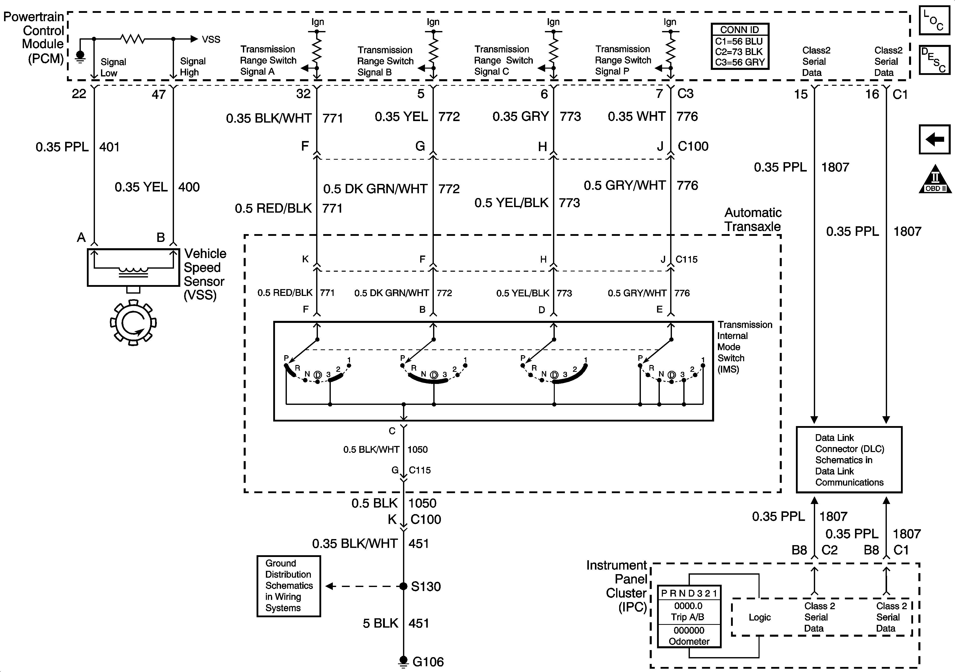
🢒 Automatic Transmission Controls-Trans Internal Mode Switch (IMS) and (VSS)
Automatic Transmission Controls-Trans Internal Mode Switch (IMS) and (VSS)
Transmission Internal Mode Switch (IMS), and VSS
Master Electrical Component List
Electronic Component Description
Automatic transmission Controls-Transaxle Sensors
OBD II Symbol Description Notice
Ground Distribution Schematics-G106
Data Link Connector (DLC) Schematics-Serial Data Line (LH Drive) (1 of 2)