GM Service Manual Online
For 1990-2009 cars only
Makes
🢒
Cadillac
🢒
2001
🢒
Seville - RHD
🢒 DDM Power, Grounds, Inputs and Outputs
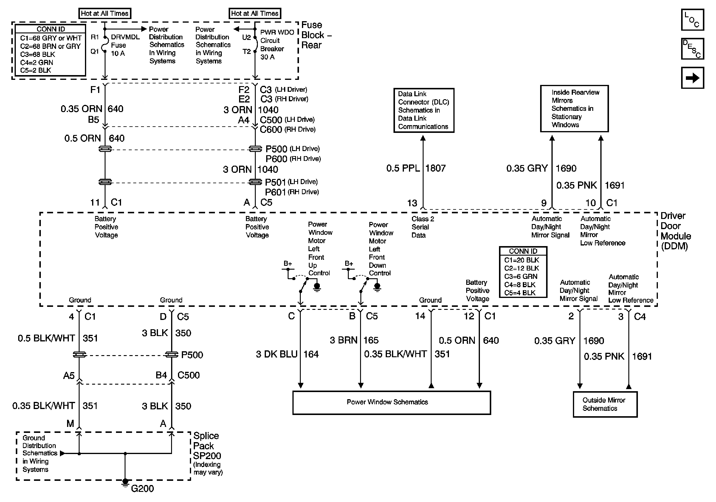
DDM Power, Grounds, Inputs and Outputs
DDM Power, Grounds, Inputs and Outputs
Master Electrical Component List
Power Windows Description and Operation
DDM Inputs, Outputs, and Class 2
Heated Mirrors
Driver Power Window
G200
Battery Feed to Fuse Block - Rear
Battery Feed to Fuse Block - Rear
Class 2 Serial Data Line (LH Drive) (2 of 2)
Inside Rearview Mirror Power and Ground