GM Service Manual Online
For 1990-2009 cars only
Makes
🢒
Cadillac
🢒
2001
🢒
Seville - RHD
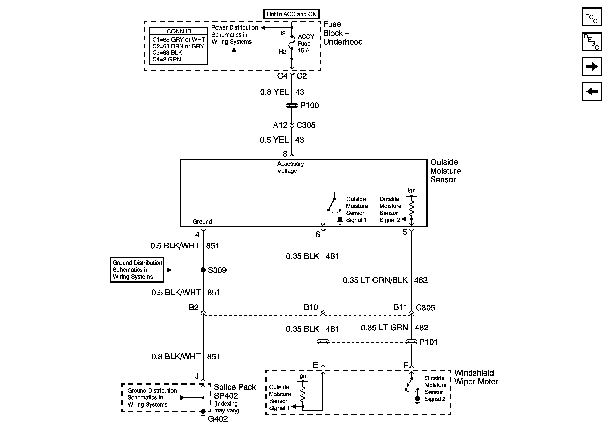
🢒 Wiper System (w/CE1)
Wiper System (w/CE1)
Wiper System (w/CE1)
Master Electrical Component List
Wiper/Washer System Description and Operation
Washer Fluid Level Switches
Headlamp Washer (Export)
G402 1 of 2
G402 1 of 2
Battery Feed to Fuse Block - Underhood