GM Service Manual Online
For 1990-2009 cars only

Tools Required

J 42058 Frame Adapter Clamp

Removal Procedure

    Caution: Refer to Approved Equipment for Collision Repair Caution in the Preface section.

  1. Disable the SIR system. Refer to SIR Disabling and Enabling in SIR.
  2. Disconnect the negative battery cable. Refer to Battery Negative Cable Disconnection and Connection in Engine Electrical.
  3. Remove all related panels and components.
  4. Remove the front impact bar. Refer to Front Bumper Impact Bar Replacement .
  5. Note the location and remove the sealers and anti-corrosion materials from the repair area, as necessary. Refer to Anti-Corrosion Treatment and Repair in Paint and Coatings.
  6. Restore as much of the damage as possible to the factory specifications. Refer to Dimensions - Body and to Measurements - Underbody .
  7. Use J 42058 to secure the vehicle if pulling and straightening is required.
  8. Inspect the front of dash panel, floor panels, and all other sheet molded compound (SMC) for cracks or areas that may need to be repaired or resealed. Refer to Rigid Plastic Part Repair Materials in Plastic Panel Information and Repair.

  9. Object Number: 861387  Size: SH
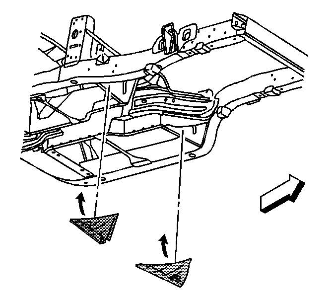
  10. Remove any welds as necessary and pry up the extension panel to expose the frame rail.

  11. Object Number: 861392  Size: SH

    Important: The new lower floor extension panel is to be reinstalled 50 mm (2 in) forward of the SMC front floor panel. This will eliminate the potential to de-bond the front floor panel when reinstalling the lower floor extension panel.

  12. Apply 50 mm (2 in) tape to the lower floor extension panel where the SMC front floor panel stops and the lower floor extension panel begins.
  13. Using a die grinder, cut along the forward edge of the tape to create a 50 mm (2 in) flange.
  14. Locate and drill out all factory welds. Note the number and location of the welds for installation of the new lower floor extension panel.

  15. Object Number: 861395  Size: SH
  16. Remove the lower floor extension panel.
  17. Using a die grinder cut through the stitch welds that attach the tunnel brace to the frame rail. Make cuts favoring the frame rail side of the welds.

  18. Object Number: 860976  Size: SH
  19. Remove the damaged section of the frame rail within the shaded area.

Installation Procedure

    Caution: Refer to Collision Sectioning Caution in the Preface section.


    Object Number: 943360  Size: SH
  1. Determine the sectioning joint location within the recommended area.

  2. Object Number: 870423  Size: SH
  3. Cut the new frame section from the new frame rail assembly.
  4. Perform the offset lap joint sectioning. Refer to Offset Lap Joint Repair .
  5. Clean and prepare all of the welded mating surfaces.
  6. Apply 3M weld-thru coating P/N 05916 or equivalent as necessary.
  7. Using a Metal Inert Gas (MIG) welder, stitch weld the tunnel brace to the frame rail duplicating the factory welds.
  8. Drill 8 mm (5/16 in) holes in the new lower floor extension panel for plug welding.

  9. Object Number: 861408  Size: SH
  10. Replace the lower floor extension panel. Trim to fit and tuck the lower floor extension panel inside of the 50 mm (2 in) flange created from the original extension.

  11. Object Number: 861410  Size: SH
  12. Using a MIG welder, tack weld the lower floor extension panel in to place.
  13. Using a MIG welder, weld a 25 mm (1 in) stitch along the flange created from the original extension.
  14. Using a MIG welder, stitch weld the lower floor extension panel to the frame rail duplicating the factory welds.
  15. Using a MIG welder, plug weld the lower floor extension panel to the tunnel brace.
  16. Re-position the extension panel.
  17. Using a MIG welder, weld the extension panel duplicating the factory welds.
  18. Install the front impact bar. Refer to Front Bumper Impact Bar Replacement .
  19. Apply the sealers and anti-corrosion materials to the repair area, as necessary. Refer to Anti-Corrosion Treatment and Repair in Paint and Coating.
  20. Paint the repair area. Refer to Basecoat/Clearcoat Paint Systems in Paint and Coating.
  21. Install all related panels and components.
  22. Connect the negative battery cable. Refer to Battery Negative Cable Disconnection and Connection in Engine Electrical.
  23. Enable the SIR system. Refer to SIR Disabling and Enabling in SIR.