GM Service Manual Online
For 1990-2009 cars only

Tools Required

J 42058 Frame Adapter Clamp

Removal Procedure

Caution: Refer to Approved Equipment for Collision Repair Caution in the Preface section.

The rear compartment panel is made of sheet molded compound (SMC), and is bonded to the rear structure and frame rails with structural adhesive.

  1. Disable the SIR system. Refer to SIR Disabling and Enabling in SIR.
  2. Disconnect the negative battery cable. Refer to Battery Negative Cable Disconnection and Connection in Engine Electrical.
  3. Remove all related panels and components.
  4. Remove the folding top module. Refer to Folding Top Module Assembly Replacement .
  5. Caution: Refer to Actions to Take When Working with Fuel Caution in the Preface section.

  6. Make sure the fuel inlet is sealed before proceeding with repair procedure.
  7. Remove the rear compartment frame panels. Refer to Rear Compartment Panel Frame Replacement .

  8. Object Number: 951686  Size: SH
  9. Remove screws attaching the rear compartment panel to the frame rails.

  10. Object Number: 948046  Size: SH

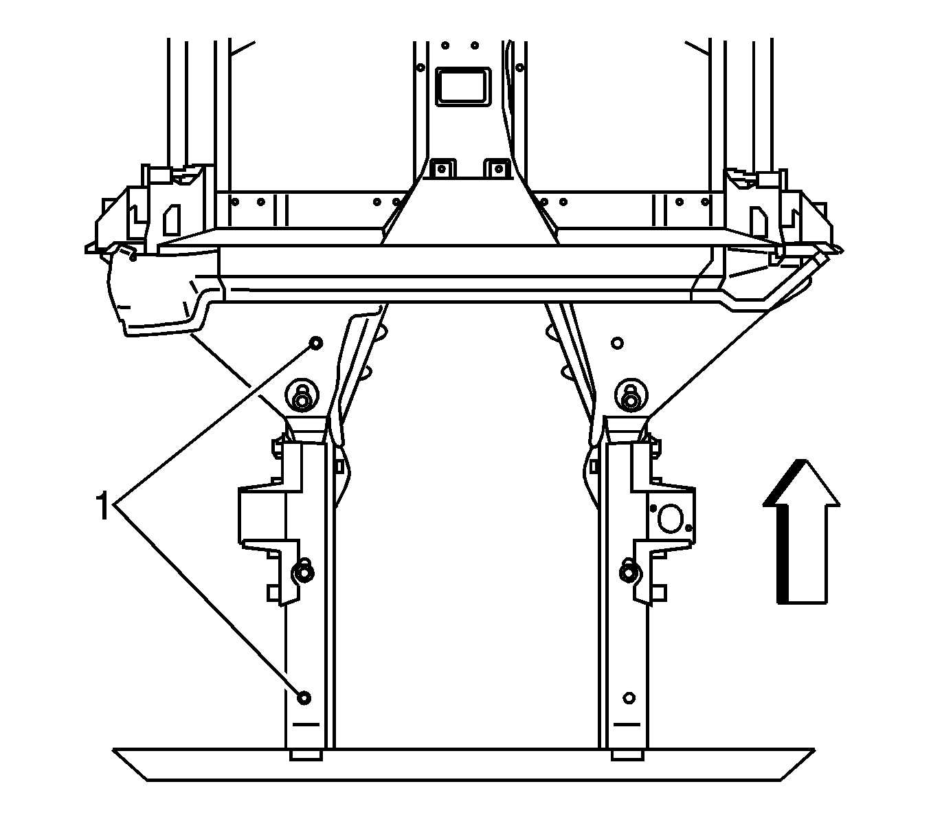
    Important: The front edge of the rear compartment panel is also bonded across the seat back area and along the top of the rear impact bar.

  11. Remove the rear compartment panel by applying heat to the inside of the rear compartment along the bond lines (1) indicated on the floor.
  12. Pry to detach adhesive along the bonding surface.
  13. The front edge of rear compartment panel is also bonded across the seat back area and along the top of the rear impact bar. Apply heat and pry to detach adhesive along the bonding surface.

  14. Object Number: 948502  Size: SH
  15. Remove the rear compartment panel.
  16. Save any and all brackets, mounting studs, and accessories for transfer to the new rear compartment panel.
  17. Note the location of the adhesive and remove all remaining loose adhesive.
  18. Inspect the rear structure and frame rails for damage.
  19. Restore as much of the damage as possible to the factory specifications. Refer to Dimensions - Body and Measurements - Underbody .
  20. Use J 42058 to secure the vehicle if pulling and straightening is required.

Installation Procedure

  1. Before applying adhesive dry fit the rear compartment panel for proper fit and alignment.
  2. Important: DO NOT top coat any bonding surface. Use primer only on bonding surfaces. Refer to adhesive manufacturer's recommendations.

  3. Clean and prepare all bonding mating surfaces according to adhesive manufacturer's recommendations.

  4. Object Number: 948030  Size: SH
  5. Apply a consistent bead of structural adhesive (1) 12 mm (1/2 in) in diameter to the top of the frame rails also to the backside of the lock pillars, as well as over the fuel filler neck and to all original bonding surfaces. Refer to Sheet Molded Compound (SMC) Panel Bonding .

  6. Object Number: 948069  Size: SH

    Important: The rear compartment panel is positioned to the driver's side frame rail using two dimples formed in the bottom surface of the rear compartment panel.

  7. Position the rear compartment panel to the two holes (1) in the frame rail.

  8. Object Number: 948502  Size: SH
  9. Install the rear compartment panel to the vehicle.
  10. Apply pressure to the rear compartment panel to set the adhesive.

  11. Object Number: 951686  Size: SH
  12. Install screws attaching the rear compartment panel to the frame rails.
  13. Clamp or mechanically fasten the rear compartment panel into place as necessary.
  14. Remove any excess adhesive.
  15. Install the rear compartment frame panels. Refer to Rear Compartment Panel Frame Replacement .
  16. Install all related panels and components.
  17. Connect the negative battery cable. Refer to Battery Negative Cable Disconnection and Connection in Engine Electrical.
  18. Enable the SIR system. Refer to SIR Disabling and Enabling in SIR.