GM Service Manual Online
For 1990-2009 cars only

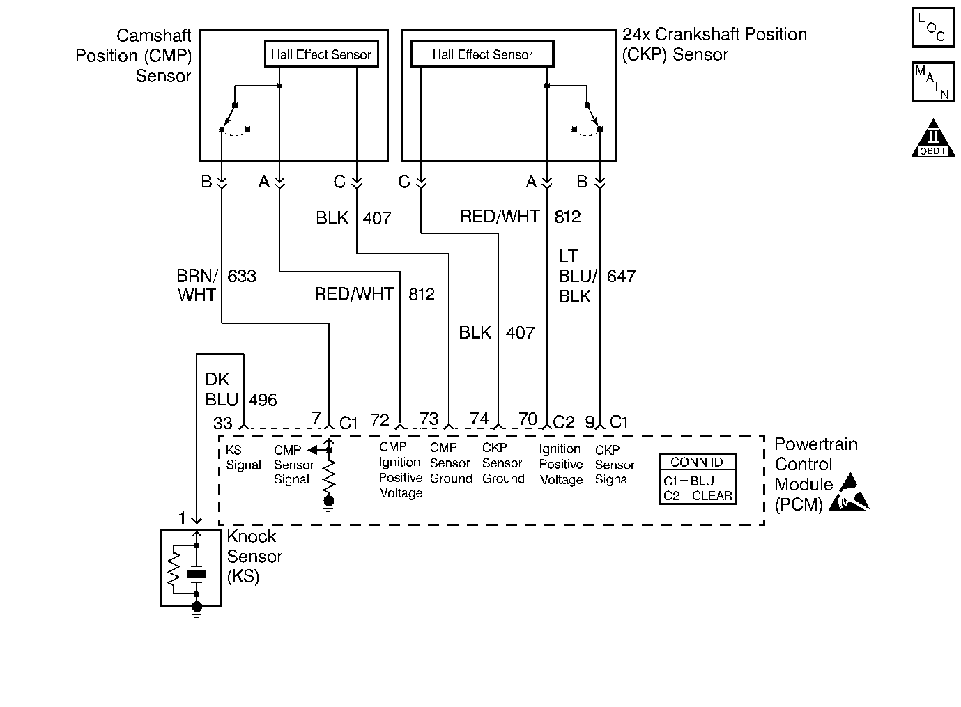
Object Number: 388800  Size: MF
Engine Controls Components
Engine Controls Schematics
OBD II Symbol Description Notice
Handling ESD Sensitive Parts Notice

Circuit Description

During cranking, the Ignition Control Module (ICM) monitors the 7X crankshaft position sensor signal. Once the ICM determines spark synchronization, 3X reference signals are sent to the PCM. The PCM will command all six injectors ON for one priming shot of fuel in all cylinders. After the priming, the injectors are left OFF for the next six fuel control reference signals (two crankshaft revolutions). This allow each cylinder a chance to use the fuel from the priming shot. During this waiting period, a cam pulse will have been received by the PCM. The PCM uses the Cam signal pulses to initiate sequential fuel injection. The PCM constantly monitors the number of pulses on the Cam signal circuit and compares the number of Cam pulses to the number of 24X reference pulses and the number of 3 X reference pulses being received. If the PCM receives an incorrect number of pulses on the Cam reference circuit, DTC P0341 will set and the PCM will initiate injector sequence without the Cam signal with a one in six chance that injector sequence is correct. The engine will continue to start and run normally, although the misfire diagnostic will be affected if a misfiring condition occurs.

Conditions for Setting the DTC

    • The engine is running (3X reference pulses are being received).
    • CMP sensor reference pulse is not detected every engine cycle.

Action Taken When the DTC Sets

    • The PCM illuminates the malfunction indicator lamp (MIL) on the second consecutive ignition cycle that the diagnostic runs and fails.
    • The PCM records the operating conditions at the time the diagnostic fails. The first time the diagnostic fails, the PCM stores this information in the Failure Records. If the diagnostic reports a failure on the second consecutive ignition cycle, the PCM records the operating conditions at the time of the failure.
    • The PCM writes the conditions to the Freeze Frame and updates the Failure Records.

Conditions for Clearing the MIL/DTC

    • The PCM will turn OFF the malfunction indicator lamp (MIL) during the third consecutive trip in which the diagnostic has run and passed.
    • The history DTC will clear after 40 consecutive warm-up cycles have occurred without a malfunction.
    • The DTC can be cleared by using a scan tool.

Diagnostic Aids

DTC P0341 can be caused by secondary components leaking high voltage into the ignition module. Check for the following conditions:

    • Incorrect harness routing near secondary ignition component.
    • Ignition coil arcing to wiring harness or Ignition Control Module (check ignition coils for cracks, carbon tracking, or other signs of damage).
    • Secondary ignition wire(s) arcing to wiring harness.

An intermittent may be caused by a poor connection, rubbed through wire insulation or a wire broken inside the insulation. Check for:

    • Faulty Ignition Coil. Inspect the ignition coils for cracks, carbon tracking, or other signs that indicate that the coil secondary circuit is arcing to the ICM or ICM wiring harness.
    • Poor connection. Inspect the PCM harness and connectors for improper mating, broken locks, improperly formed or damaged terminals, and poor terminal to wire connection.
    • Inspect the wiring harness for damage. If the harness appears to be OK, observe the Cam signal parameter on the scan tool while moving connectors and harnesses related to the sensor. A change in the display may indicate the location of the fault.

Reviewing the Fail Records vehicle mileage since the diagnostic test last failed may help determine how often the condition that caused the DTC to be set occurs. This may assist in diagnosing the condition.

Test Description

Number(s) below refer to the step number(s) on the Diagnostic Table:

  1. The 24X RPM on the scan tool should change each time the signal circuit is touched.

  2. If the fuse blows in the jumper wire, there is a short to ground on the signal circuit.

  3. This vehicle is equipped with a PCM which utilizes an Electrically Erasable Programmable Read Only Memory (EEPROM). When the PCM is being replaced, the new PCM must be programmed.

DTC P0341

Step

Action

Value(s)

Yes

No

1

Was the Powertrain On Board Diagnostic (OBD) System Check performed?

--

Go to Step 2

Go to Powertrain On Board Diagnostic (OBD) System Check

2

  1. Turn the ignition ON, review and record scan tool fail records data.
  2. Operate vehicle within fail records condition as noted.
  3. Using a scan tool, monitor specific DTC info for DTC P0341 until DTC P0341 test runs.

Does scan tool indicate DTC P0341 failed this ignition?

--

Go To Step 3

Go To Diagnostic Aids

3

Using the scan tool monitor Cam Signal.

Is Cam Signal Present?

--

Go To Diagnostic Aids

Go To Step 4

4

  1. Turn the ignition OFF.
  2. Disconnect the CMP sensor connector.
  3. Turn the ignition ON, leaving the engine OFF.
  4. Using J39200 DMM, check for voltage at CMP sensor feed circuit.

Does DMM display a voltage near the specified value?

B+

Go To Step 6

Go To Step 5

5

  1. Turn the ignition OFF.
  2. Disconnect the PCM.
  3. Check for an open or short to ground in the CMP sensor feed circuit, repair as necessary. Refer to Wiring Repairs .

Was a problem found?

--

Go To Step 16

Go To Step 12

6

  1. Connect an unpowered test lamp to battery positive voltage.
  2. Touch CMP sensor ground circuit.

Does test lamp light?

--

Go To Step 8

Go To Step 7

7

  1. Turn the ignition OFF.
  2. Disconnect the PCM.
  3. Check for an open in the CMP sensor ground, repair as necessary. Refer to Wiring Repairs .

Was a problem found?

--

Go To Step 16

Go To Step 12

8

  1. Start the engine.
  2. Monitor Cam Signal on the scan tool.
  3. Using a 5 amp fused jumper wire connected to battery positive voltage momentarily touch the signal circuit 5 times for a duration of 1 second each.

Does Cam Signal change EACH time the signal circuit is touched?

--

Go To Step 14

Go To Step 9

9

Did the fuse in the jumper wire blow?

--

Go To Step 11

Go To Step 10

10

Check signal circuit for an open or a short to voltage, repair as necessary. Refer to Wiring Repairs .

Was a problem found?

--

Go To Step 16

Go To Step 12

11

Check signal circuit for a short to ground, repair as necessary. Refer to Wiring Repairs .

Was a problem found?

--

Go To Step 16

Go To Step 12

12

Check connections at PCM and replace terminals as necessary. Refer to Wiring Repairs .

Did any terminals require replacement?

--

Go To Step 16

Go To Step 13

13

Import: Replacement PCM must be reprogrammed. Refer to Powertrain Control Module Replacement/Programming .

Replace PCM.

Is action complete?

--

Go To Step 16

--

14

Check connections at CMP sensor and replace terminals as necessary. Refer to Wiring Repairs .

Did any terminals require replacement?

--

Go To Step 16

Go To Step 15

15

Replace CMP sensor. Refer to Camshaft Position Sensor Replacement .

Is action complete?

--

Go to Step 16

--

16

  1. Review and record fail records data.
  2. Clear DTCs.
  3. Operate vehicle within fail records parameters as noted.
  4. Using scan tool monitor Specific DTC for DTC P0341 until the DTC P0341 test runs.
  5. Does scan tool indicate DTC P0341 failed this ignition?

--

Go To Step 2

System OK