GM Service Manual Online
For 1990-2009 cars only

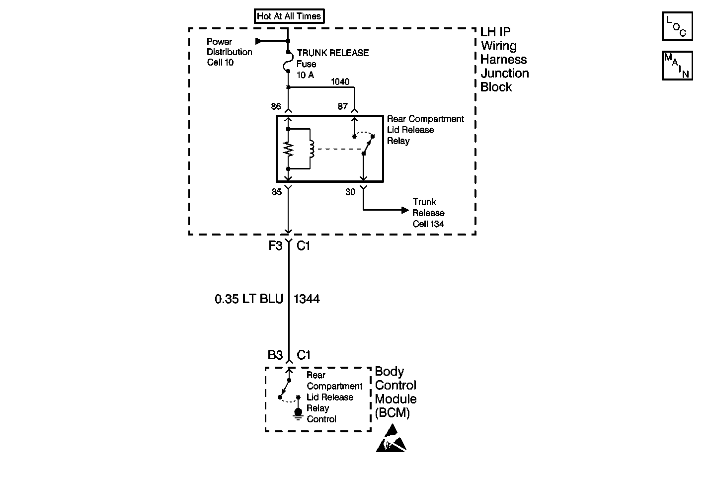
Object Number: 399514  Size: MF
Power Distribution Schematics
Release Systems Schematics
Body Control Module Components
Body Control System Schematics

Circuit Description

The body control module (BCM) monitors CKT 1344 as an input in order to determine if the rear compartment lid relay is circuit shorted to battery voltage. When CKT 1344 is shorted to battery voltage the BCM sets a DTC B3268 related DTC.

Conditions for Setting the DTC

All of the following conditions must be met:

    • CKT 1344 is shorted to battery voltage.
    • The system voltage must be between 9-16 volts.
    • The above conditions must be met for 0.30 seconds.

Action Taken When the DTC Sets

    • The rear compartment lid does not function from the key FOB.
    • Stores DTC B3268 in the BCM memory.

Conditions for Clearing the DTC

    • A current DTC clears after the next fault free ignition cycle.
    • A history DTC clears after 100 consecutive ignition cycles without a fault present.
    • Clear history and current DTCs using a Scan Tool .

Diagnostic Aids

Using the J 39200 , compare the scan tool values to the actual BCM values.

Test Description

The numbers below refer to the numbers on the diagnostic table.

  1. This step determines if the rear compartment lid release relay is operating properly.

  1. This step determines a short to battery in CKT 1344 within the left IP wiring harness junction block.

  2. This step determines a short to battery in CKT 1344 between the left IP wiring harness junction block and the Body Control Module (BCM).

Step

Action

Value(s)

Yes

No

Important: A short to ground will cause an open fuse(s). Before performing this diagnostic procedure, inspect the fuse(s) for an open.

1

Was the Body Control Module (BCM) System Check performed?

--

Go to Step 2

Go to Body Control Module System Check

2

  1. Replace the rear compartment lid release relay with a known good relay on the left IP wiring harness junction bock.
  2. Using the Scan Tool , select Body and Special Function in order to enable the trunk release relay.

Does the rear compartment lid release work correctly?

--

Go to Step 8

Go to Step 3

3

  1. Remove the rear compartment lid release relay on the left IP wiring harness junction block.
  2. Use the J 39200 Digital Multi-Meter in order to measure the voltage between CKT 1344 on the left IP wiring harness junction block connector C1 terminal F3 and ground.

Is the measured voltage equal to the specified value?

0V

Go to Step 8

Go to Step 4

4

  1. Turn the ignition switch to OFF.
  2. Disconnect the BCM.
  3. Use the J 39200 Digital Multi-Meter in order to measure the voltage between CKT 1344 on the left IP wiring harness junction block connector C1 terminal F3 and ground.

Is the measured voltage equal to the specified value?

0V

Go to Step 7

Go to Step 5

5

Test CKT 1344 for a short to voltage and repair as needed. Refer to Wiring Repairs in Wiring Systems.

Is the repair complete?

--

Go to Step 9

Go to Step 6

6

Replace the left IP wiring harness junction block.

Is the repair complete?

--

Go to Step 9

--

7

Replace the BCM. Refer to the following procedures:

    • BCM Replacement

Is the repair complete?

--

Go to Step 9

--

8

Repair the short to B+ in CKT 344 between the Body Control Module (BCM) connector C1 terminal B3 and the LH IP Wiring Harness Junction Block connector C1 terminal F3. Refer to Wiring Repairs in Wiring Systems.

Is the repair complete?

--

Go to Step 9

--

9

Clear the DTCs from the memory.

Are the DTCs cleared from the memory?

 

Go to Body Control Module System Check

--