GM Service Manual Online
For 1990-2009 cars only

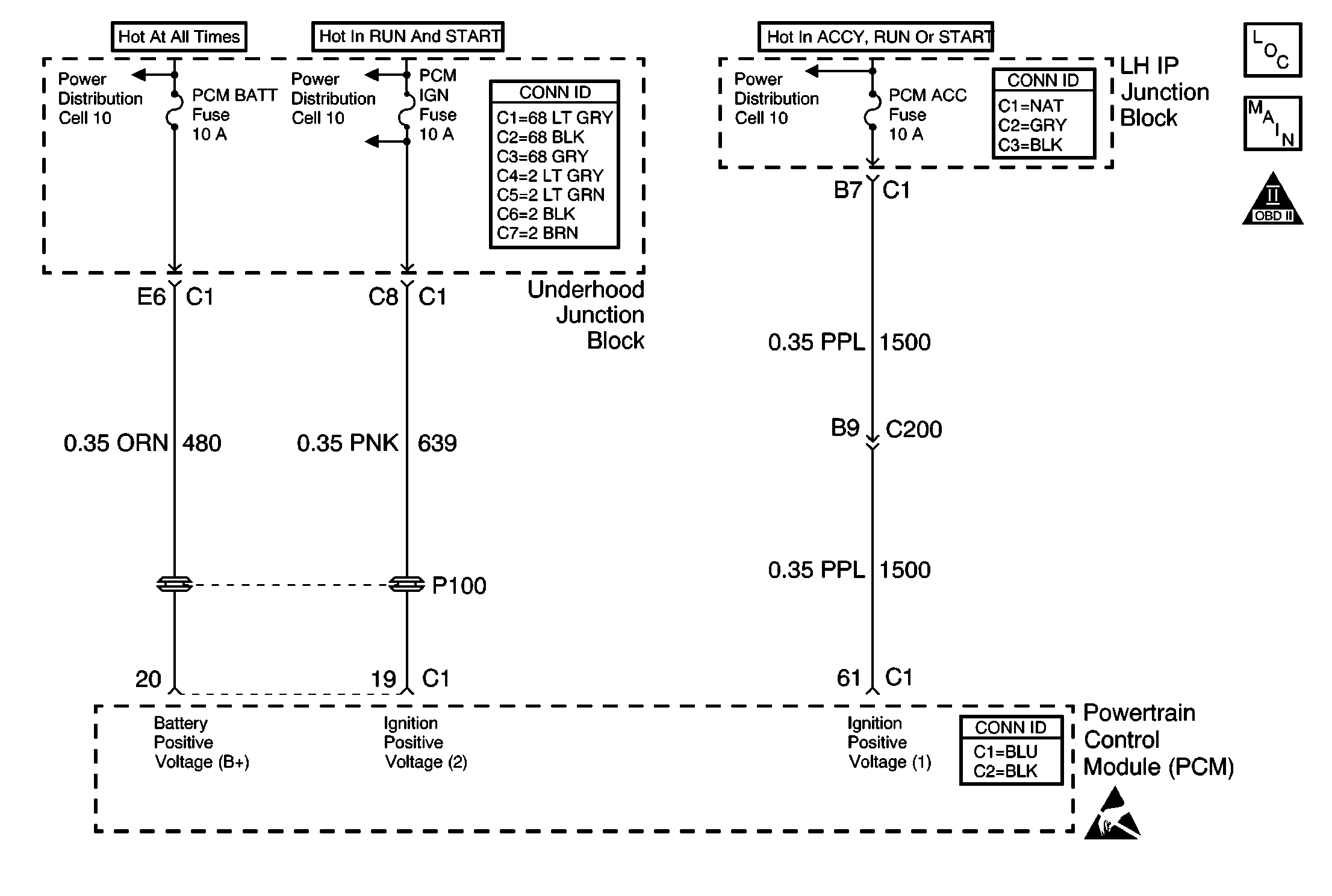
Object Number: 621234  Size: MF
Engine Controls Components
Power, Ground, MIL, and DLC
OBD II Symbol Description Notice
Powertrain Control Module Connector End Views
Handling ESD Sensitive Parts Notice

Circuit Description

The Powertrain Control Module (PCM) monitors the ignition voltage on the ignition positive voltage #2 circuit to the Powertrain Control Module (PCM). A DTC will set whenever the voltage is more than a calibrated value.

Conditions for Setting the DTC

The ignition voltage is more than 17 volts.

Action Taken When the DTC Sets

    • The PCM will record the operating conditions at the time during which the diagnostic fails. This information will store in the Failure Records buffer.
    • A history DTC stores.
    • All of the outputs will disable.
    • The coolant fan turns on.

Conditions for Clearing the MIL/DTC

    • A history DTC will clear after 40 consecutive warm up cycles without a fault.
    • Use a scan tool to clear the DTCs.

Diagnostic Aids

    • Charging the battery with a battery charger and starting the engine can cause this DTC to set.
    • If the DTC sets when you operate an accessory, inspect for a poor connection, or test for an excessive current draw.
    • Additional DTCs can set as the result of the PCM disabling the outputs.

Test Description

The number below refers to the step number on the diagnostic table.

  1. The replacement PCM must be programmed and the Crankshaft Position System Variation Learn procedure must be performed.

DTC P0563-System Voltage High

Step

Action

Values

Yes

No

1

Did you perform the Powertrain On-Board Diagnostic (OBD) System Check?

--

Go to Step 2

Go to Powertrain On Board Diagnostic (OBD) System Check

2

  1. Turn off all of the accessories.
  2. Start the engine and raise the engine RPM to the specified value.
  3. Use a scan tool in order to observe the ignition 1 voltage.

Is the voltage more than the specified value?

1,400 RPM

17 V

Go to Step 3

Go to Diagnostic Aids

3

Important:: The replacement PCM must be programmed. Refer to Powertrain Control Module Replacement/Programming .

Replace the PCM. Refer to Powertrain Control Module Replacement .

Did you complete the repair?

--

Go to Step 4

--

4

  1. Use a scan tool in order to clear the DTCs.
  2. Operate the vehicle within the Conditions for Running the DTC as specified in the supporting text.

Does the DTC reset?

--

Go to Step 2

System OK