GM Service Manual Online
For 1990-2009 cars only

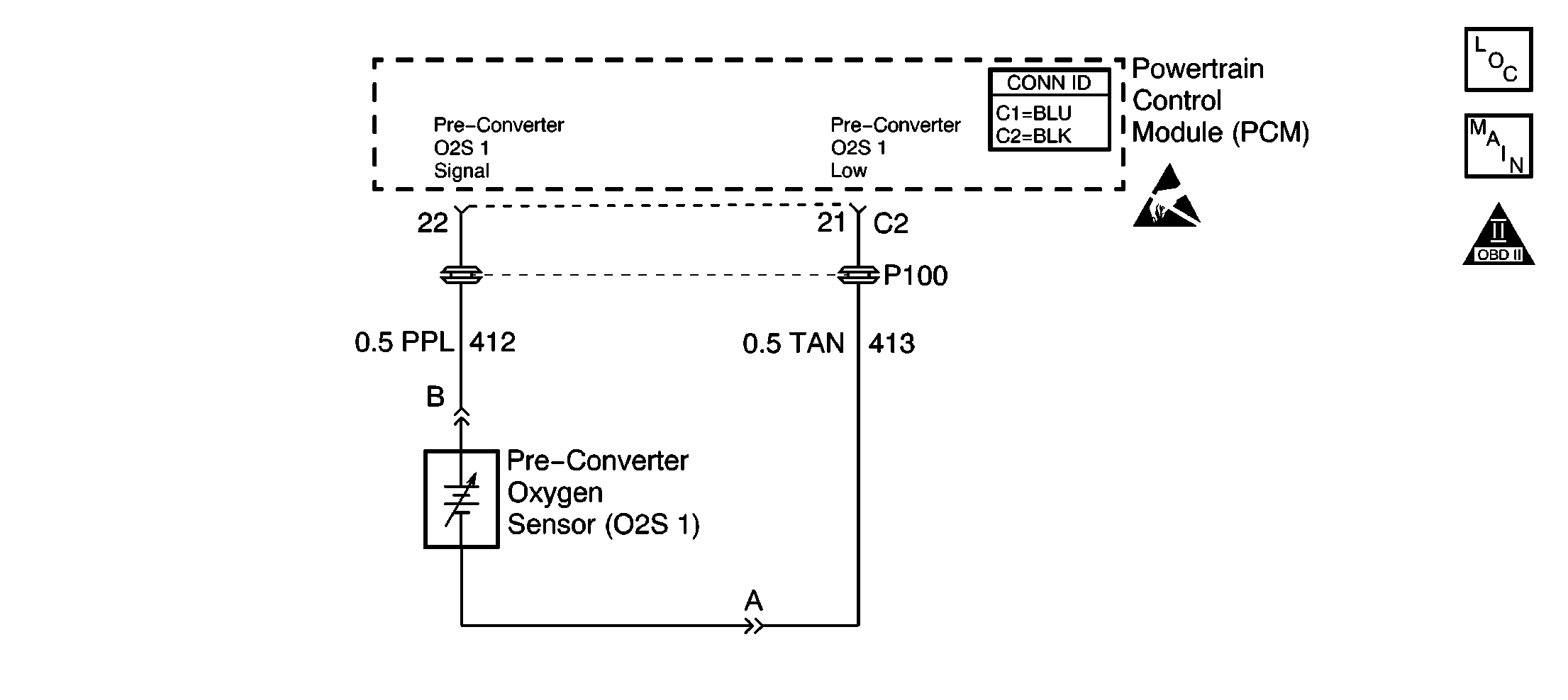
Object Number: 621258  Size: SF
Engine Controls Components
Power, Ground, HO2S 2, and O2S 1
OBD II Symbol Description Notice
Powertrain Control Module Connector End Views
Handling ESD Sensitive Parts Notice

Circuit Description

When the vehicle is first started, the engine operates in an Open Loop mode, ignoring the oxygen sensor signal and calculating the air/fuel ratio based on inputs from the engine coolant temperature (ECT), the throttle position (TP) sensor, and the manifold absolute pressure (MAP) sensor only. The PCM will begin by using the oxygen sensor signal for controlling the fuel delivery in Closed Loop when the following conditions are met:

    • The engine has run a minimum amount of time based upon the ECT at engine start up.
    • The oxygen sensor (O2S 1) has a varying voltage output showing that the sensor is hot enough to operate properly.
    • The ECT has increased a minimum amount based upon the ECT at engine start up.

Conditions For Running The DTC

    • The following DTCs are not set: P0107, P0108, P0117, P0118, P0122, P0123, P0131, P0132, P0134, P0201, P0202, P0203, P0204, P0300, P0325, P0336, P0440, P0442, P0446, P0502, P0601, P0602, P1441 or P1621.
    • The engine has been running more than 65 seconds.
    • The engine speed is between 1200 RPM and 3400 RPM.
    • The throttle position (TP) angle is between 10 percent and 40 percent.
    • The ECT is more than 65°C (149°F).
    • The above conditions have been met for 2 seconds.

Conditions For Setting The DTC

The engine is not in Closed Loop for 5 seconds out of 12.5 seconds.

Action Taken When the DTC Sets

    • The Malfunction Indicator Lamp (MIL) will illuminate after 2 consecutive ignition cycles in which the diagnostic runs with the malfunction present.
    • The PCM will record the operating conditions at the time that the diagnostic fails. This information will store in the Freeze Frame and Failure Records buffers.
    • A history DTC stores.
    • The coolant fan turns on.

Conditions for Clearing the MIL/DTC

    • The MIL will turn off after 3 consecutive ignition cycles in which the diagnostic runs without a fault.
    • A history DTC will clear after 40 consecutive warm up cycles without a fault.
    • Use a scan tool to clear the DTCs.

Diagnostic Aids

A DTC P0130 or a slow response is likely caused by one of the following conditions:

    • The system will go rich if fuel pressure is too high. The PCM can compensate for some increase. However, if the pressure gets too high, DTC P0172 may set. Refer to Fuel System Diagnosis .
    • A leaking or malfunctioning fuel injector can cause the system to go rich.
    • A MAP sensor output that causes the PCM to sense a higher than normal manifold pressure (low vacuum) can cause the system to go rich. Disconnecting the MAP sensor will allow the PCM to set a fixed value for the MAP sensor. Substitute a different MAP sensor if the rich condition is corrected while the MAP sensor is disconnected.
    • Inspect for a leaking fuel pressure regulator diaphragm by inspecting for the presence of liquid fuel in the vacuum line to the fuel pressure regulator.
    • An intermittent TP sensor output can cause the system to go rich due to a false indication of the engine accelerating.
    • Inspect the O2S 1 for silicone contamination from fuel or the use of improper RTV sealant. The O2S 1 may have a white powdery coating and result in a high but false voltage signal (rich exhaust indication). The PCM will then reduce the amount of fuel delivered to the engine causing a severe surge or driveability problem.

Test Description

The numbers below refer to the step numbers on the diagnostic table:

  1. When the system is operating correctly the O2S voltage should toggle above and below the specified values.

  2. The specified value is what is measured on a correctly operating system.

  3. The specified value is what is measured on a correctly operating system.

  4. The replacement PCM must be reprogrammed and the Crankshaft Position System Variation Learn procedure must be preformed.

DTC P0130-O2S 1 Circuit Closed Loop (CL) Performance Sensor 1

Step

Action

Value(s)

Yes

No

1

Did you perform the Powertrain On-Board Diagnostic (OBD) System Check?

--

Go to Step 2

Go to Powertrain On Board Diagnostic (OBD) System Check

2

Important:: If any other DTCs are set, refer to other DTCs before proceeding with this table.

  1. Ensure the engine is at the operating temperature.
  2. Operate engine above 1200 RPM for 2 minutes.
  3. With a scan tool, observe the O2S 1 voltage parameter.

Is the voltage outside the specified range?

400-500 mV

Go to Step 3

Go to Step 4

3

Operate the vehicle within Failure Records conditions.

Did this DTC fail this ignition?

--

Go to Step 4

Go to Diagnostic Aids

4

Inspect and test for the following:

    • An exhaust leak. Refer to Exhaust Leakage - Not OBD II in Engine Exhaust.
    • Verify that the O2S 1 is installed correctly.
    • Any damaged wiring. Refer to Wiring Repairs in Wiring Systems.

Did you find and correct the condition?

--

Go to Step 13

Go to Step 5

5

  1. Turn off the ignition.
  2. Disconnect the O2S 1.
  3. Turn on the ignition, leaving the engine off.
  4. Measure the voltage on the on the PCM side of the O2S 1 signal circuit using a DMM connected to ground.

Is the voltage equal to the specified value?

450 mV

Go to Step 6

Go to Step 8

6

  1. Jumper the signal circuit to the low circuit on the PCM side.
  2. With a scan tool, observe the O2S 1 voltage parameter.

Is the voltage approximately equal the specified value?

0 mV

Go to Step 9

Go to Step 7

7

Test the low circuit for an open or a high resistance. Refer to Circuit Testing and to Wiring Repairs in Wiring Systems.

Did you find and correct the condition?

--

Go to Step 13

Go to Step 11

8

Test the signal circuit for an open or a high resistance. Refer to Circuit Testing and to Wiring Repairs in Wiring Systems.

Did you find and correct the condition?

--

Go to Step 13

Go to Step 11

9

Test for poor connections at the O2S 1. Refer to Testing for Intermittent Conditions and Poor Connections and to Connector Repairs in Wiring Systems.

Did you find and correct the condition?

--

Go to Step 13

Go to Step 10

10

Important:: Determine the cause of contamination before replacing the sensor.

Inspect and test for the following conditions:

    • Any fuel contamination. Refer to Alcohol/Contaminants-in-Fuel Diagnosis .
        An excessive engine oil or coolant consumption. Refer to Oil Consumption Diagnosis in Engine Mechanical.
    • The use of improper RTV sealant.

Replace the effected O2S 1. Refer to Oxygen Sensor Replacement .

Did you complete the repair?

--

Go to Step 13

--

11

Test for poor connections at the PCM. Refer to Testing for Intermittent Conditions and Poor Connections and to Connector Repairs in Wiring Systems.

Did you find and correct the condition?

--

Go to Step 13

Go to Step 12

12

Important:: The replacement PCM must be programmed. Refer to Powertrain Control Module Replacement/Programming .

Replace the PCM. Powertrain Control Module Replacement .

Did you complete the repair?

--

Go to Step 13

--

13

  1. Use a scan tool to clear the DTCs.
  2. Operate the vehicle within the Conditions for Running the DTC as specified in the supporting text.

Does the DTC reset?

--

Go to Step 2

System OK