GM Service Manual Online
For 1990-2009 cars only
Makes
🢒
Chevrolet
🢒
2001
🢒
Alero Export
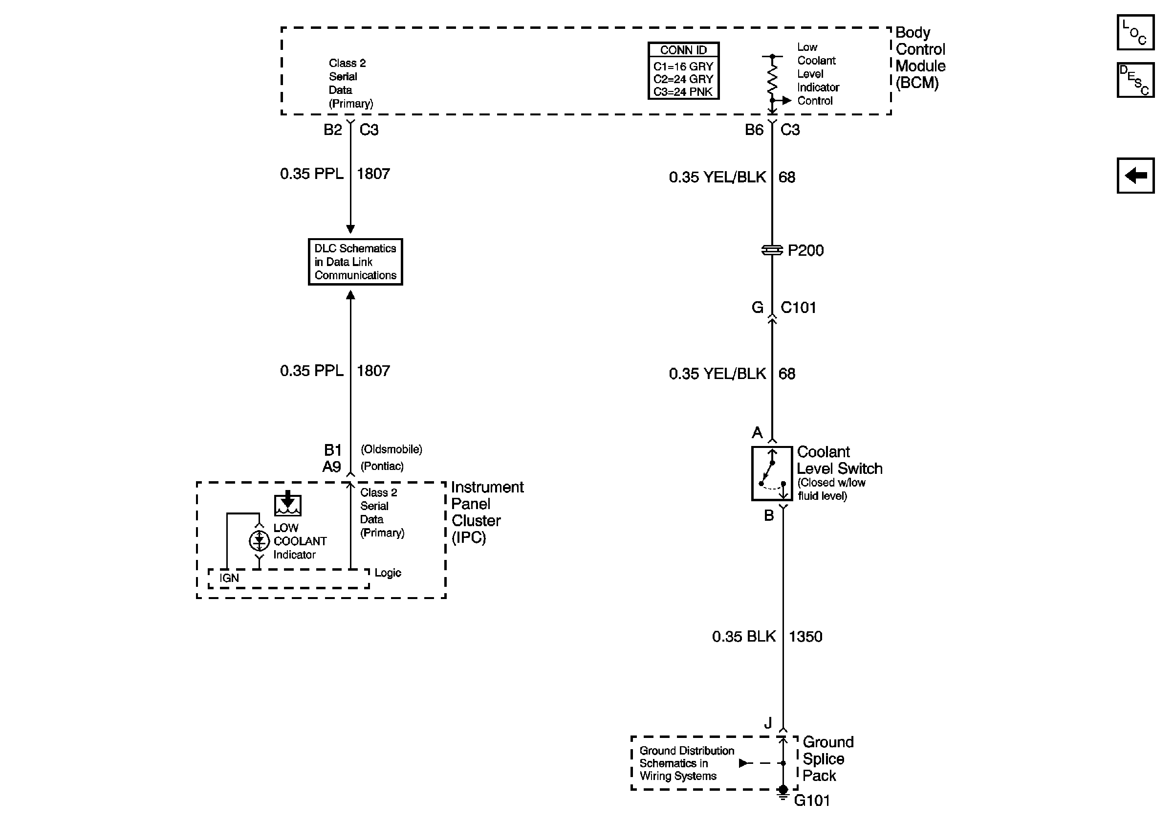
🢒 Engine Coolant Level
Engine Coolant Level
Engine Coolant Level
Master Electrical Component List
Cooling System Description and Operation
Cooling Fan Motor Controls
G101