GM Service Manual Online
For 1990-2009 cars only

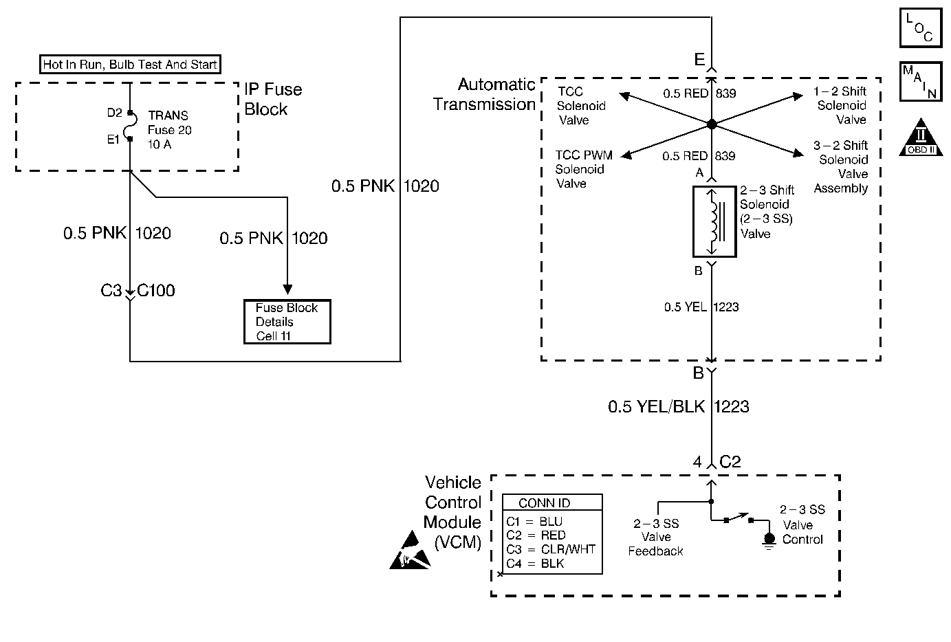
Object Number: 368604  Size: MF
Automatic Transmission Components
Automatic Transmission Controls Schematics
OBD II Symbol Description Notice
Handling ESD Sensitive Parts Notice

Circuit Description

The 2-3 shift solenoid (SS) valve controls the fluid flow acting on the 2-3 shift valves. The solenoid is a normally-open exhaust valve. With the 1-2 SS valve, the 2-3 SS valve allows four different shifting combinations. The solenoid attaches to the control valve body within the transmission. The 2-3 SS valve receives ignition voltage through circuit 1020. The vehicle control module (VCM) controls the solenoid by providing the ground path on circuit 1223.

When the VCM detects a continuous open or short to ground in the 2-3 SS valve circuit or the 2-3 SS valve, then DTC P0758 sets. DTC P0758 is a type A DTC.

Conditions for Running the DTC

    • The system voltage is 10-19 volts.
    • The engine speed is greater than 450 RPM for 5 seconds.
    • The engine is not in fuel cutoff.

Conditions for Setting the DTC

DTC P0758 sets if either of the following conditions occurs for 5 seconds:

    • The VCM commands the solenoid ON and the voltage input remains high (B+).
    • The VCM commands the solenoid OFF and the voltage input remains low (0 volts).

Action Taken When the DTC Sets

    • The VCM illuminates the malfunction indicator lamp (MIL).
    • The VCM commands third gear only.
    • The VCM commands maximum line pressure.
    • The VCM inhibits TCC engagement.
    • The VCM freezes shift adapts from being updated.
    • The VCM stores DTC P0758 in VCM history.

Conditions for Clearing the MIL/DTC

    • The VCM turns OFF the MIL during the third consecutive trip in which the diagnostic test runs and passes.
    • A scan tool clears the DTC from VCM history.
    • The VCM clears the DTC from VCM history if the vehicle completes 40 warm-up cycles without an emission-related diagnostic fault occurring.
    • The VCM cancels the DTC default actions when the fault no longer exists and the ignition switch is OFF long enough in order to power down the VCM.

Diagnostic Aids

    • Inspect the wiring at the VCM, the transmission connector and all other circuit connecting points for the following conditions:
       - A backed out terminal
       - A damaged terminal
       - Reduced terminal tension
       - A chafed wire
       - A broken wire inside the insulation
       - Moisture intrusion
       - Corrosion
    • When diagnosing for an intermittent short or open condition, massage the wiring harness while watching the test equipment for a change.
    • Refer to the Shift Solenoid Valve State and Gear Ratio table.

Test Description

The numbers below refer to the step numbers on the diagnostic table.

  1. This step tests the function of the 2-3 SS valve and the automatic transmission (A/T) wiring harness assembly.

  2. This step tests for power to the 2-3 SS valve from the ignition through the fuse.

  3. This step tests the ability of the VCM and of the wiring to control the ground circuit.

  4. This step measures the resistance of the A/T wiring harness assembly and of the 2-3 SS valve.

DTC P0758 2-3 SS Circuit Electrical

Step

Action

Value(s)

Yes

No

1

Was the Powertrain On-Board Diagnostic (OBD) System Check performed?

--

Go to Step 2

Go to Powertrain On Board Diagnostic (OBD) System Check in Engine Controls

2

  1. Install the Scan Tool .
  2. With the engine OFF, turn the ignition switch to the RUN position.
  3. Important: Before clearing the DTC, use the scan tool in order to record the Freeze Frame and Failure Records. Using the Clear Info function erases the Freeze Frame and Failure Records from the VCM.

  4. Record the DTC Freeze Frame and Failure Records.
  5. Clear the DTC.

Are any of the following DTCs also set?

    • P0740
    • P0753
    • P0785
    • P1860

--

Go to Step 3

Go to Step 4

3

  1. Inspect the TRANS fuse.
  2. If the fuse is open, inspect the following components for a short to ground condition:
  3. • Circuit 1020 (PNK)
    • The solenoids
    • The A/T wiring harness assembly
    • Refer to General Electrical Diagnosis in Wiring Systems.
  4. Repair the circuit, the solenoids and the harness if necessary.
  5. Refer to Wiring Repairs in Wiring Systems.

Did you find a short to ground condition?

--

Go to Step 16

Go to Step 5

4

Using the transmission output control function on the scan tool, command the 2-3 SS valve ON and OFF three times while listening to the bottom of the transmission pan (a stethoscope may be necessary).

Did the solenoid click when commanded?

--

Go to Diagnostic Aids

Go to Step 5

5

  1. Turn the ignition OFF.
  2. Disconnect the transmission 20-way connector (additional DTCs may set).
  3. Install the J 39775 jumper harness on the engine side of the 20-way connector.
  4. With the engine OFF, turn the ignition switch to the RUN position.
  5. Connect a test lamp from J 39775 jumper harness cavity E to ground.
  6. Refer to Automatic Transmission Inline Harness Connector End View .

Is the test lamp ON?

--

Go to Step 7

Go to Step 6

6

Important: The condition that affects this circuit may exist in other connecting branches of the circuit. Refer to Power Distribution Schematics in Wiring Systems for complete circuit distribution.

Repair the open or short to ground in ignition feed circuit 1020 (PNK) to the 2-3 SS valve.

Refer to Wiring Repairs in Wiring Systems.

Is the repair complete?

--

Go to Step 16

--

7

  1. Install a test lamp between cavity E and cavity B of the J 39775 jumper harness.
  2. Using the transmission output control function on the scan tool, command the 2-3 SS valve ON and OFF three times.

Does the test lamp illuminate when you command the shift solenoid ON, and does the test lamp turn off when you command the shift solenoid OFF?

--

Go to Step 10

Go to Step 8

8

  1. Inspect circuit 1223 (YEL/BLK) of the engine wiring harness for an open, short to ground or short to power condition.
  2. Refer to General Electrical Diagnosis in Wiring Systems.

  3. Repair the circuit if necessary.
  4. Refer to Wiring Repairs in Wiring Systems.

Did you find an open, short to ground or short to power condition?

--

Go to Step 16

Go to Step 9

9

Replace the VCM.

Refer to VCM Replacement/Programming in Engine Controls.

Is the replacement complete?

--

Go to Step 16

--

10

  1. Install the J 39775 jumper harness on the transmission side of the 20-way connector.
  2. With the J 39200 DMM and J 35616-A connector test adapter kit, measure the resistance between terminal B and terminal E.
  3. Refer to Automatic Transmission Inline Harness Connector End View .

Is the resistance within the specified range?

19-31 ohms

Go to Step 12

Go to Step 11

11

  1. Disconnect the A/T wiring harness assembly from the 2-3 SS valve.
  2. Measure the resistance of the 2-3 SS valve.

Is the resistance within the specified range?

19-31 ohms

Go to Step 14

Go to Step 15

12

Measure the resistance between terminal B and ground, and between terminal E and ground.

Are both readings greater than the specified value?

250 K ohms

Go to Diagnostic Aids

Go to Step 13

13

  1. Disconnect the A/T wiring harness assembly from the 2-3 SS valve.
  2. Measure the resistance from the component's terminals to ground.

Are both readings greater than the specified value?

250 K ohms

Go to Step 14

Go to Step 15

14

Replace the A/T wiring harness assembly.

Refer to TCC PWM Solenoid, TCC Solenoid, and Wiring Harness.

Is the replacement complete?

--

Go to Step 16

--

15

Replace the 2-3 SS valve.

Refer to Control and Shift Solenoids Replacement.

Is the replacement complete?

--

Go to Step 16

--

16

Perform the following procedure in order to verify the repair:

  1. Select DTC.
  2. Select Clear Info.
  3. Drive the vehicle in D4 and ensure the following conditions are met:
  4. • The VCM commands the 2-3 SS valve ON and the voltage input drops to zero.
    • The VCM commands the 2-3 SS valve OFF and the voltage input increases to B+.
    • All conditions are met for 5 seconds.
  5. Select Specific DTC.
  6. Enter DTC P0758.

Has the test run and passed?

--

System OK

Go to Step 1