GM Service Manual Online
For 1990-2009 cars only
Figure 1:

Power and Ground


Object Number: 654401  Size: FS
Master Electrical Component List
Distributor Ignition (DI) System Description
Ignition System Controls
OBD II Symbol Description Notice
Battery and Underhood Fuse Block
HTD MIRR/ RR DEFOG, A/C COMP, HORN, ECM-B, ABS, RAP Fuse
ING-B Fuse and Ignition Switch
BATT and LIGHTING Fuse
BATT and LIGHTING Fuse
HTR-A/C Fuse 12, BRAKE Fuse 18, and CRUISE Fuse 6
G105 and G107
CIG LTR Fuse 13, RADIO BATT Fuse 19 and CRANK Fuse 8
RADIO BATT Fuse, Data Link, and CRUISE Fuse
STOP/HAZ Fuse 1 and Aux PWR Fuse 7
G105 and G107
G110 (1 of 2)
Class 2 Data
Figure 2:

Ignition System Controls


Object Number: 655175  Size: FS
Master Electrical Component List
Distributor Ignition (DI) System Description
Fuel Delivery
Power and Ground
OBD II Symbol Description Notice
ECM-1 Fuse
G105 and G107
G101, G106 and G302
ING-A Fuse and Ignition Switch
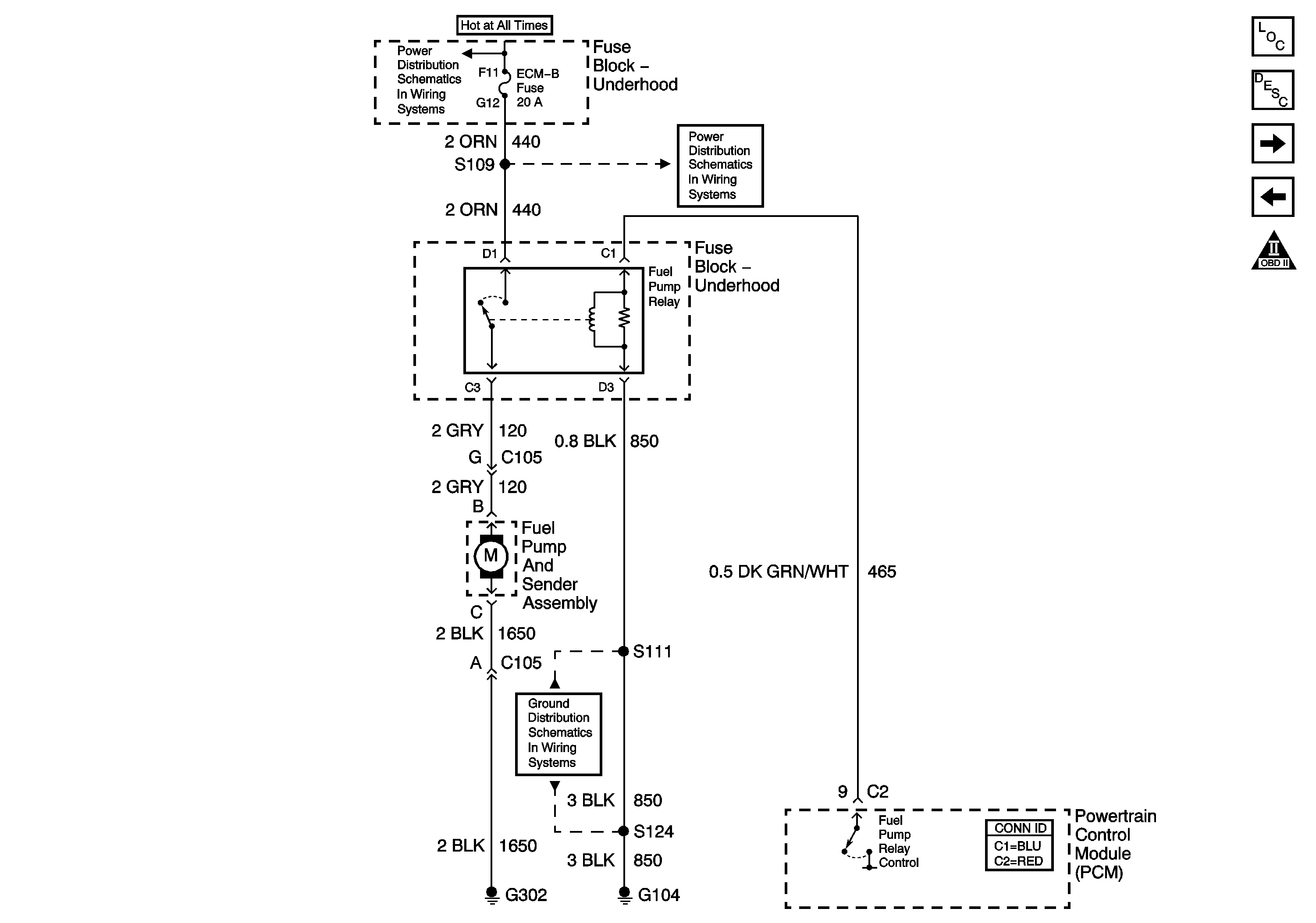
Figure 3:

Fuel Delivery


Object Number: 655201  Size: FS
Master Electrical Component List
Fuel System Description
Fuel Injection Controls
Ignition System Controls
OBD II Symbol Description Notice
Battery and Underhood Fuse Block
HTD MIRR/ RR DEFOG, A/C COMP, HORN, ECM-B, ABS, RAP Fuse
G104
Figure 4:

Fuel Injection Controls


Object Number: 655204  Size: FS
Master Electrical Component List
Fuel System Description
Fuel Mixture Input Controls
Fuel Delivery
OBD II Symbol Description Notice
ING-A Fuse and Ignition Switch
ECM-1 Fuse
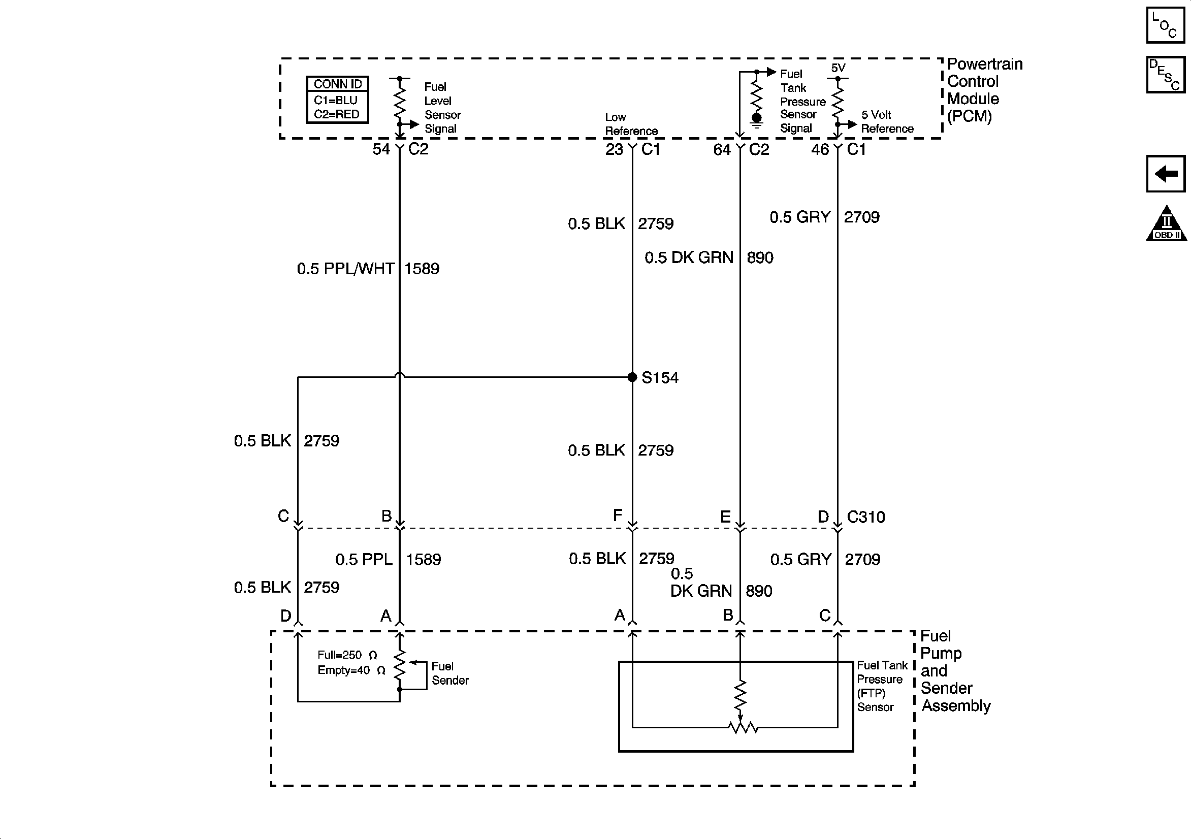
Figure 5:

Fuel Mixture Input Controls


Object Number: 655218  Size: FS
Master Electrical Component List
Fuel System Description
Emission Controls
Fuel Injection Controls
OBD II Symbol Description Notice
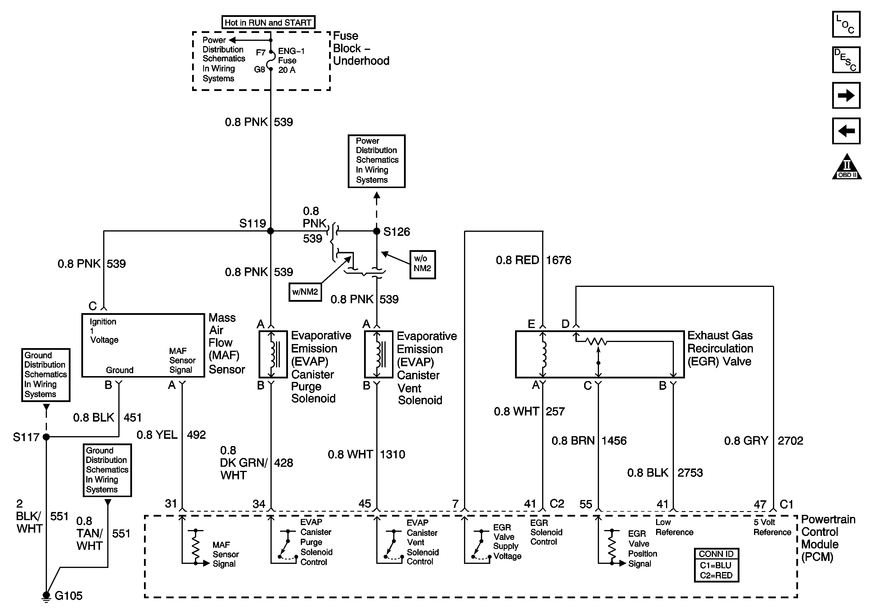
Figure 6:

Emission Controls


Object Number: 655222  Size: FS
Master Electrical Component List
Evaporative Emission Control System Description
Oxygen Sensors
Fuel Mixture Input Controls
OBD II Symbol Description Notice
ING-A Fuse and Ignition Switch
ING-1 and ENG-1 Fuse
G105 and G107
G105 and G107
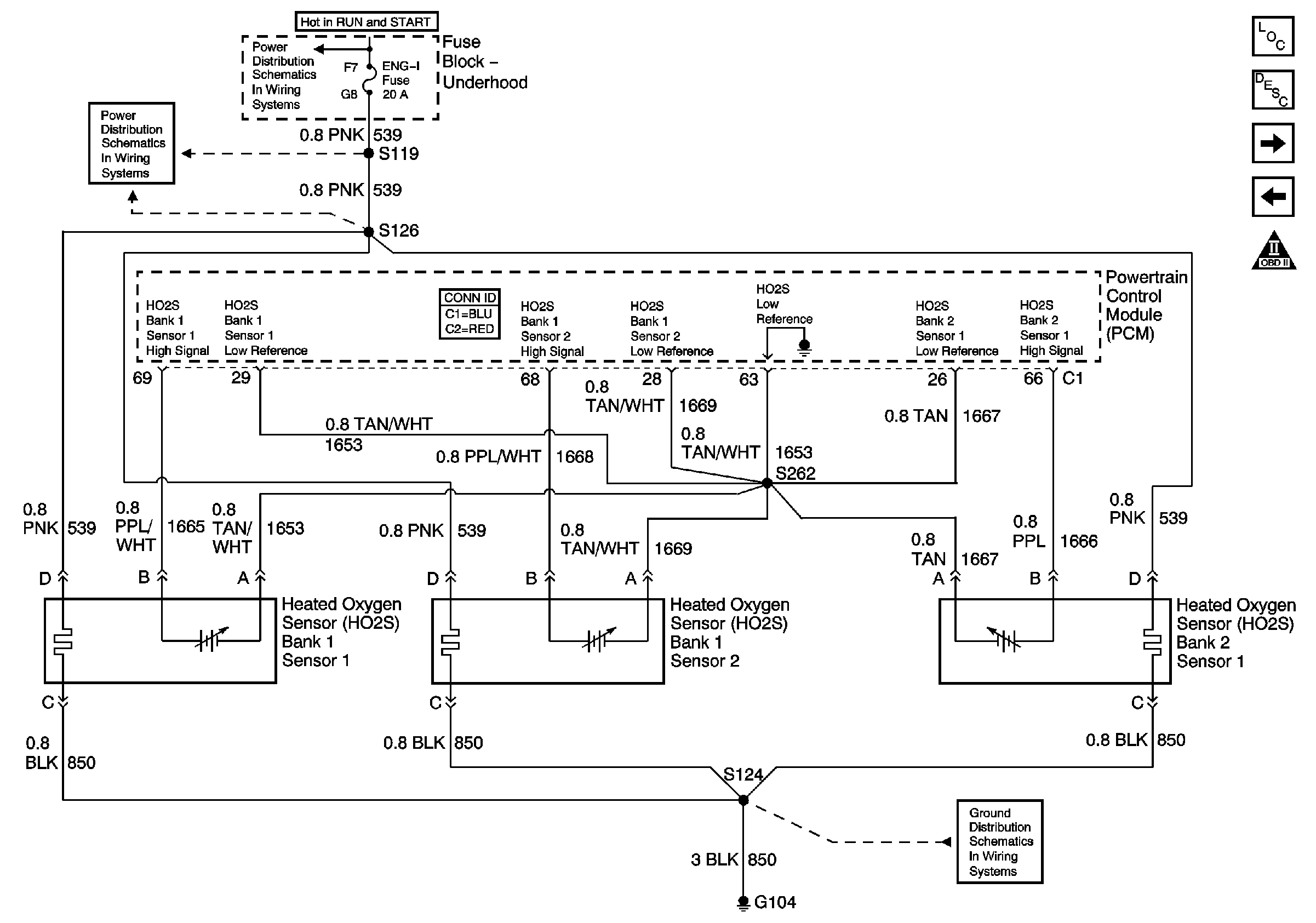
Figure 7:

Oxygen Sensors


Object Number: 655227  Size: FS
Master Electrical Component List
Air Intake System Description
Speed & Cruise Controls
Emission Controls
OBD II Symbol Description Notice
ING-1 and ENG-1 Fuse
ING-A Fuse and Ignition Switch
G104
Figure 8:

Speed & Cruise Controls


Object Number: 655259  Size: FS
Master Electrical Component List
Powertrain Control Module Description
Transmission Shift Controls
Oxygen Sensors
OBD II Symbol Description Notice
G101, G106 and G302
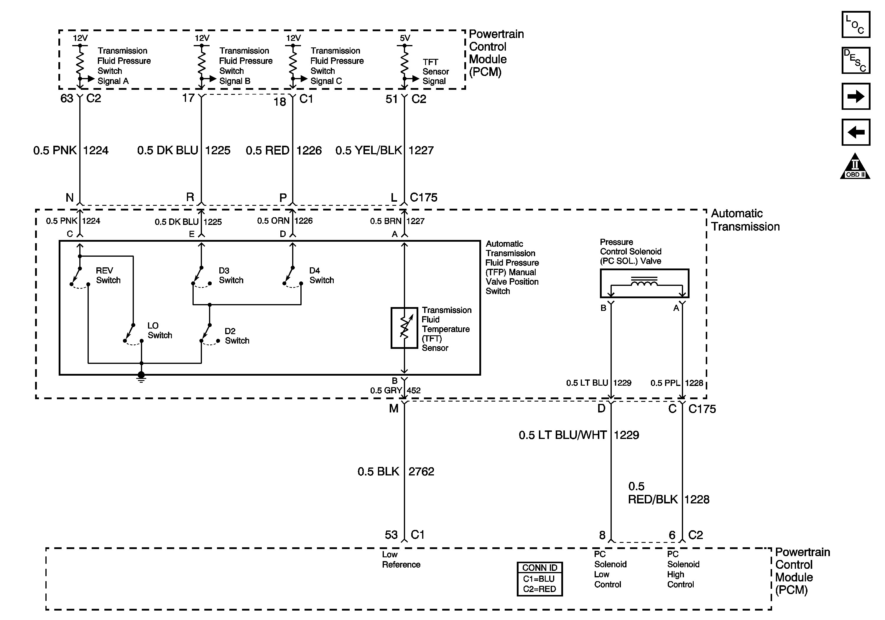
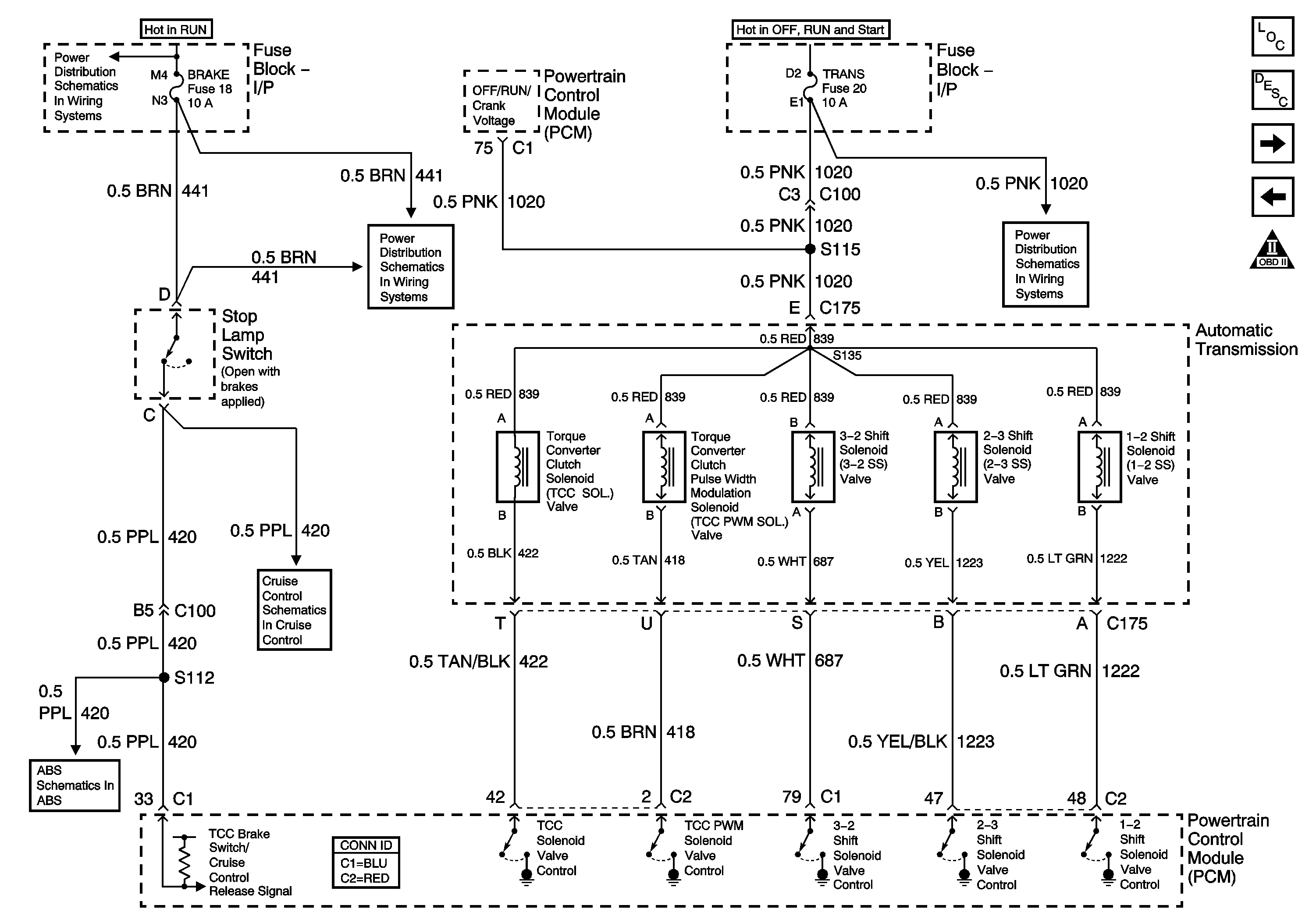
Figure 9:

Transmission Shift Controls


Object Number: 655260  Size: FS
Master Electrical Component List
Powertrain Control Module Description
Transmission Range, Tow/Haul Switch Input Controls
Transmission Switch Input Controls
OBD II Symbol Description Notice
ING-B Fuse and Ignition Switch
HTR-A/C Fuse 12, BRAKE Fuse 18, and CRUISE Fuse 6
TRANS Fuse 20 and WINDOWS Circuit Breaker
Cruise Control Schematics
EBCM Power Supply and Communication
Figure 10:

Transmission Switch Input Controls


Object Number: 655263  Size: FS
Master Electrical Component List
Powertrain Control Module Description
Transmission Shift Controls
Speed & Cruise Controls
OBD II Symbol Description Notice
Figure 11:

Transmission Range, Tow/Haul Switch Input Controls


Object Number: 655264  Size: FS
Master Electrical Component List
Powertrain Control Module Description
A/C Compressor Controls
Transmission Shift Controls
OBD II Symbol Description Notice
Class 2 Data
Switch Inputs and PNP Switch
Charging
G110 (1 of 2)
Figure 12:

A/C Compressor Controls


Object Number: 655268  Size: FS
Master Electrical Component List
Air Intake System Description
Fuel Controls
Transmission Range, Tow/Haul Switch Input Controls
OBD II Symbol Description Notice
Battery and Underhood Fuse Block
ING-A Fuse and Ignition Switch
ING-B Fuse and Ignition Switch
HTR-A/C Fuse 12, BRAKE Fuse 18, and CRUISE Fuse 6
G104
G104
G104
Figure 13:

Fuel Controls


Object Number: 655269  Size: FS
Master Electrical Component List
Fuel System Description
A/C Compressor Controls
OBD II Symbol Description Notice