GM Service Manual Online
For 1990-2009 cars only

Object Number: 42321  Size: LF
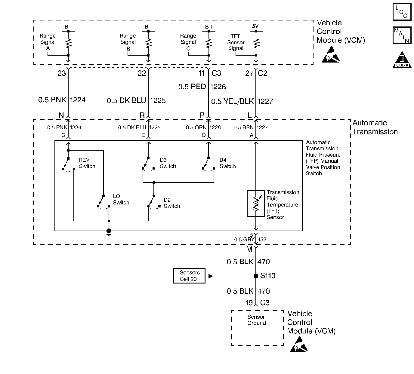
Automatic Transmission Components
Automatic Transmission Controls Schematics
OBD II Symbol Description Notice
Handling ESD Sensitive Parts Notice
Handling ESD Sensitive Parts Notice

Circuit Description

The Automatic Transmission Fluid Temperature (TFT) sensor is a thermistor within the Automatic Transmission Fluid Pressure Manual Valve Position Switch (TFP Val. Position Sw.). The TFT sensor controls the signal voltage to the VCM. The VCM supplies a 5-volt reference signal to the sensor on circuit 1227. When the transmission fluid is cold, the sensor resistance is high. The VCM detects high signal voltage. As the transmission fluid temperature increases to the normal operating temperature of 100°C (212°F), the sensor resistance becomes less and the signal voltage decreases to 1.5-2 volts.

When the VCM detects a continuous open or short to power in the TFT signal circuit or the TFT sensor, then DTC P0713 sets. DTC P0713 is a type B DTC.

Conditions for Setting the DTC

DTC P0713 sets if the following conditions occur two consecutive times:

    • The system voltage is 10-17 volts.
    • The ignition switch is in the RUN position.
    • The TFT sensor indicates a voltage greater than 4.92 volts.
    • All conditions met for 6.8 minutes

Action Taken When the DTC Sets

       Important: The scan tool does not display the default temperature.

    • The VCM uses a transmission fluid temperature default value of 135°C (275°F).
    • The VCM freezes shift adapts from being updated.
    • The VCM illuminates the Malfunction Indicator Lamp (MIL).

Conditions for Clearing the MIL/DTC

    • The VCM turns OFF the MIL after three consecutive ignition cycles without a failure reported.
    • A scan tool can clear the DTC from the VCM history. The VCM clears the DTC from the VCM history if the vehicle completes 40 warm-up cycles without a failure reported.
    • The VCM cancels the DTC default actions when the fault no longer exists and the ignition is OFF long enough in order to power down the VCM.

Diagnostic Aids

    • Inspect the wiring for poor electrical connections at the VCM. Inspect the wiring for poor electrical connections at the transmission 20-way connector. Look for the following conditions:
       - A bent terminal
       - A backed out terminal
       - A damaged terminal
       - Poor terminal tension
       - A chafed wire
       - A broken wire inside the insulation
    • When diagnosing for an intermittent short or open condition, massage the wiring harness while watching the test equipment for a change.
    • Use the Temperature vs Resistance scale when testing the TFT sensor at various temperature levels. Test the TFT sensor in order to evaluate the possibility of a skewed (mis-scaled) sensor. A skewed sensor can result in delayed garage shifts or TCC complaints.
    • The scan tool displays the transmission fluid temperature in degrees. After the transmission is operating, the temperature should rise steadily to about 100°C (212°F), then stabilize.

Test Description

The numbers below refer to the step numbers on the diagnostic chart.

  1. This step verifies a problem in the TFT sensor circuit.

  2. This step simulates a TFT sensor DTC P0712. If the VCM recognizes low signal voltage (high temperature), the VCM and wiring are functioning normally.

  3. This step tests the TFT sensor and Automatic Transmission Wiring Harness Assembly.

DTC 0713 Transmission Fluid Temperature (TFT) Sensor Circuit -- High Input (Low Temperature Indicated)

Step

Action

Value(s)

Yes

No

1

Was the Powertrain On-Board Diagnostic (OBD) System Check performed?

--

Go to Step 2

Go to Powertrain On Board Diagnostic (OBD) System Check

2

Perform the transmission fluid checking procedure.

Refer to Transmission Fluid Check .

Did you perform the fluid checking procedure?

--

Go to Step 3

--

3

  1. Install the scan tool (tech 1) ®.
  2. With the engine OFF, turn the ignition switch to the RUN position.
  3. Important: Before clearing the DTCs, use the scan tool in order to record the Freeze Frame and Failure Records for reference. The Clear Info function will erase the data.

  4. Record the DTC Freeze Frame and Failure Records.

Does the scan tool display a TFT sensor signal voltage greater than the specified value?

4.92 volts

Go to Step 4

Go to Diagnostic Aids

4

  1. Turn the ignition OFF.
  2. Disconnect the transmission 20-way connector.
  3. Install the J 39775 Jumper Harness on the engine side of the 20-way connector .
  4. Install a fused jumper wire from terminal L to terminal M on the engine harness.
  5. With the engine OFF, turn the ignition switch to the RUN position.

Does the TFT sensor signal voltage drop to less than the specified value?

0.2 volts

Go to Step 5

Go to Step 9

5

  1. Turn the ignition OFF.
  2. Install the J 39775 Jumper Harness on the Connector End View side of the 20-way connector.
  3. Using the J 39200 DVOM and the J 35616-A Connector Test Adapter Kit, measure the resistance between terminal L and terminal M.

Is the resistance within specifications?

3088-3942Ohms at 20°C (68°F)

159-198Ohms at 100°C (212°F)

Go to Diagnostic Aids

Go to Step 6

6

  1. Remove the transmission oil pan.
  2. Refer to Transmission Oil Pan Removal, in On-Vehicle Service.

  3. Inspect the Automatic Transmission Wiring Harness Assembly for an open.
  4. Refer to Electrical Diagnosis, Section 8.

Did you find a problem?

--

Go to Step 12

Go to Step 7

7

  1. Disconnect the Automatic Transmission Wiring Harness Assembly at the TFT sensor.
  2. Measure the resistance of the TFT sensor.

Is the resistance within specifications?

3088-3942Ohms at 20°C (68°F)

159-198Ohms at 100°C (212°F)

Go to Diagnostic Aids

Go to Step 8

8

Replace the TFP Val. Position Sw.

Refer to Automatic Transmission Fluid Pressure Manual Valve Position Switch Replacement, in On-Vehicle Service.

Is the replacement complete?

--

Go to Step 12

--

9

Inspect circuit 1227 for an open or short to B+.

Refer to Electrical Diagnosis, Section 8.

Did you find a problem?

--

Go to Step 12

Go to Step 10

10

Inspect circuit 470 for an open.

Refer to Electrical Diagnosis, Section 8.

Did you find a problem?

--

Go to Step 12

Go to Step 11

11

Replace the VCM.

Refer to VCM Replacement/Programming , Section 6.

Is the replacement complete?

--

Go to Step 12

--

12

In order to verify your repair, perform the following procedure:

  1. Select DTC.
  2. Select Clear Info.
  3. Ensure that the following conditions are met:
  4. • With the engine OFF, the ignition switch is in the RUN position.
    • The scan tool indicates a TFT sensor signal voltage less than 4.92 volts for 400 seconds (6.7 minutes).
  5. Select Specific DTC. Enter DTC P0713.

Has the test run and passed?

--

System OK

Begin the diagnosis again. Go to Step 1