GM Service Manual Online
For 1990-2009 cars only
Makes
🢒
Chevrolet
🢒
2001
🢒
Blazer - 2WD
🢒
Driveline/Axle
🢒
Transfer Case - NVG 233-NP1 (Two Speed Selectable)
🢒 Transfer Case Control Schematics
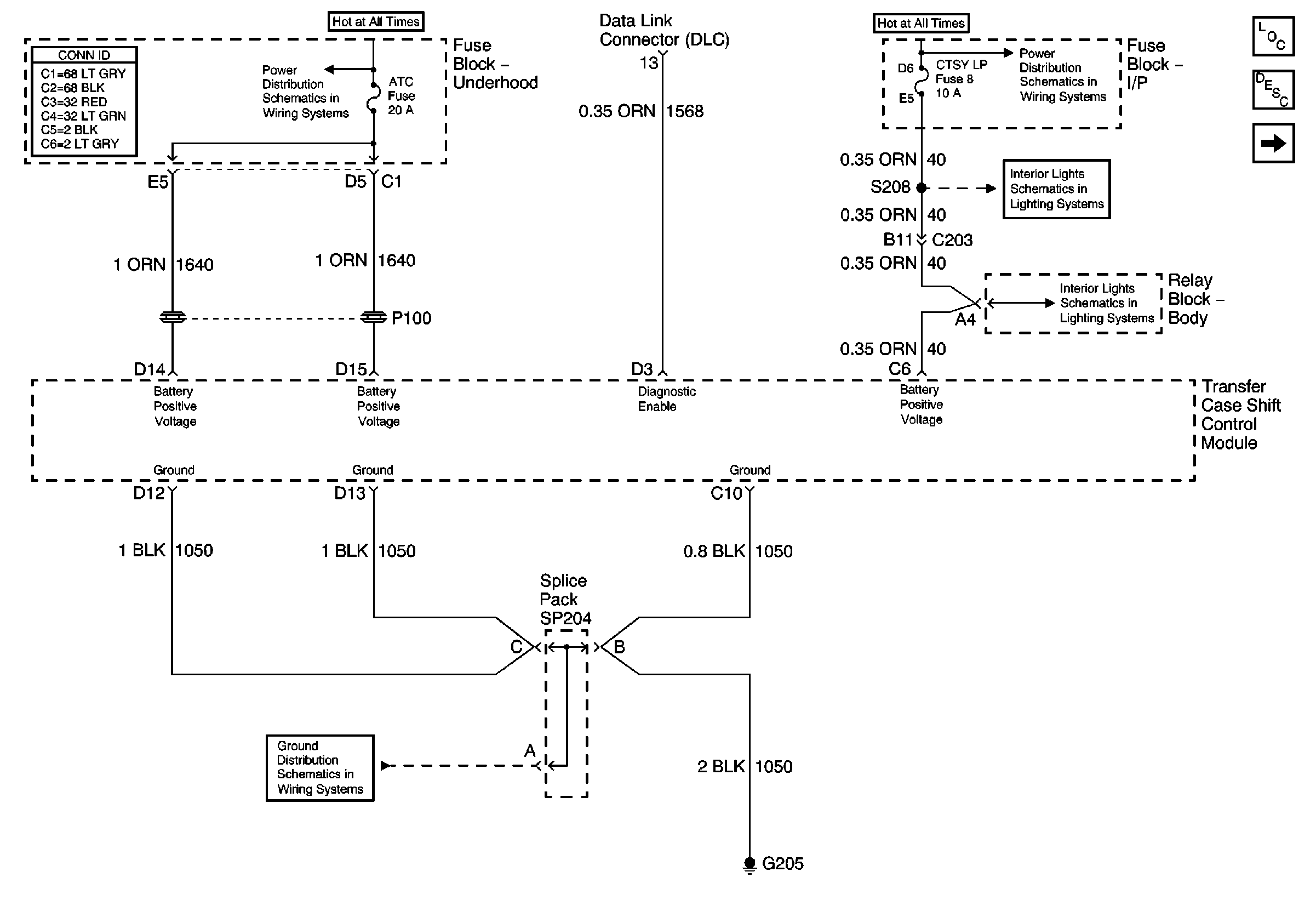
Figure
1:
Power and Ground
Master Electrical Component List
Transfer Case Description and Operation
Transfer Case Encoder Motor
B+ Bus Bar
INT BATT Fuse
CTSY LP Fuse and Courtesy Lamp Relay
CTSY LP Fuse and Courtesy Lamp Relay
G205 (Utility and Crew Cab)
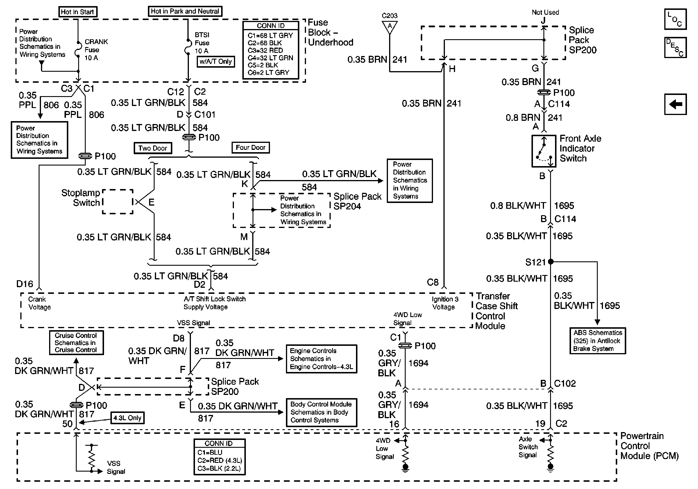
Figure
2:
Transfer Case Encoder Motor
Master Electrical Component List
Transfer Case Description and Operation
Transfer Case Shift Control Switch
Power and Ground
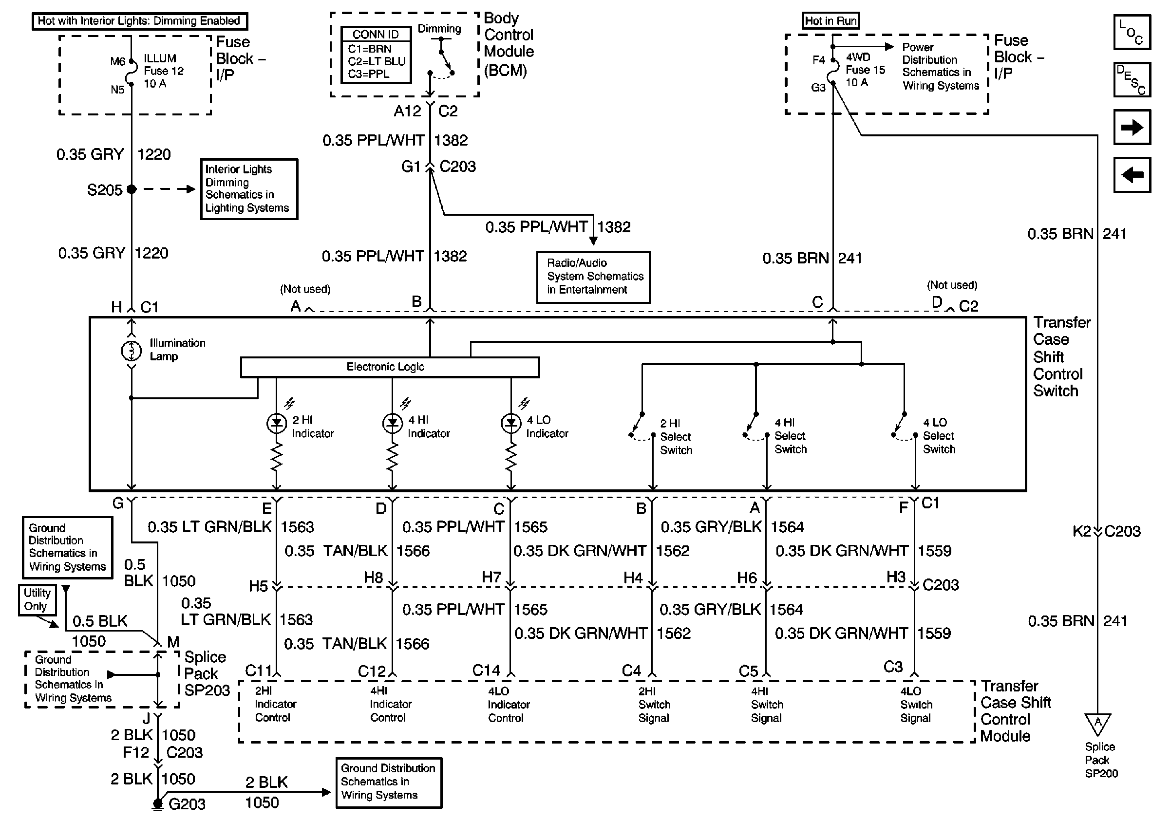
Figure
3:
Transfer Case Shift Control Switch
Master Electrical Component List
Transfer Case Description and Operation
Front Axle Indicator Switch and Powertrain Control Module (PCM)
Transfer Case Encoder Motor
ILLUM Fuse 12
BCM (Chevy/GMC)
Ign ACC, RUN and RAP Bus Bar
G203 and G204 (Utility w/ Manual A/C)
G203 and G204 (Utility w/ Manual A/C)
Front Axle Indicator Switch and Powertrain Control Module (PCM)
G203 and G204 (Pickup)
Figure
4:
Front Axle Indicator Switch and Powertrain Control Module (PCM)
Master Electrical Component List
Transfer Case Description and Operation
Transfer Case Shift Control Switch
CRANK and CLSTR Fuses
Transfer Case Shift Control Switch
CRANK and CLSTR Fuses
BTSI Fuse Power (Automatic Transmission)
BTSI Fuse Power (Automatic Transmission)
Clutch Pedal Position Switch, Stoplamp Switch, PCM and Cruise Control Module
Vehicle Speed Signal, Transfer Case Shift Control Module and 4WD IndicatOr Switch
Seat Belt Switch, Headlamp Ambient Light Sensor and PCM
Class 2 Communication