GM Service Manual Online
For 1990-2009 cars only
Makes
🢒
Chevrolet
🢒
2001
🢒
Blazer - 2WD
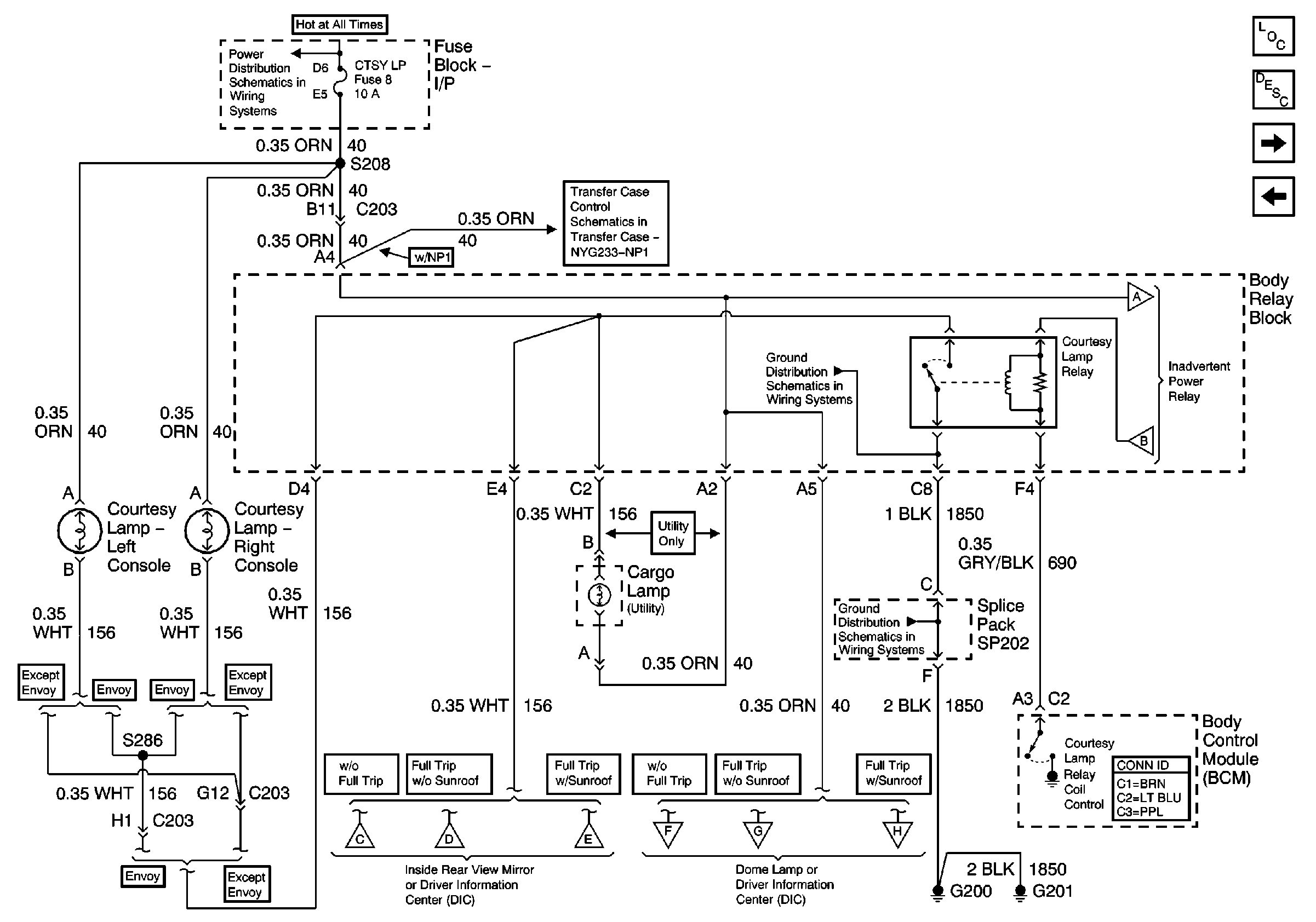
🢒 CTSY LP Fuse and Courtesy Lamp Relay
CTSY LP Fuse and Courtesy Lamp Relay
CTSY LP Fuse and Courtesy Lamp Relay
Master Electrical Component List
Interior Lighting Systems Description and Operation
Front Door Jamb and Door Handle Switches
Headlamp Switch
INT BATT Fuse
Power and Ground
G200, G201 and G207 (Pickup and Crew Cab)
Inadvertent Power Relay
G200, G201 and G207 (Pickup and Crew Cab)
Inside Rear View Mirror or Driver Information Center
Driver Information Center (Utility w/o Sunroof)
Driver Information Display Module (Utility w/ Sunroof)
Inside Rear View Mirror or Driver Information Center
Driver Information Center (Utility w/o Sunroof)
Driver Information Display Module (Utility w/ Sunroof)