GM Service Manual Online
For 1990-2009 cars only
Makes
🢒
Chevrolet
🢒
2001
🢒
Blazer - 2WD
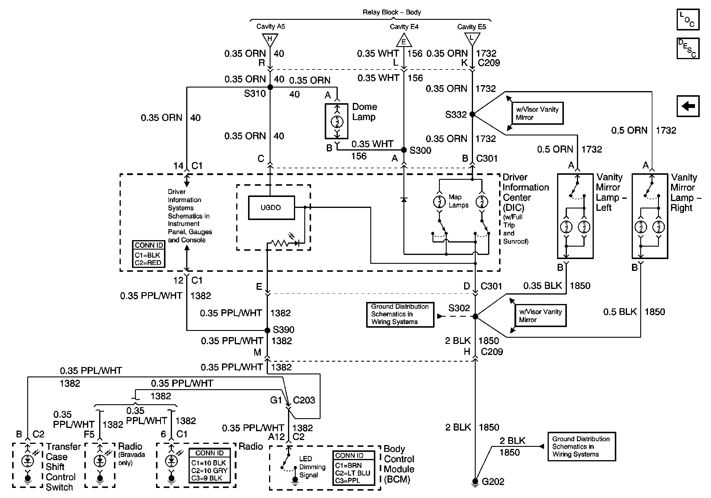
🢒 Driver Information Display Module (Utility w/ Sunroof)
Driver Information Display Module (Utility w/ Sunroof)
Driver Information Display Module (Utility w/ Sunroof)
Master Electrical Component List
Interior Lighting Systems Description and Operation
Driver Information Center (Utility w/o Sunroof)
CTSY LP Fuse and Courtesy Lamp Relay
CTSY LP Fuse and Courtesy Lamp Relay
Inadvertent Power Relay
w/o Trip Computer
G202 (Utility and Crew Cab)
G202 (Utility and Crew Cab)