GM Service Manual Online
For 1990-2009 cars only
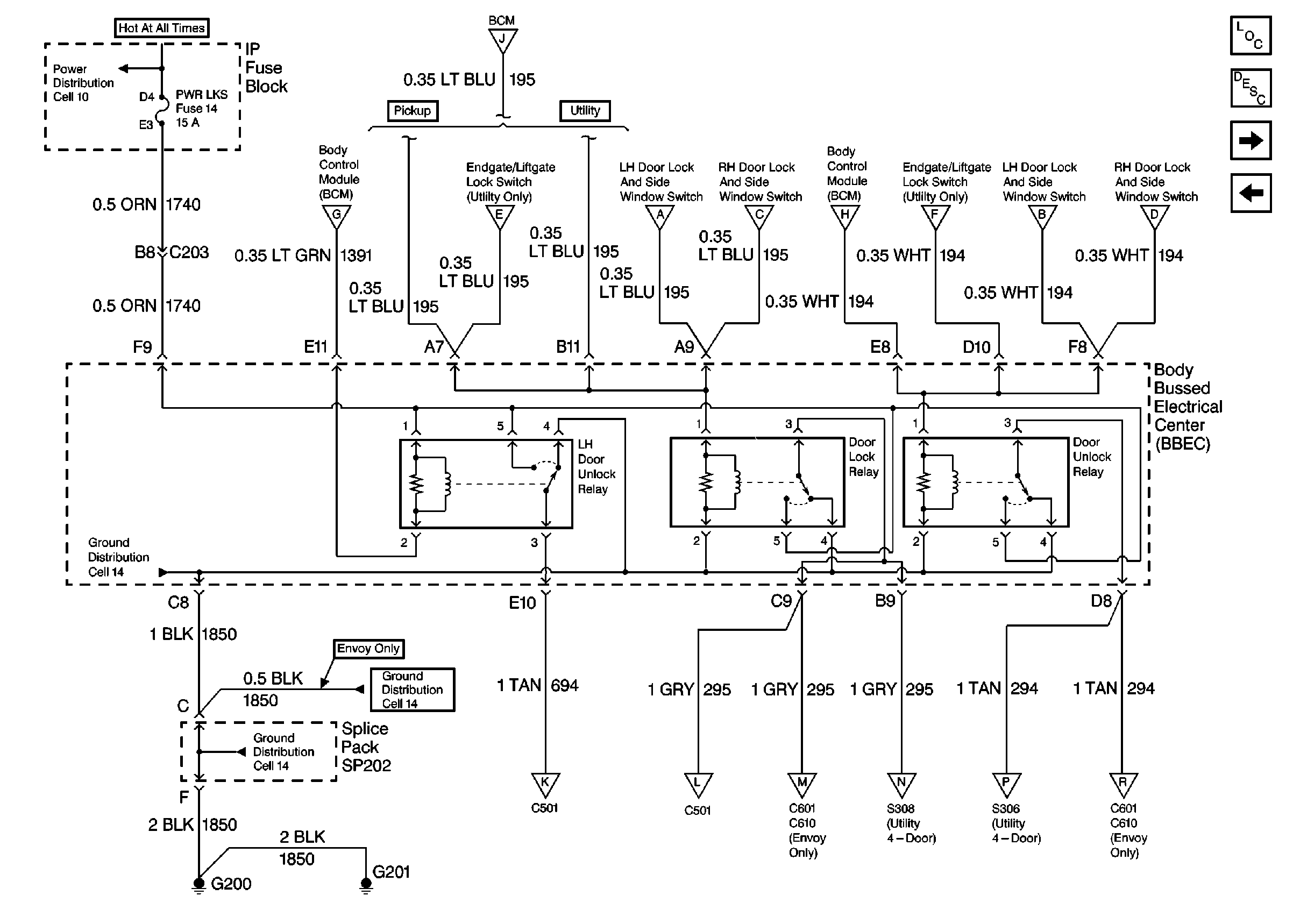
Figure 1:

Cell 130: Door Lock and Side Window Switch


Object Number: 355261  Size: FS
Power Door Locks Circuit Description
Cell 130: Endgate Lock Switch
Power Distribution Schematics
Release Systems Schematics
Outside Rearview Mirror Schematics
Cell 130: Endgate Lock Switch
Cell 130: IP Fuse Block
Cell 130: IP Fuse Block
Cell 130: IP Fuse Block
Cell 130: IP Fuse Block
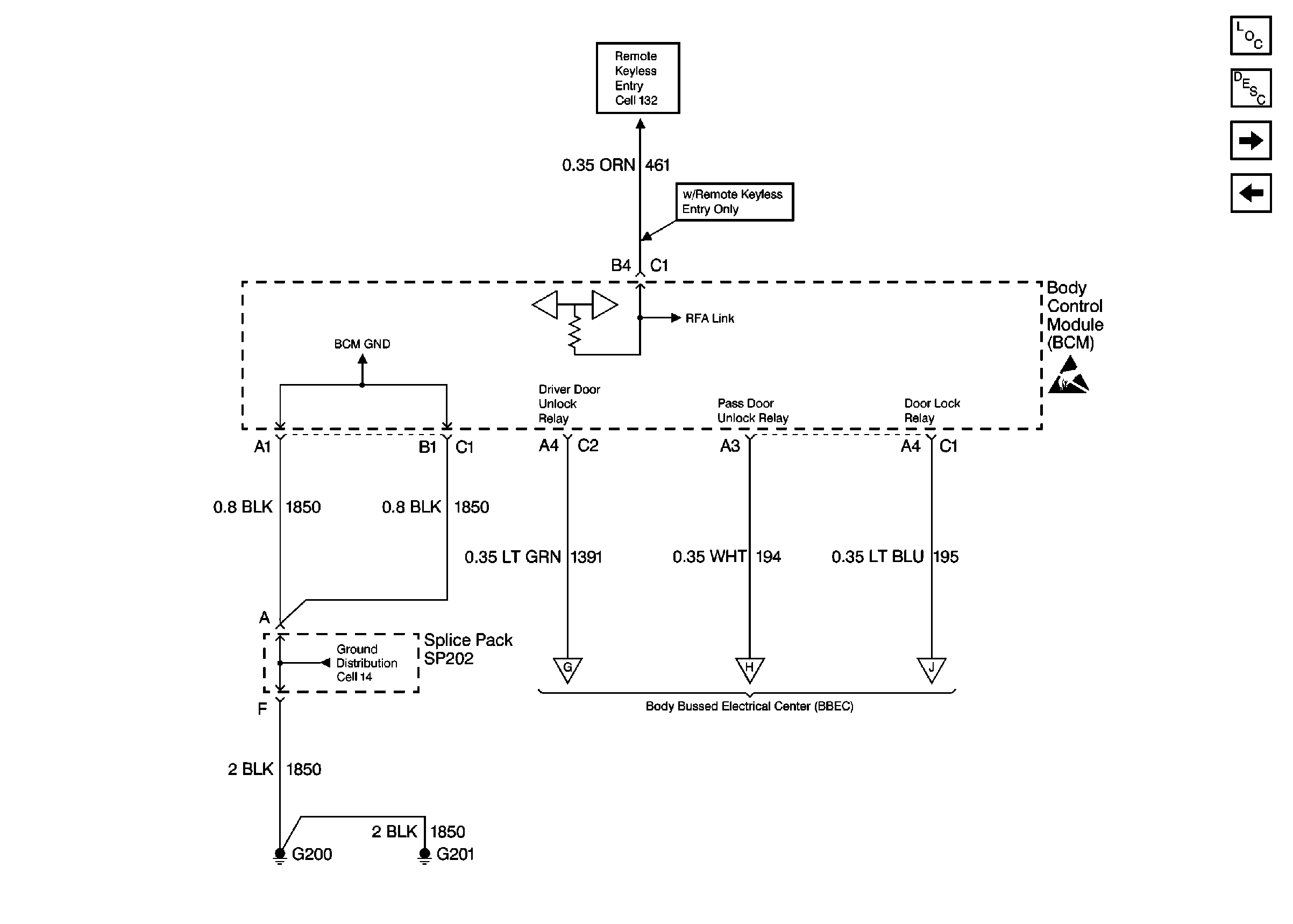
Figure 2:

Cell 130: Endgate Lock Switch


Object Number: 355264  Size: FS
Power Door Locks Circuit Description
Cell 130: BCM
Cell 130: Door Lock and Side Window Switch
Cell 130: Door Lock and Side Window Switch
Cell 130: IP Fuse Block
Cell 130: IP Fuse Block
Release Systems Schematics
Release Systems Schematics
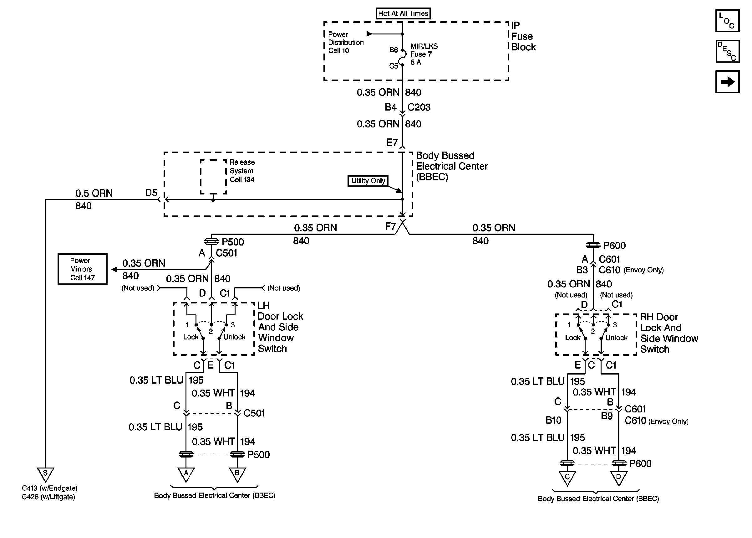
Figure 3:

Cell 130: BCM


Object Number: 355266  Size: FS
Power Door Locks Circuit Description
Cell 130: IP Fuse Block
Cell 130: Endgate Lock Switch
Keyless Entry Schematics
Ground Distribution Schematics
Handling ESD Sensitive Parts Notice
Cell 130: IP Fuse Block
Cell 130: IP Fuse Block
Cell 130: IP Fuse Block
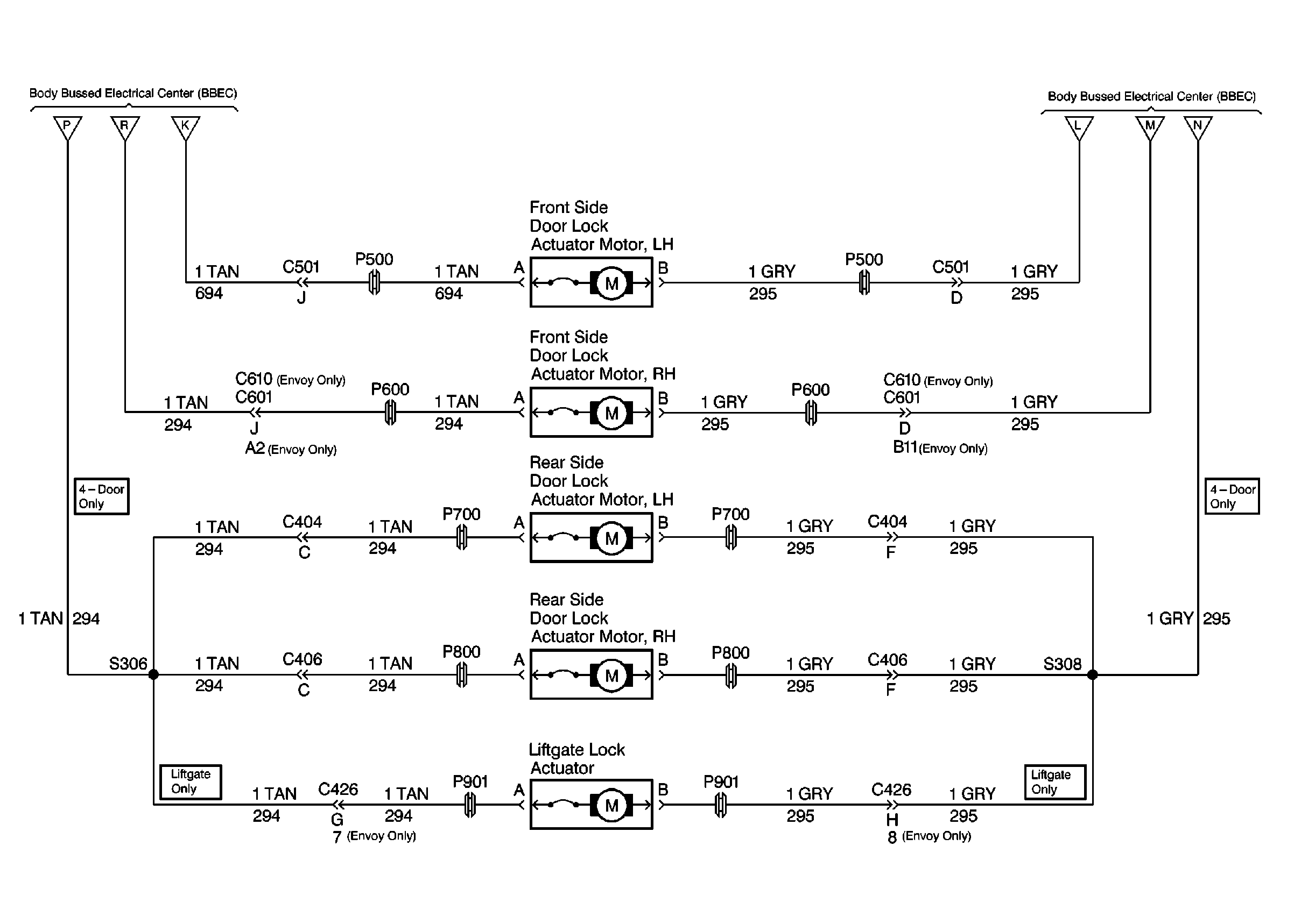
Figure 4:

Cell 130: IP Fuse Block


Object Number: 355269  Size: FS
Power Door Locks Circuit Description
Cell 130: Liftgate Lock Actuator
Cell 130: BCM
Cell 130: BCM
Cell 130: BCM
Cell 130: Endgate Lock Switch
Cell 130: Door Lock and Side Window Switch
Cell 130: Door Lock and Side Window Switch
Cell 130: BCM
Cell 130: Endgate Lock Switch
Cell 130: Door Lock and Side Window Switch
Cell 130: Door Lock and Side Window Switch
Cell 130: Liftgate Lock Actuator
Cell 130: Liftgate Lock Actuator
Cell 130: Liftgate Lock Actuator
Cell 130: Liftgate Lock Actuator
Cell 130: Liftgate Lock Actuator
Power Distribution Schematics
Ground Distribution Schematics
Ground Distribution Schematics
Ground Distribution Schematics
Figure 5:

Cell 130: Liftgate Lock Actuator


Object Number: 355271  Size: FS
Power Door Locks Circuit Description
Cell 130: IP Fuse Block
Cell 130: IP Fuse Block
Cell 130: IP Fuse Block
Cell 130: IP Fuse Block
Cell 130: IP Fuse Block
Cell 130: IP Fuse Block
Cell 130: IP Fuse Block