GM Service Manual Online
For 1990-2009 cars only
Makes
🢒
Chevrolet
🢒
2005
🢒
Blazer - 4WD
🢒
Vehicle Control Systems
🢒
Vehicle DTC Information
🢒 Radio/Audio System Schematics
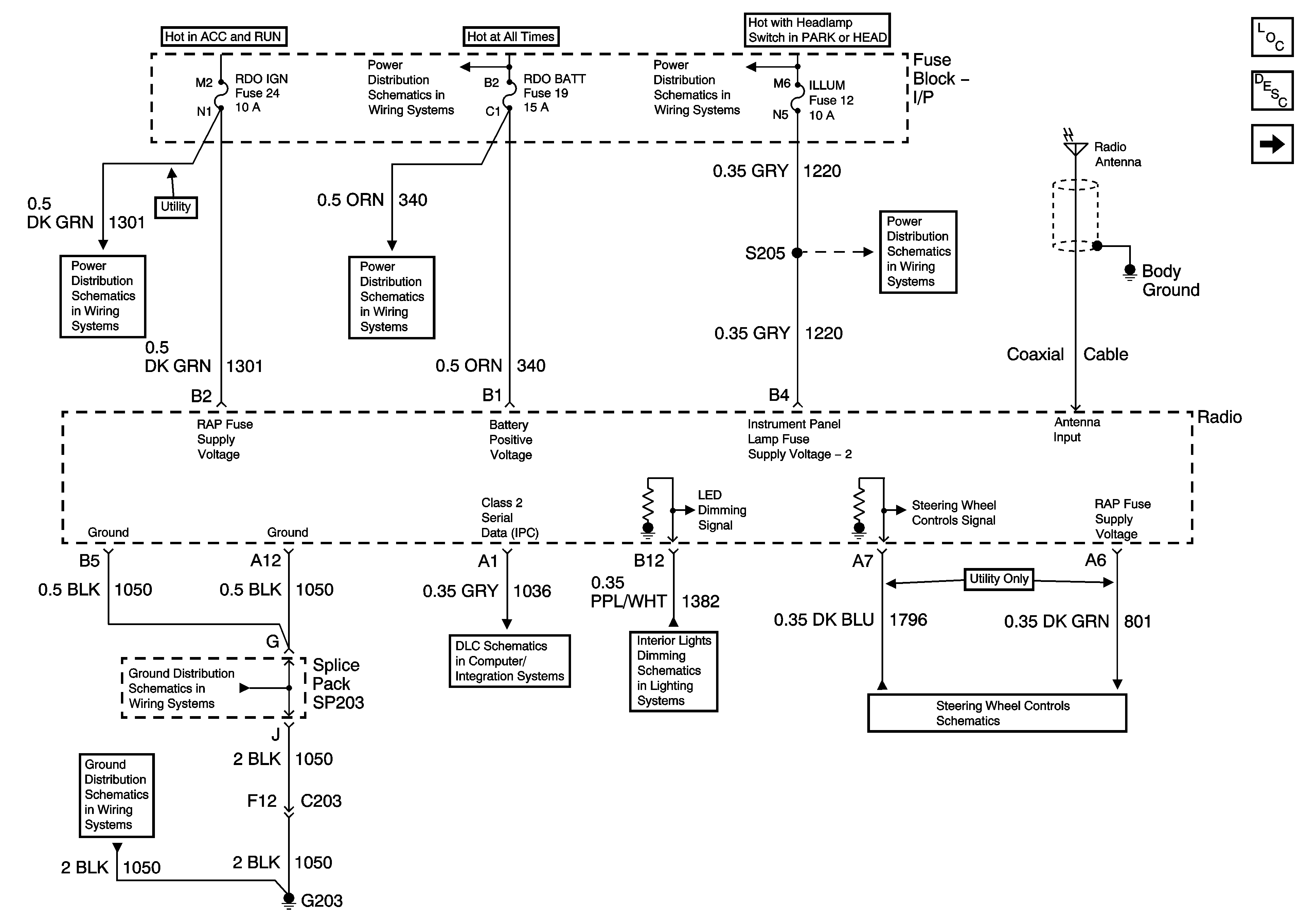
Figure
1:
Power, Ground, and Serial Data
Master Electrical Component List
Radio/Audio System Description and Operation w/ CTF
RDO IGN and STR WHL RDO IGN Fuses
B+ Bus Bar
ILLUM, STG WHL ILLUM, and PARK LP Fuses
AUX PWR, RDO BATT and HDLP SW Fuses
ILLUM Power - Pickup Except Crew Cab
ILLUM Power
04 S/T Steering Wheel System Schematics
LED Dimming Signal
04 S/T Classic DaClass 2 Serial Data
G203 and G204 - Utility w/Manual A/C
G203 and G204 - Utility w/Manual A/C
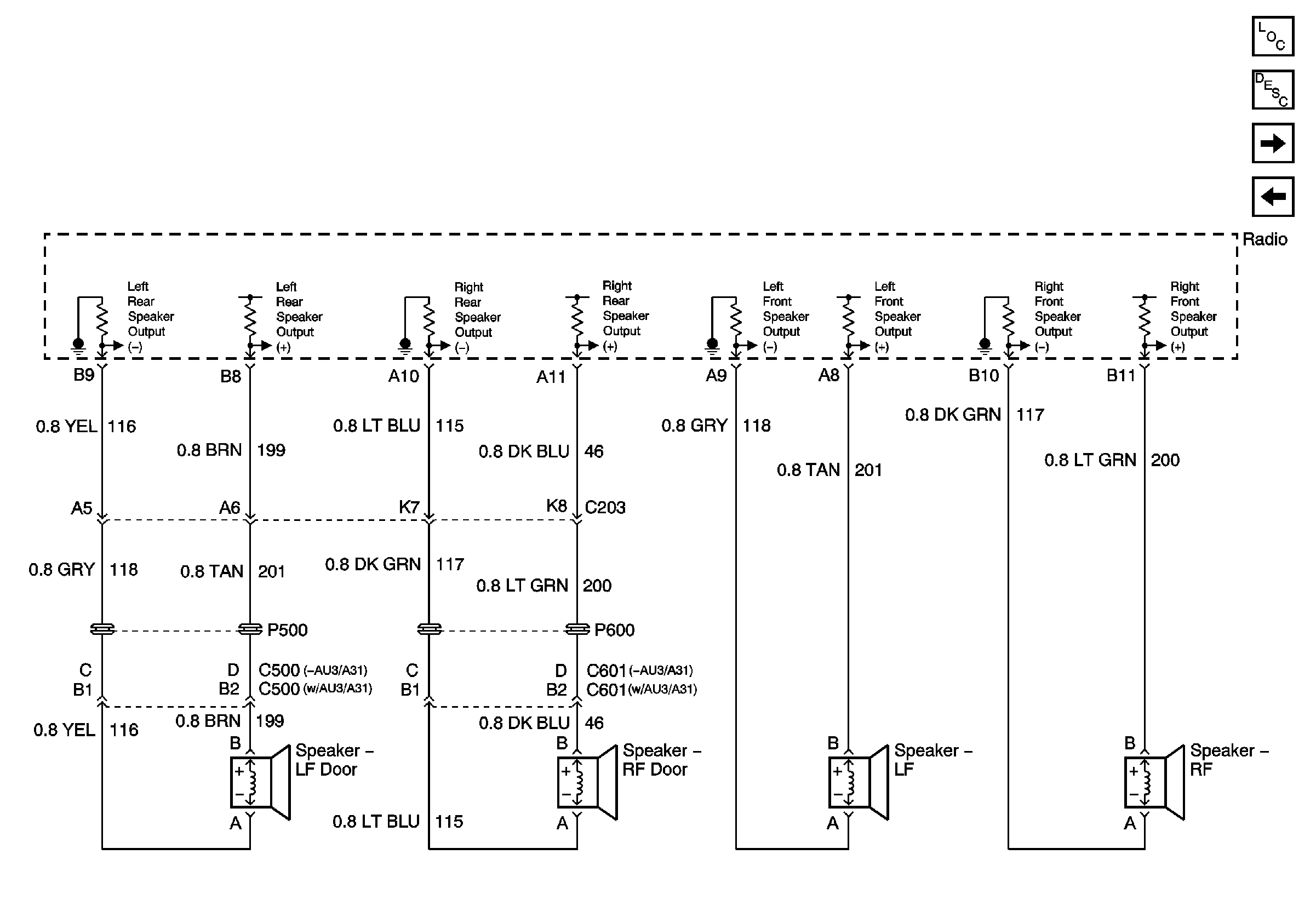
Figure
2:
Speakers - Pickup except CrewCab
Master Electrical Component List
Radio/Audio System Description and Operation w/ CTF
Speakers - CrewCab and Utility
Power, Ground, and Serial Data
Figure
3:
Speakers
Master Electrical Component List
Radio/Audio System Description and Operation w/ CTF
Entertainment Schematic Icons
Entertainment Schematic Icons