GM Service Manual Online
For 1990-2009 cars only
Makes
🢒
Chevrolet
🢒
2005
🢒
Blazer - 4WD
🢒 Relay Control
Relay Control
Relay Control
Master Electrical Component List
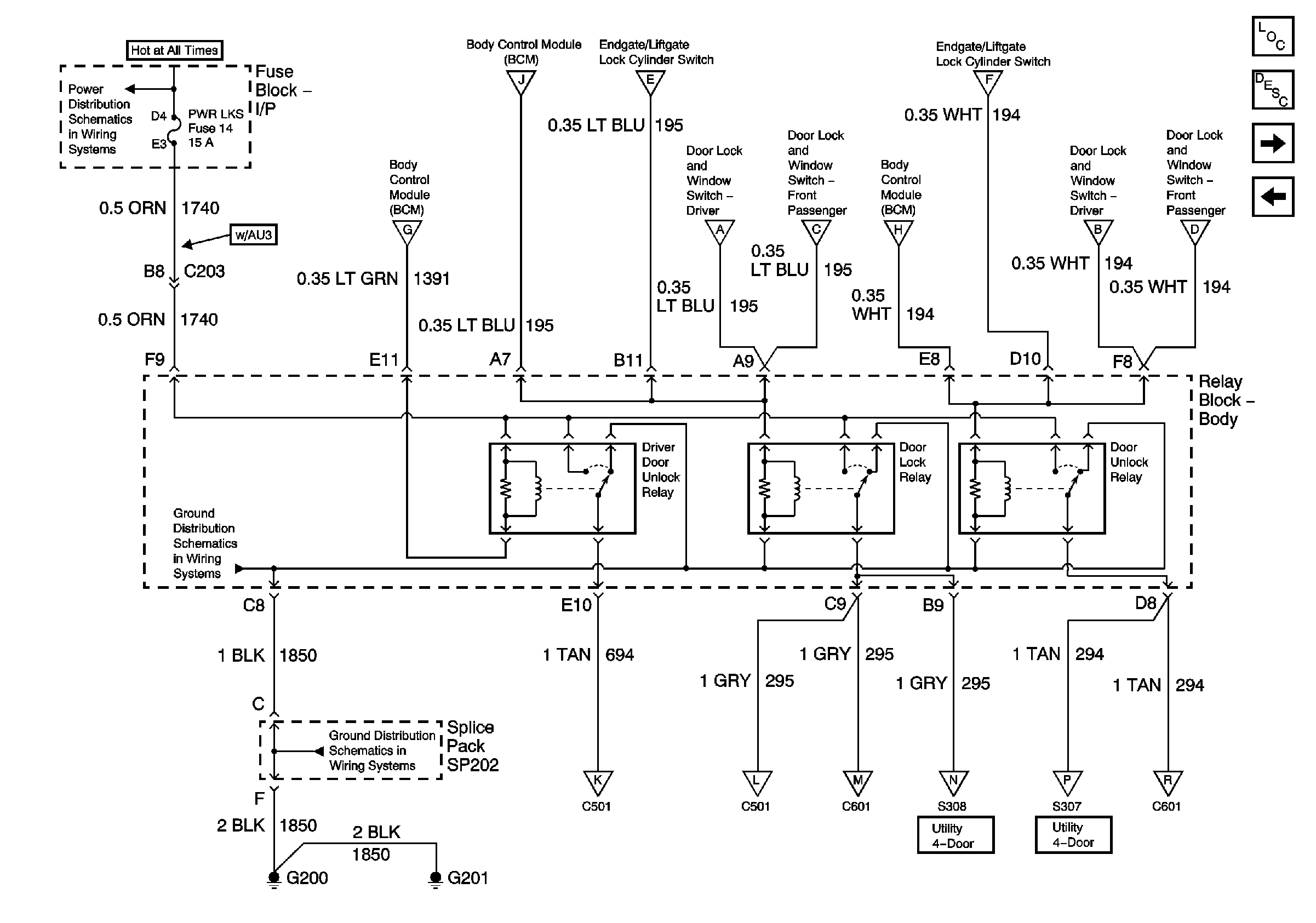
Power Door Locks Description and Operation
Door Lock Actuator
04 S/T ClBCM Inputs and Outputs
B+ Bus Bar
G200, G201,G207-Crew Cab
G200, G201,G207-Crew Cab
Door Lock Actuator
04 S/T ClBCM Inputs and Outputs
04 S/T ClBCM Inputs and Outputs
Endgate Lock Cylinder Switch Inputs - Utility
Door Lock Switch Inputs
04 S/T ClBCM Inputs and Outputs
Endgate Lock Cylinder Switch Inputs - Utility
Door Lock Switch Inputs