GM Service Manual Online
For 1990-2009 cars only

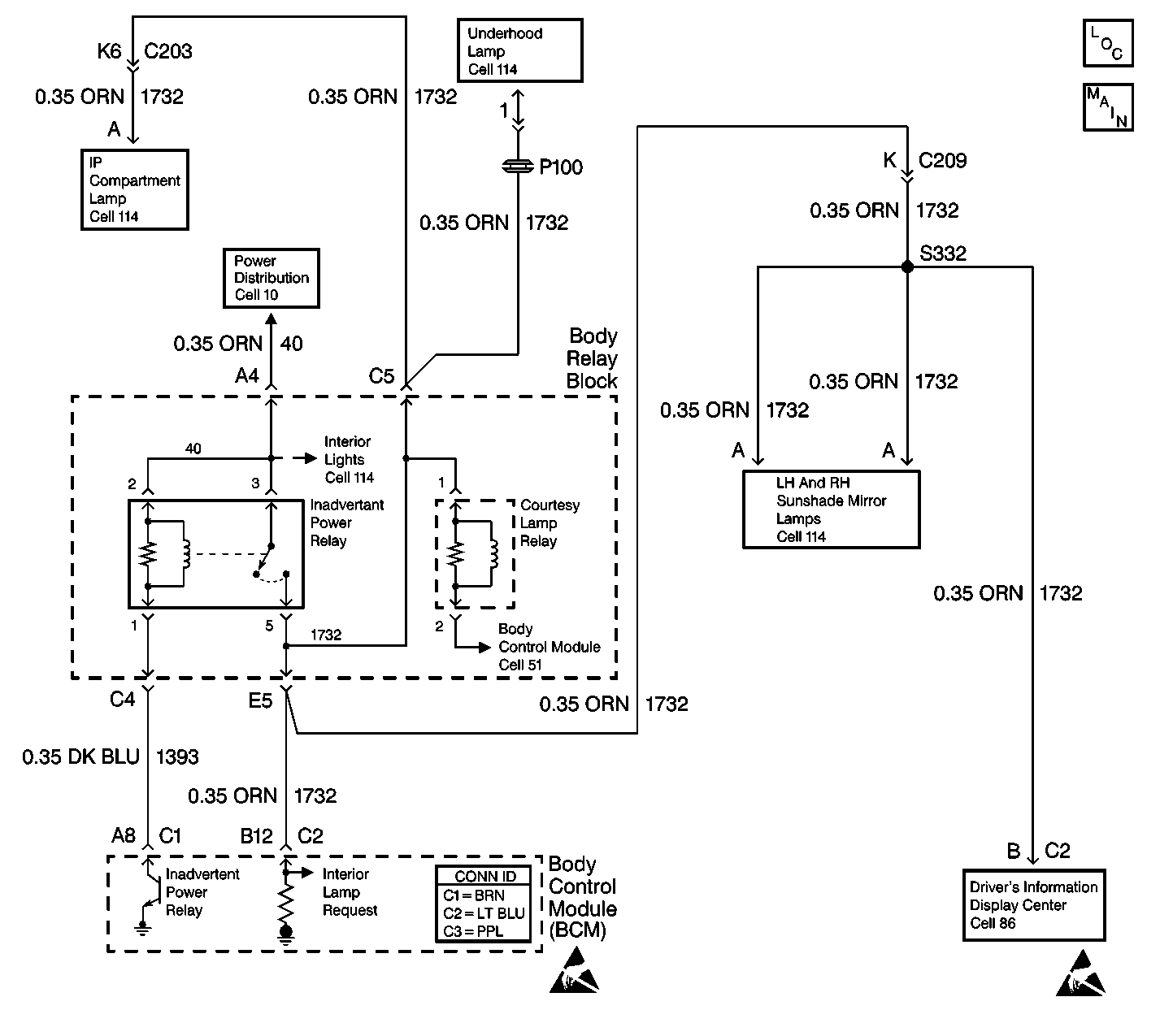
Object Number: 397089  Size: LF
Body Control Module Components
Body Control System Schematics

Circuit Description

The battery rundown protection function allows the BCM to disable the following items after the ignition switch has been turned OFF for 20 minutes:

    • The courtesy lamps
    • The cargo lamps
    • The underhood lamp

The BCM monitors the output of the inadvertent power relay on CKT 1732.

DTC B1480 will set when the following conditions exist:

    • The BCM turns the relay ON.
    • The BCM does not detect voltage on CKT 1732.

Conditions for Setting the DTC

    • DTC B1480 will set if the voltage on CKT 1732 is low when the BCM is commanding the relay control circuit to energize the inadvertent power relay.
    • The system voltage is between 9.0-16.0 volts.
    • The above conditions exist for 0.5 seconds.

Action Taken When the DTC Sets

The following lamps will be disabled:

    • The dome lamp
    • The glove box lamp
    • The reading lamps
    • The under hood lamp
    • The vanity lamps

Conditions for Clearing the MIL/DTC

    • DTC B1480 will clear immediately after the condition that sets the DTC is corrected.
    • A history DTC will clear after 100 consecutive ignition cycles without a fault present.
    • History and current DTCs may be cleared using a scan tool.

Diagnostic Aids

       Important: Use the appropriate probe from the J 35616 connector test adapter kit for any probing of the fuse blocks or relay blocks in this table. Use of the appropriate probe prevents damage to the fuse blocks or relay blocks.

    • Always diagnose the first DTC that is listed on the scan tool.
    • Verify that the scan tool displays DTC B1480 as a current code before you perform diagnostics.
    • Inspect for loose or poor connections at all of the related components.
    • Refer to Intermittents and Poor Connections Diagnosis in Wiring Systems.

Test Description

The numbers below refer to the step numbers on the diagnostic table.

  1. This step tests the CTSY LP fuse.

  2. This step determines if one of the following conditions exists:

  3. • A short to ground on CKT 40 or CKT 1732
    • An open circuit in the underhood fuse block
  4. This step determines if the BCM is able to control the inadvertent power relay.

  5. This step determines if one of the following conditions exists:

  6. • CKT 1732 is open.
    • The BCM is unable to monitor voltage on CKT 1732.
  7. This step determines if CKT 40 is open.

  8. This step determines if CKT 1393 is open between the inadvertent power relay and the BCM.

  9. This step determines if CKT 1732 is open between the inadvertent power relay and the BCM.

Step

Action

Value(s)

Yes

No

1

Did you perform the BCM Diagnostic System Check?

--

Go to Step 2

Go to Diagnostic System Check - Body Control System

2

Use a test lamp in order to test both sides of the CTSY fuse to ground.

Does the test lamp light on both sides of the fuse?

--

Go to Step 6

Go to Step 5

3

Does the test lamp light on one side of the fuse?

--

Go to Step 4

Go to Step 5

4

  1. Locate and repair the short to ground in CKT 40 or CKT 1732.
  2. Replace the fuse.

Is the repair complete?

--

Go to Step 15

--

5

Replace the underhood fuse block.

Is the repair complete?

--

Go to Step 15

--

6

  1. Turn the ignition switch to the RUN position.
  2. Use a scan tool in order to monitor the current DTCs.
  3. Use a fused jumper in order to backprobe CKT 1393 (DK BLU) cavity A8 for the BCM connector (BRN) to ground.

Does the scan tool display DTC B1480?

--

Go to Step 7

Go to Step 15

7

  1. Disconnect BCM connector C2 (LT BLU). Remove the comb from the connector.
  2. Connect the appropriate probe from the J 35616 .
  3. With the fused jumper still connected, use a J 39200 digital multimeter (DMM) in order to backprobe between CKT 1732 (ORN) cavity B12 and ground.

Does the J 39200 DMM display battery voltage?

--

Go to Step 15

Go to Step 8

8

  1. Remove the fused jumper wire.
  2. Remove the inadvertent power relay from the body relay block.
  3. Connect the appropriate probe from the J 35616 .
  4. Use a J 39200 DMM in order to backprobe between the inadvertent power relay cavity 2 and cavity 3 and ground.

Does the J 39200 DMM display battery voltage at both of the cavities?

--

Go to Step 9

Go to Step 13

9

  1. Connect the appropriate probe from the J 35616 .
  2. Use a J 39200 DMM in order to backprobe between the inadvertent power relay CKT 1732 cavity 5 and the BCM cavity B12 connector C2 (LT BLU).

Is the resistance within the specified range?

0-5 ohms

Go to Step 10

Go to Step 12

10

  1. Disconnect the BCM connector C1 (BRN). Remove the comb from the connector.
  2. Connect the appropriate probe from the J 35616 .
  3. Use a J 39200 DMM in order to measure the resistance between the inadvertent power relay CKT 1393 cavity 1 and the BCM cavity A8 connector C1 (BRN).

Is the resistance within the specified range?

0-5 ohms

Go to Step 14

Go to Step 11

11

Locate and repair the open in CKT 1393 (DK BLU) between the BCM and the body relay block.

Is the repair complete?

--

Go to Step 16

--

12

Locate and repair the open in CKT 1732 (ORN) between the BCM and the body relay block.

Is the repair complete?

--

Go to Step 16

--

13

Locate and repair the open in CKT 40 (ORN) between the inadvertent power relay and the underhood fuse block.

Is the repair complete?

--

Go to Step 16

--

14

Replace the inadvertent power relay.

Is the repair complete?

--

Go to Step 16

--

15

  1. Replace the BCM.
  2. Program the correct calibrations into the BCM.
  3. Perform the learn procedure.

Is the repair complete?

--

Go to Step 16

--

16

Clear the DTCs.

Is the repair complete?

--

Go to Diagnostic System Check - Body Control System

--